在检修干电收音机的工作中,经常碰到电子管烧毁和烧老的故障,推究原因,不外是:1.甲乙电池接错,电子管全部烧毁;2.因甲电电压过低,收音机不响,随便串联一节旧甲电池来提高甲电电压,结果响是响了,但因串联后甲电电压较高,仅仅几十分钟,把全部电子管烧老了。由于这两种故障,使一部很好的收音机不能继续使用,是很可惜的。
针对上面情况,作者试制了一种适用于干电5灯收音机(灯丝电压1.5伏,灯丝总电流0.3安)的保护装置(见标题插图),经过20多天的实际试用,证明在甲乙电池接错、甲-乙-碰线或甲电电压超过额定丝压到9伏时,对收音机都能起保护作用。
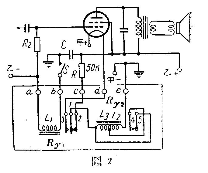
工作原理
防止烧毁电子管:一般干电5灯机的乙-回路里,都串联有1只约200—400欧(根据收音机所用电子管程式和数量而定)的代丙电阻;乙+和地间并联1只8—30微法的傍路电容器。当收音机开启时,这只电容器恰好和代丙电阻串联到乙电池上(图1),现在把代丙电阻拆去,改接l只直流电阻等于代丙电阻的继电器R\(_{y1}\),Ry1的接点作为灯丝回路的开关,把原来的灯丝开关S改接到乙-回路里,作为收音机的开关(图2)。当S闭合时、电容器C被乙电池充电,充电电流经过R\(_{y1}\)的线圈L1时,铁心磁化,接点1被吸和3接触,把灯丝回路接通。在电容器C的充电电流还没有停止,来得及把接点1释放以前,灯丝已发射足够的电子,使全机产生的乙电电流在流过L\(_{1}\)时,能够接替充电电流把Ry1的接点1继续吸住,因此灯丝永远接通。关机时只要把S断开,乙电路不通,R\(_{y1}\)才把接点1释放,弹回原处和接点2接触,使电容器经R1放电,以便第二次开机。


在这种情形下,如甲乙电池接错,即用1.5伏甲电电压来使C充电,因电压低,充电电流小,接点1不动,灯丝回路不通,所以即使灯丝回路误接了乙电,也不致把电子管烧毁。
防止烧老电子管:这个办法,也是利用继电器来完成。在灯丝回路内串联1只有抽头的继电器R\(_{y2}\), 抽头线圈L2只有0.15欧,L\(_{3}\)25欧。在正常情形下,Ry2不工作,L\(_{3}\)被Ry2的接点4、5短路,甲电经L\(_{2}\)接通灯丝。L2两端降压极微,对收音机工作并无影响。如接用的甲电是两节旧电池,假定电压是2.6伏,已超过额定电压1.1伏,通过L\(_{2}\)的电流就相应增加,Ry2工作,把接点4、5拉开,L\(_{3}\)就串联到灯丝回路里作为降压电阻。同时,因Ry2线圈增加,所以仍旧能吸住接点4不和5接触。这样就会把甲电电压降低到额定值。
实际制作
材料 电磁铁:1.2公厘厚铁片A 2块,另薄铁皮B 2块,尺寸同A;接点簧片:薄磷铜皮C 2条(可利用已损坏了电位器里的铜环剪成);衔铁:小型输出变压器里硅钢片D 2块;0.5公厘厚铜弯脚:E 2只,F 2只,G 3只,H 2只;青壳纸J 4小块。这些零件的尺寸和零件上应该钻洞或攻螺丝牙的大小和位置见图3。另外再备漆包线若干,3—6公厘长,直径2.4公厘的螺丝22只,螺帽16只,35×100×4公厘厚的胶木板K 1块,5线接线架M 1块,2公厘粗铜银合金丝(铜20%,银80%,可以委托银饰店代制)、接线和牛皮纸等少许。

制作 把A和B按图3中虚线拆成凵形,再把A和B合拢成工字形,两端各套1块J,制成继电器的铁心(图4)。用20公厘长,直径2.4公厘的螺丝1只,顶部锯掉,夹在手摇钻上,露出约6公厘,旋上1只螺帽,把铁心也旋在这只螺丝上,调整螺帽,使螺丝不过份顶紧青壳纸,再把螺帽向铁心一边旋紧,就把铁心固定在手摇钻上了(图5)。然后把手摇钻夹在台式老虎钳上,在铁心上包几层牛皮纸,开始绕线。R\(_{y1}\)的线圈L1,用0.127公厘直径的漆包线绕,圈数多少,视需要的阻值而定(等于收音机里的代丙电阻)。R\(_{y2}\)的线圈L2用0.57公厘直径的漆包线绕2公尺,绕完为止,阻值约0.15欧。L\(_{2}\)外面改用0.16公厘直径的漆包线绕L3,绕足150欧(原因详后)。把D用铝铆钉铆紧在C片的2、3两孔中,C的小孔1中铆上一小粒铜银合金接点,接点表面锉平磨光后,弯成图6甲形状。用螺丝穿入小孔5旋紧在弯脚E的小孔1里。C上的小孔4恰好对准E的螺孔2,也用螺丝旋牢,这只螺丝作为调整C片弹力大小之用。取6公厘长螺钉3只,在尾端各焊小粒铜银合金后锉圆磨光,套一螺帽后,分别旋在G的螺孔里(图6乙),这几只螺丝和C上的铜银接点组成了R\(_{y1}\)和Ry2的接点1—5。铁心A两边的螺孔,用螺丝装牢在E的小孔3和F的小孔1里,接线架装在H上,最后再把这些弯脚用螺丝装到胶木板上,把线头焊接到接线架上,整个保护装置就算装毕(图7)。如果再做一个罩子,可以避免灰尘,使接点经常能保持清洁,那就更好。

试用经过
在装置时,要注意接点螺丝弯脚G的高度要和C片上接点的高度相当,使C吸动时,两接点恰好接触。两接点间的距离,可以旋紧或旋松接点螺丝,调整好后,再把接点螺丝上的螺帽向弯脚旋紧,把螺丝固定,不致松动。
开始在1架6灯干电收音机上试用,电子管为1R5—2,1T4—1,1S5—1,3S4—2。试了几天,又用5灯机,电子管少了1只3S4。乙电电压50—105伏,电流15—25毫安,由整流器供给,50伏电压从整流器上的分压器上取得,收音机未开前,虚电压为70伏。后来改用100伏蓄电池,试用良好。但在用50伏蓄电池时,电容器充电时间太短促,还等不及电子管灯丝发射足够电子来代替充电电流继续吸住R\(_{y1}\)的接点1时,就把接点1释放,灯丝回路断开,收音机不能工作。因此在原有的电容器C(原来是40和30微法各1只)上又并联了1只30微法的电容器,问题得到解决。L2的电压降在6灯时约0.08伏,5灯时约0.05伏,对收音机无影响。
在试用的20多天中,曾故意把甲乙电池接错,提高甲电电压直到9伏(当时L\(_{2}\)为25欧),并在甲电电压8伏时,故意像蜂鸣器一样抖动Ry1的接点,灯丝都未被烧毁或烧老,起到了保护电子管的作用。
后来发现,如果把甲电误接到乙-和甲-间,乙电的乙+误接到甲+,乙-误接到乙+,S闭合后,R\(_{y1}\)仍能把接点1和3接通,这时,等于把灯丝和电容器C串联在乙电池上,仍能把灯丝烧毁。因此,把原来的25欧线圈L2改绕成150欧,才防止了这个缺点。
试用时也碰到阴雨和晴朗的天气,继电器曝露在外,未加罩子,在这种情况下,使接点启闭前后约500多次,都极正常。(芜湖广播修理站 孙正文)


