普通电子管是指用在长波、中波和短波三个波段的电子管(包括音频放大器所用的电子管),这种电子管是我们最常见到的,比如在收音机上常见到的6K7,6Q7,6L6等等,在发射机上常见到的833A,803,807等等。
在超高频机器上常用一些形状很怪的电子管如灯塔管,橡实管,空腔谐振器等等。有些同志会问,为什么普通电子管不能用在超高频机器上呢?
其实超高频机器上也要用一些普通电子管,只是在频率很高的部分才采用特制的电子管,这是因为普通电子管在频率很高时便要失效。失效的原因可以由下列三方面来谈。
一、普通电子管的引线电感和极间电容太大



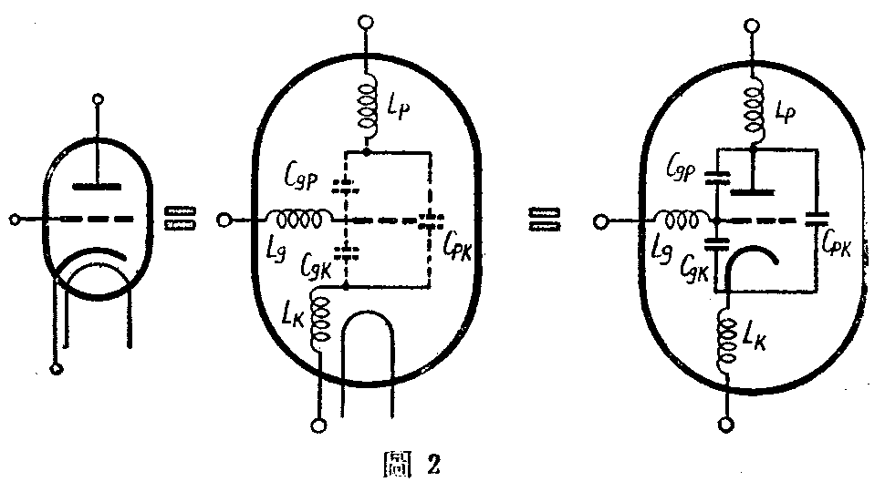
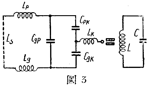
每个可以产生振荡或具有放大作用的电子管上都要有屏极、栅极和阴极,并且有个不小的玻璃壳或铁壳罩着它们。电子管的各极都要用线引出壳外,以便接线(图1)。每两个极中间有一些电容,每根引出线上有些电感,这些电容和电感在频率不很高的时候,影响不大,而频率超过某一限度,比如超过100兆周,便要起严重的不良影响,用图1所示的三极电子管为例,它的等效电路如图2,图中L\(_{P}\)、Lg、L\(_{k}\)分别是屏极、栅极、阴极引线电感;Cgp、C\(_{gk}\)、Cpk分别是屏栅间、栅阴间及屏阴间的电容。假设把屏极和栅极短路,就得到图3的等效电路。图3中的L等于L\(_{P}\)、Lg及短路线电感L\(_{s}\)的总和,C等于Cpk和C\(_{gk}\)串联后再与Cgp并联的总的电容。可以看出若L=0.4微亨,C=10微微法(在一般的三极电子管上,L和C的数值可能比这还大),那末根据谐振频率的计算公式可以算出,当这只电子管的屏路里和栅路里什么都不接,它的固有谐振频率就会是:
f=\(\frac{1}{2π}\)\(\sqrt{LC}\)=1;2π0.4×10\(^{-}\)610×10×10-12
≈80×10\(^{6}\)周=80兆周。

换句话说,若这只电子管作为振荡器时,所能产生的最高频率不能达到80兆周,因为在实际的振荡器上,比如在调栅调屏振荡器上(图4),在电子管的外部还要加入其他元件,这样势必使L和C的数值加大,因而谐振频率比80兆周低。
在超高频机器上,使用的频率一般远在80兆周甚至800兆周以上。很显然,用变通电子管既然不能做成更高频率的振荡器,自然也就产生不了超高频。
在上面的分析里还没有谈到L\(_{k}\)的影响,我们知道,在一个电子管电路上,屏流是通过阴极引线的,在超高频情况下,阴极引线电感Lk上会产生一个相当大的电压,而且这电压会随频率的不同和屏流的大小而改变,阴极电压的增高等于减低了栅极电压,因此使电子管的工作点发生改变。也就是L\(_{k}\)的存在会产生很大的回授作用。
从图2上还可以看出,L\(_{g}\)、Lk和C\(_{gk}\)是串联的,在某一频率下会产生串联谐振或接近串联谐振,因而使输入阻抗减低。
以上这些简单分析完全是从电子管的构造形状,对频率产生不利影响着眼的,这仅是普通电子管不适于超高频工作的一个方面。
二、电子惯性的影响
我们知道,在电子管中,阴极是发射电子的源泉,阴极所发射的电子跑到屏极上就构成屏流。电子跑到屏极去的数量受栅极电压的影响很大,栅极在阴极与屏极之间,电子由阴极通过栅极再到屏极,当中有一段路程,因而也就有一段时间,在普通电子管里,电子由阴极跑到屏极所需的时间大约是10\(^{-}\)9秒,也就是10万万分之一秒。这时间看起来是很短了,但不要忘记,超高频的频率很高,每一周所用的时间也很短,比如我们所用的频率是1000兆周,那末一周的时间就恰好也是\(\frac{1}{1000×10}\)6=1;10\(^{9}\)=10-9秒。
电子由阴极向屏极跑,要受栅极电压的影响,栅压是正值的时候,多数电子便跑向屏极,是负值的时候便只有少数电子跑向屏极,若栅压的负值超过截止值,便没有电子跑到屏极去。
现在让我们看看在1000兆周时,每一周中电子活动的情况是怎么样的。
假设栅极所加的交流信号电压是个正弦波(图5),在信号电压的正半周时(即由0→1→2),由阴极射出来的电子流受栅压的影响,先是越来越多的由阴极向屏极跑,等到正半周的后半周(由1→2),跑的数量就渐渐减少,到负半周时就更要减少。由于栅极距阴极近,距屏极远,在正半周完了转成负半周这个时间,有一部分电子已经跑过栅极而落在屏极与栅极中间,另一部分电子便落在栅极和阴极中间。栅极信号电压转到负半周以后,那些处在栅极和屏极之间的电子一面受屏极正电压的吸引,一面受栅极负电压的排斥便加速向屏极跑,那些处在栅极和阴极之间的电子,受到栅极负电压的排斥有些便返回向阴极跑。

本来跑到屏极的电子数目应和栅极电压成正比,信号才不致失真。现在由于频率很高,电子不能全部到达屏极,而有一部分跑回去,因此屏极电流的变化就不可能与栅极电压的变化完全一致,于是电子管就失去正常的放大作用。
此外,跑到屏极上的电子,因为是加速地跑上去的,就会在屏极上产生大量热量,使屏消耗增大。那些跑回阴极的电子,与阴极发生碰撞,也会使阴极产生过多的热量,使阴极过早的失效。
上面我们是用1000兆周的频率说明的,假如频率比1000兆周还要高,比如是4000兆周,那末,在信号的第一个正半周时,由阴极出来的电子,虽然想向屏极跑,但还没有到达栅极的地方,信号的负半周就来了,电子受栅极负电压的影响,不但不继续向屏极跑,反而会跑回阴极,因此屏极上就有可能永远接收不到电子,屏流就可能永远等于零,电子管就会完全推动放大作用。
也许会问,为什么在较低频率时,电子的惯性问题不存在?不是加在栅极的信号电压也是有正有负么?

其实这很容易理解,在频率低时,比如在10兆周时,信号电压每周的时间是\(\frac{1}{10×10}\)\(^{6}\)=1;107=10\(^{-}\)7秒,也就是比电子由阴极跑到屏极所需要的时间(10-9秒)大10\(^{-7}\)/10-9=10\(^{9}\)/107=100倍(图6)。我们知道,电子从阴极到屏极是受屏极电压和栅极电压联合作用的,在1/100周的时间内,栅极电压虽有改变,但改变得极少,这一点点改变的影响是完全可以忽略不计的,因此那些受屏栅极联合作用下离开阴极而奔向屏极的电子,可以全部到达屏极,于是屏极电流就可以与栅极所加信号电压一致。
三、普通电子管的能量损失太大
我们知道,导线上通有交流电流时,电流密度在导线的截面上并不是均匀地分布。而是越近导线表面,电流密度越大,这叫集肤现象,频率越高这现象越显著。高频导线往往用铜管而不用实心线,就是因为频率极高时,导线中心便完全没有电流。
由于有集肤现象存在,电流完全集中在表面,所以使导线电阻变大,能量损失也就增高。
另外在电子管的玻璃罩或管腰上要产生一些介质损耗,介质损耗也跟着频率的增高而急剧增大。
因此那些设计使用在较低频率的普通电子管,由于管上有个由绝缘材料制成的管腰,而且大部分电极上的连线要穿过管腰连到管脚上,引线太长,使用在超高频范围时,玻璃和管腰上的介质损耗和引线上的电阻损耗都会使它的使用效率低到不能使用。
四、超高频电子管
为了减低极间电容和导线电感和电子由阴极到屏极的过渡时间,就要使各极的面积减小,引出线短,并使屏、栅、阴各极间的距离缩小,橡实管(图7),灯塔管(图8),就是这样制造出来的。

但是把电子管的体积缩小,只能得到很小的输出功率,因此就要离开普通电子管所用的原理而另想办法,图9便是新制造设计的管子的一种叫磁控管。(羽)

