上次,我们把加到检波级的中频电压规定为0.5伏,同时说明了这是避免检波产生失真的必要条件。带着30%音频调幅的0.5伏中频电压,检波后便得到了约0.3×0.5=0.15伏的音频电压,对收音机的音频部分来说,为了使接收良好,这是最小的音频输入电压,如果没有这样大的起码的输入,或者由于自动音量控制不灵,输入太大;问题都在高频和中频部分,音频部分是无能为力的。所以谈收音机的音频放大,我们应当以有0.15伏的输入为前提。
那么,音频部分所担负的任务有多大,也就是应当把0.15伏放大到多少倍才算满意呢?这要看我们的收音机是用什么样的喇叭而定。
要让喇叭发出声音,一定要在它的音圈(也叫动圈)上接上足够大的音频电压,送入音频电流,喇叭的纸盆才会被音圈带着振动,这说明喇叭需要电力的供给。因此喇叭的大小,是以瓦数来表示,如5瓦,10瓦,15瓦等各种不同的喇叭这都代表输入给它们的电力。从由电能变为音能的角度来看,喇叭相当于一个“换能器”,但单从电路作用来分析,喇叭接在电路上吸收了电力,可以说它相当于一个电阻。因此,喇叭上又时常标示着它的电阻,例如3欧,5欧,8欧等。普通带动圈的喇叭,(电动喇叭)电阻都不过几欧,有一种舌簧喇叭的电阻可达数千欧。电动式喇叭的音圈本身要动,才能发出声音;要动就要灵巧,不能够绕许多线圈弄得十分笨重。线圈的圈数少,自然它的电阻不会高。
一个喇叭究竟需要多少电压(E)来推动,完全可见从它所标定的瓦数(P)和欧数(R)来计算。这种计算很简单,是欧姆定律的直接运用。例如P=0.5瓦,R=8欧,那么,
E=\(\sqrt{PR}\)=0.5×8=2伏。
这就表明一个半瓦、8欧的喇叭,需要2伏音频电压来推动。
从0.15伏的音频输入到2伏的音频输出,整个音频部分的放大倍数就是:

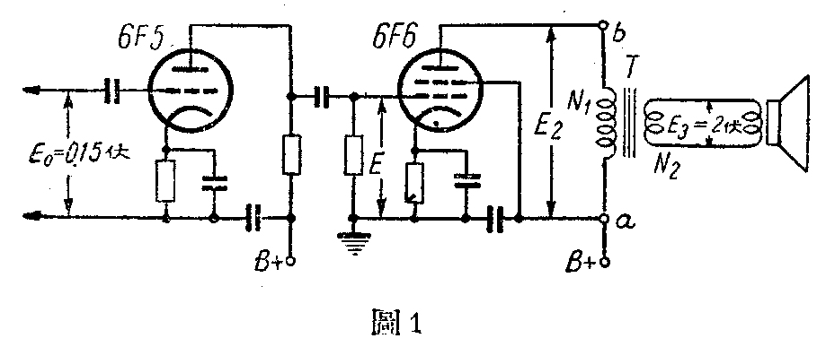
实际上是怎样得到这样多倍数的电压放大的,最好用下面一个常见的线路(图1)来说明。
这个线路里,用了两个电子管,由电子管的特性表知道,6F6的互导G\(_{m}\)=2500微漠,负荷电阻RL应当是7000欧。而用6F6充电力输出级时,它的电压增益应当是:
这样,一级的放大倍数,就超过了13.3,那么,我们为什么还采用两级音频放大呢?我们从前说过,要让电子管输出足够大的电力,它的负荷电阻应当有一定的数值,对6F6来说,R\(_{L}\)是7000欧,不能相差太远。如果我们不用变压器T,直接把喇叭的音圈接在图中a、b两点之间,等于把RL由7000欧变为8欧,显然是不合适的。可是加入变压器以后,虽可从把负荷电阻由8欧变为7000欧,同时也把E\(_{2}\)降低到E3。按照变压器的工作原理(参看批著无线电常识上册),这时电压的降低应当是
由于加入了变压器,使\(\frac{E}{_{1}}\)E2=17.5;29.6的比值还远小于13.3,所以需要再加一级,产生13.3×29.617.5=22.6倍的放大,这就是6F5管的功用。
6F5管一般可以产生 48—57倍的电压放大,显然用6F5—6F6两级串联起来。总放大比所要求的多了将近一倍。但这样是有好处的,因为为了改善音质,我们往往要在线路中加入音调调节器,低音补偿回路和负反授回路等,这些线路都需要消耗一些电压。此外,我们还可以在输入端加一音量控制器来调整E\(_{0}\),使E3不超过2伏的数值。
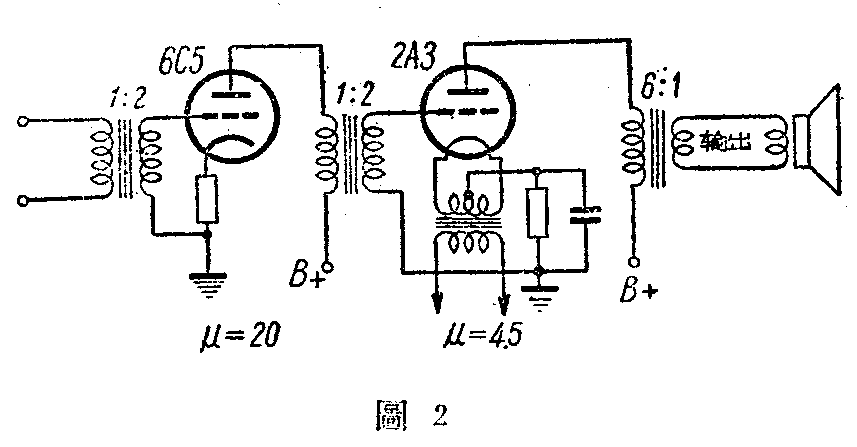
可是如果总放大倍数过多,一不小心最后加到喇叭上的电压自然就可能太大,往往很容易把喇叭烧坏。当我们想根据某些收音机的线路图来看所用喇叭是否合适时,时常有一些简单的办法可以作粗略的估计。我们再以下面的线路图(图2)为例:

因为任何一级的放大倍数不会超过它的电子管的放大系数μ,一般变压器的变压效率可以假定是80%,所以这个线路的最高放大倍数不会超过2×0.8×20×2×0.8×4.5×\(\frac{1}{6}\)≈38如果输入是0.15伏,加到喇叭上的电压就是0.15×38=5.7伏,假定音圈的电阻还是8欧,那么喇叭的电力就应当是(5.7)\(^{2}\);8≈4.1瓦。如果你接上5瓦的喇叭,绝不会烧毁。
实际上,如果我们用了5瓦的喇叭,它的声音又可能不够响。这是因为首先, 2A3的最大输出不能达到4.1瓦,而且实际放大倍数总不到38倍的缘故。我们查看电子管特性表,会找到2A3管作功率放大管的栅偏压约43.5伏(因此它的输入音频电压颠值不应超过43.5伏),屏极输出音频电压的颠值约132伏,因此这一级的放大实际是13243.5=3.04倍,即约0.75μ倍,而不是4.1倍。
同理,6C5级的放大算出来不过0.6μ倍。那么总共放大应当由原来的38倍减少为0.75×0.6×38=17倍,电压小了\(\frac{38}{17}\)≈2.25倍,电力就小5.08倍,即由5瓦变为5;5.08≈1瓦。因此如果有2瓦的喇叭,倒比较合用。

检查一级的放大倍数,还可以看它的R\(_{L}\)和Rp的比值,因为我们从电子管的等交回路来看(图3)μ乘输入电压的值是按\(\frac{R}{_{p}}\)RL的比值分配的,例如2A3管的R\(_{p}\)=800欧,RL=2500欧,R\(_{p}\);RL=\(\frac{800}{2500}\)≈1;3,这也表示这一级的放大只有34μ=0.75μ倍。
倘若我们必须使用5瓦的喇叭,这可能是因为房间太大,喇叭小了音量不够,或者是因为有一个5瓦的喇叭音质特别好,不肯不用的缘故,那么用图2的线路就有问题,因为它不能供给喇叭以足够的电力。这时,可以再增加一级,或把图2的最后一级改用两个电子管并联或改为推挽放大。这些极其有趣的问题,不仅对收音机的使用或改装有用,对使用扩音机也同样十分重要。这里我们不再详细讨论下去。
结束语
亲爱的读者,我们的“无线电常识讲座”初是从电子开始,到现在整整两年了,这一次我们是对收音机作最后一次的分析,我们的讲座也就在这里告一结束。
尽管我们所已经谈过的,还只不过是一些无线电的基本常识,但是如果我们把这些知识仔细回味一下,如果我们肯充份运用自己的想像力的话,在我们的眼前,将会立刻展开一个有趣的场面:你会看到电子像马戏团里演出的小丑那样地活泼,它掌握着整个场面,它一动全盘就动,振荡和调制就像是有趣的插曲。于是在空中就出现并充满了翻滚着的电磁波的波浪,它以无比坚强的毅力向前迈进着,却遭遇了从四面八方来的袭击,闪电和各种自然界的干扰想消灭它,但它仍然冲破了这些阻拦,英勇地向前迈进,于是便有从无数人家伸出来的热情的手——那些屋顶上数不清的天线——对它表示欢迎。它兴高彩烈地跑了进去,刚找到了入室的通道——收音机的输入调谐回路——,不料又遇着了埋伏,有数不清的怪物——收音机里的各种杂音——涌了出来。想吞吃它。一场不可避免的战斗终于结束了,它胜利地走进了大厅——混频管——,摇身一变(指变频),面目一新(指中频),随后便走入佳境,到处受到真诚的丰盛的款待(指放大),因此它精神百倍,步步前进,最后才遇着了等待它已久的歌手——喇叭,于是它们一齐狂欢歌唱。电子的这一切活动都是很奇妙的。
我们若再进一步向无线电的领域前进的话,会看到许多更有趣的奇境。无线电技术的广阔前途实在不能轻易估计,举个例来说:我们不久就能坐在家里在电视接收机的荧光幕上看见首都的大剧场里播出的名剧。这一切都只不放是在无线电机构操纵下,无数电子活动的表现。再请想想看吧,将来我们天天要欣赏电视,一个国家那里来这么多的舞台剧和电影来供电视台天天变换呢?国际间如果能够通过无线电随时交换电视节目,这个问题就可以解决了。过去,这样做只是导演们的幻想,今天却已经完全可以实现。你们也许已经听说过“微波”,把无线电波的频率提高到几千兆周就成了微波。转播电视节目必须要用微波做载波。过去,人们以为微波走不远,国际上的电视节目互换,不知要加多少接力站,这实际上是很难做到的。可是无线电发展到今天,微波传输的可靠距离一次就有2000公里,将来在我国大量发展了无线电微波技术以后,咱们坐在家里,便可能看到全世界任何国家的电视节目,而利用它来通信,更不用说的了。
如果把电视比作千里眼和顺风耳的话,那么那些封神榜里的神怪们隔几百里放暗箭的本领,今天掌握了微波技术的科学家们都能做到,这就是用微波操纵的导弹和火箭。微波指挥着导弹,可以让它走直线或走弧线,追踪射击敌人。微波操纵载着人的火箭飞到月球上去的准备工作,实际上早已开始。这一些不过是几个例子,借以引起大家今后对学习无线电的兴趣。(沈肇熙)