在医疗工作中,常常需要检验动脉血液的氧气饱和度。
现行的一些化学分析检验法的缺点是需要取血和遭受痛苦。此外,这些方法都不能连续不断地观察血液氧气饱和度的变化。
阴极测氧针(血氧计\(^{*}\))是一种仪器,它不必取血,而能在任意长的时间内测量动脉血液的氧气饱和度。这种仪器所根据的原理,即上述的验血方法,是由苏联科学院通讯院士E.M.克列璞斯所首创。
下面我们就介绍一种用交流市电的“КОБ-2”型阴极测氧针。在这个仪器上可接用“СГ”型自动记录器。
这种仪器的作用原理是利用耳壳微血管内血红素的二色光电的量热法。
这种方法是利用氧化的血红素和被还原的血红素光谱特性的不同点:即这两种血红素对于绿色光谱和红外线光谱在某一部分上所呈现的吸光性相同,而对于红色光谱中的某几部分所呈现的吸光性相差很大的特性。因此,便可能利用滤光器和光电的方法来获得血液血红素氧化程度的变化情形。

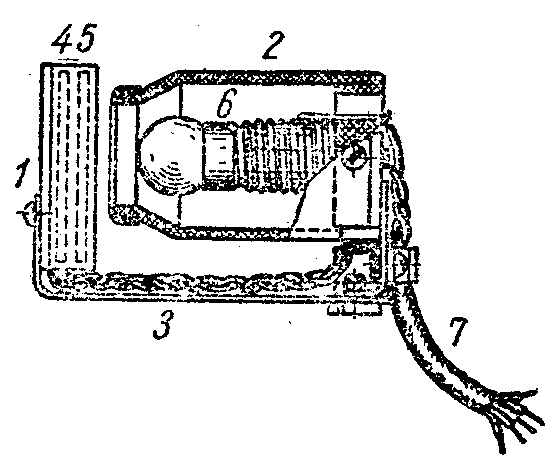
“КОБ-2”型阴极测氧计包括有探测子和测量盒(图1)。探测子是用来夹在被验血人的耳壳上。它由两个小盒组成,它们之间用簧片连接着,在一个小盒里安装有一个电灯泡,而在另一个小盆里装有微差光电池和两个滤光器。探测子接有细多心软电线,它的一端连有接线插头(见图2),以便和测量盒相接。
测量盒把探测子来的信号放大,并经过转换后,以绝对单位表示出血液含氧的程度。测量盒装在带罩的底盘上,在面板上装有指针式检流表,信号灯和仪器的主要控制钮,而辅助控制钮和电压表则装在后板上。
阴极测氧计的两级放大器是按照直流放大的平衡电桥线路作成的。微差硒光电池Φ有两个封闭层,各对着一个滤光片,这两个封闭层各接在电桥的两个臂上。电桥的一个臂放大带有绿色滤光片的光电池的电压;而另一个臂放大带有红色滤光片的光电池电压。电桥的对角线上接有指针式的检流表,它的刻度直接表示血液含氧饱和度的百分比。
阴极测氧计的使用方法如下:将探测子戴在耳壳上。(图3),它的灯泡发出的光照射过耳朵的组织,并把它加热到使微血管网扩张所需要的温度。耳朵组织的温度随探测子灯丝电压的值而定,可以凭电压表加以控制。

灯泡的光一部分透过耳壳,射到滤光片上并分成两种光谱。每一种光谱落到自己的那一微差光电池上。带有红色滤光片的硒光电池一臂的电压,随被照射耳朵里血液的氧化程度和耳朵组织的光学厚度而定:而带有绿色滤光片的硒光电池的电压,则只随着耳朵组织的光学厚度而定。光电池上的电压加到电子管Л\(_{1}\)和Л2(见图1)的控制栅上。仪器应当调整得在耳朵组织的光学厚度发生改变时,使上述两电压的变化相等。在这种条件下。由于耳朵组织厚度的改变所引起的两个电子管屏流的改变,完全相等。

血液氧化程度的变化只能改变一臂微差光电池的电压,使放大器一臂的屏流发生改变。因此,检流表的读数也就发生改变。根据检流表指出的屏流差额,便可从决定被测血液的氧化程度。
阴极测氧计的刻度是用和化学方法(气体分析验血法)所测得结果相比较的方法刻出的。((苏联)E·包洛琴斯基 姜庆源 译自苏联“无线电杂志”1952年第3期)