(陈家璐)现在我把自己业余装置的矿石机、一灯机……一直到五灯机的线路图和零件表介绍给大家。

收音机的零件是一次一次的买来的,所以每一次买零件花钱不多,大约由几元到20元。第一次所买的零件,以后每次改装时都能继续使用(仅有耳机和另外一、两个零件最后不能使用),所以不会造成浪费,这样的方法对每月只能拿出少量零用钱来买零件的人很合适。

收音机的线路也是由简单的矿石机,再生机一步一步发展到超外差机,逐步完善起来。对业余爱好者来说是一个实验从简单到复杂收音机线路的好机会。零件表中的价钱,是按我在上海购买时当时的市价,现在如果要买的话,因为时间,地点不同,可能有一些变化,但是我想也不会相差太多。图表中零件按购买先后次序编号。各地业余爱好者不妨一试。
编者按:这个办法的优点是可以分次添购零件,每次均可装成一部收音机,最后可装成比较完整的收音机。本文所介把的线路不一定很好,也不一定能适合读者的需要,但是读者可以根据这样一个方法,就是先确定好最后想装成收音机的线路和所需零件,然后再确定分几次购买装置,每次采用什么线路,这对业余者来说,也是个很有趣的工作。


第1次购买零件
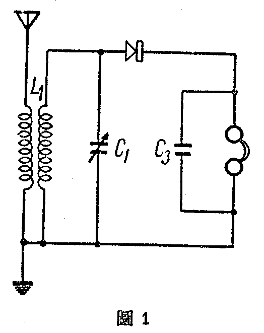
零 件 耳 机 矿石 双连电容器 电容器 线圈
规 格 2-4千欧 活动的 0.00035微法,可变 0.06微法 力士牌306号
编 号 - - C\(_{1}\)C2 C\(_{3}\) L1
价 格 5元 0.25元 3.6元 0.12元 0.5元
数 量 1付 1个 1个 1个 1个
共计人民币 9.47元
第2次购买零件
零 件 电子管 电源变压器
规 格 6SQ7GT 五灯机用,初级110/220伏,次级6.3伏,5伏,2×350伏
编 号 V\(_{1}\) T1
价 格 6.7元 15元
数 量 1个 1个
共计人民币 21.7元
第3次购买零件
零 件 电子管 电容器 碳质电阻 电位器 高周扼流圈
规 格 6V6GT 250微微法 8微法 2兆欧 25兆欧 10千欧 -
编 号 V\(_{2}\) C4C\(_{5}\) C6C\(_{7}\) R1 R\(_{2}\) R3 RFC
价 格 5元 0.08元 0.62元 0.07元 0.3元 1.2元 0.3元
数 量 1个 2个 2个 1个 1个 1个 1个
共计人民币 7.57元
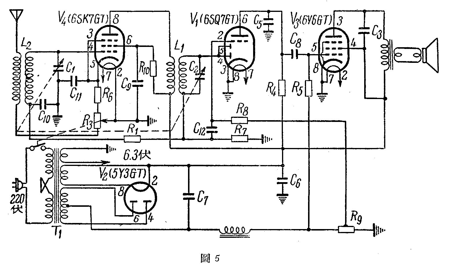
第4次购买零件
零 件 电子管 喇叭 电容器 碳质电阻
规 格 6V6TG 5时励磁式 0.06微法 250千欧 500千欧 300欧
编 号 V\(_{3}\) - C8 R\(_{4}\) R5 R\(_{6}\)
价 格 7元 8元 0.12元 0.07元 0.07元 0.09元
数 量 1个 1个 1个 1个 1个 1个
共计人民币 15.35元

第5次购买零件
零 件 电子管 线圈 电容器 电阻
规 格 5SK7GT 806 0.1微法 0.05微法 0.01微法 0.06微法 500千欧 2兆欧 30-270欧 270-310欧,抽头,
编 号 V\(_{4}\) L2 C\(_{9}\) C10C\(_{11}\)C12R\(_{7}\) R8 R\(_{9}\) R10
价 格 6.3元 0.5元 0.22元 0.22元 0.12元 0.07元 0.07元 0.07元 0.07元 0.35元
数 量 1个 1个 1个 1个 1个 1个 1个 1个 1个 1个
共计人民币 8.04元
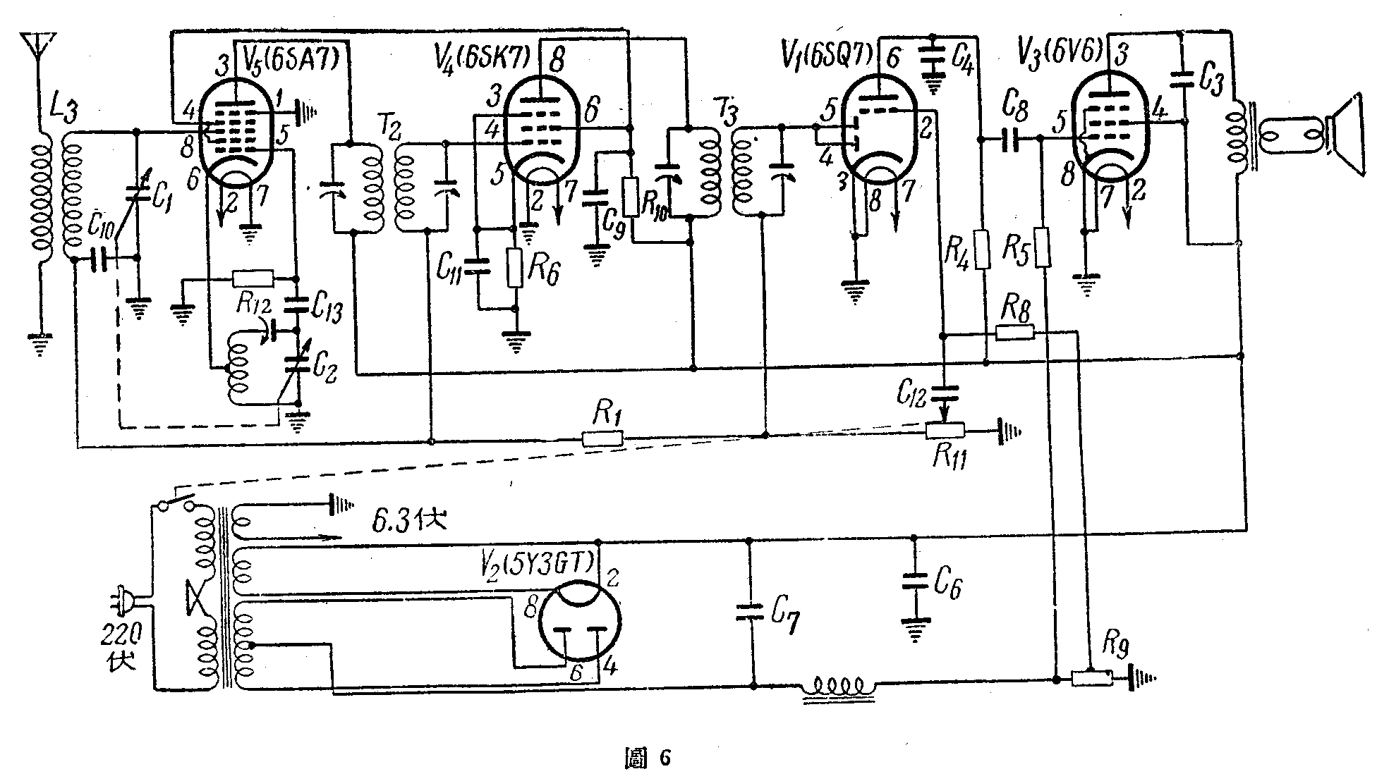
第6次购买零件
零 件 电子管 线圈 电容器 电阻 电位器 中周变压器
规 格 6SA7GD在 美通610号 0.0001微法 配定电容器 50千欧 500千欧 465千周
编 号 V\(_{5}\) L3 L\(_{4}\) C13C\(_{14}\)R12R\(_{11}\)T2T\(_{3}\)
价 格 6.8元 0.7元 0.3元 0.55元 0.07元 1.2元 4元
数 量 1个 1付 1个 1个 1个 1个 1付
共计人民币 13.62元
