一、喇叭和喇叭线完好么?
扩音机装好以后,准备试用。但是新架设的喇叭线通路吗?喇叭正常吗?有的同志为了省事,干脆把扩音机高压开关闭合,放上唱片,试听、这样作,在输出功率较大的机器上,在喇叭线断路的情况下,很容易由于没有负荷而引起末级输出变压器次级电压过高而把它烧毁。用一个简便的办法,就可以克服这种缺点。把监听用的耳机直接接在喇叭线上(这时喇叭线不要接在扩音机上),如图1。这时会听到耳机中有着和现场相同的声音。原因是喇叭变成一个大话筒,向耳机馈送电能,所以耳机里听到的声音相当清楚。听到了喇叭传来的声音后就知道:1.喇叭完好。2.喇叭线完好。然后,即可将喇叭线接在扩音机上,放心使用了。

注:此法适用于永磁扬声器。励磁扬声器须加上励磁电压后再进行试验。又在数路喇叭线情况下,须将各路喇叭线分别测试。
二、查出喇叭线断折点的方法
根据情况判断,是喇叭线断了。时间又不允许再找一根全新的换上,巡线后又找不出线皮有外伤。怎样办呢?下面的方法很可靠而且时间也省。用耳机串联1.5伏干电池,两端接两根试针,如图2。把故障线路的两端和喇叭及扩音机脱离,一端短路。沿短路之一端向开路的一端进行测试,只要线路通路,耳机中即有“喀喀”声。当测度到某一线段突然无声,就证明喇叭线在附近断了。再仔细找一下把故障点找出,然后修好。检查时最好先从开路的一端测试,如果不通,再到全线\(\frac{1}{2}\)处测试一次,如果通路,这一半就不必再试,退回来在有故障的1;2线段处加以测试。以免浪费时间和造成线皮绝缘穿孔太多的现象。试针越细越好,用绣花针即可。

三、小电珠的作用
在扩音机的高压线圈中心抽头对地间串联一只小电珠。可起下述作用:

(1)高压保险丝——当高压回路中发生短路或严重漏电时,小电球因通过的电流过大而烧毁。可以保护整流管和变压器(见图3)。
(2)监视扩音机运行情况——一般中小型扩音机均不装有直流毫安表。直流回路发生故障较难觉察。现在把这个小电珠装在扩音机的面板上,一面作高压保险丝,一面又可比较小电珠在正常运行中的亮度,大致了解扩音机之运行情况是否正常。这个小电珠的大小应由具体试验决定。如现白亮不能持久;如无光可能不起保护作用。以能看清灯光而又不太亮最好。
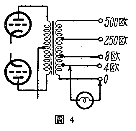
四、播音声音大小的判断

一般扩音机均无输出电表。在播音室里又听不到外界的声音,输出大小无从判断。解决这一问题,可在扩音机的输出端子或输出线上加一并联小灯泡(图4)。当播音时小灯泡闪闪发光,可供参考。(蓝文钊)