一般的低频放大推挽线路有下列三类:一、推挽变压器法;二、分相法;三、三极管倒相法。
在荷兰飞利浦厂出品的BX-765-X型8灯全波收音机中,采用了另外一种倒相电路。它用6极管同时完成放大及倒相两种作用,从同一个电子管的屏极与帘栅极分别输出两个相位相反的信号电压,用来推动两只强力放大管,这种线路不常见,我们暂时叫它为“帘栅倒相法”。现在仅仅把它的线路与作用做一个初步分析,以供参考。
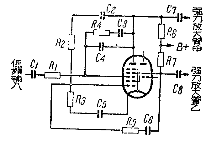
此机低频放大的推动级采用ECH-21,这个电子管的三极部分用于“超负荷控制”线路,不在本文讨论范围以内。六极部分又可以在理论上看成雨个独立的电子管:见图。

1.五极放大管,其组成部分如下:
假想阴极——由g\(_{2}\)与g3间的空间电荷形成。
控制栅极——g\(_{3}\),
帘 栅 极——g\(_{4}\),
抑制栅极——g\(_{5}\),
屏 极——原屏极。
2.三极倒相管,其组成部分如下:
阴 极——原阴极,
控制栅极——g\(_{1}\),
屏 极——g\(_{2}\)。
音频信号由前级经C\(_{1}\)及R1进入五极部分的控制栅极g\(_{3}\),放大后由屏极经C7输出至强力放大管甲。另外一部分放大后的信号经C\(_{2}\)及R2进入三极部分的控制栅极g\(_{1}\)。R2与R\(_{3}\)是用来分压的,两者的数值大小与放大系数有关。例如三极部分的放大系数是20,则R2:R\(_{3}\)=20。如此可使输至强力放大管的两个反相信号强度相等,这一点与一般倒相电路的分压方法是一样的。三极部分放大后的信号,由屏极(g2)输出,经C\(_{8}\)输出至强力放大管乙。这样就完成了信号倒相工作。
当输入g\(_{3}\)的信号为正时,屏极电流增加,屏极趋负性,所以强力放大管甲的栅极得到负性信号。与此同时,g1也从屏极得到负性电压(经C\(_{2}\)及R2),因而帘栅电流降低,亦即帘栅电压趋正性,所以强力放大管乙的栅极得到正性信号。这时强力放大管甲和强力放大管乙同时得到“大小相等。方向相反”的推换激励电压。
除上述的基本回路以外,三极部分尚由C\(_{6}\)及R5引来相当强大的负回授,因而增加了倒相信号的平衡性。既便放大管的放大系数有了变化,它的输出信号强度也几乎可以不受影响。
此管的帘栅极g\(_{2}\)、g4是供倒相电压输出的,因此没有加接傍路电容器。为了防止因取消傍路电容器而可能引起振荡,在五极部分也加装负回授,负回授电压是由屏极经C\(_{3}\)及R4引至g\(_{3}\)的。
g\(_{3}\)是五极部分的输入栅极,g2及g\(_{4}\)联在一起成为三极部分的输出屏极。g2与g\(_{3}\)之间因有空间电荷存在,不会发生回授。但是由于g3与g\(_{4}\)极间电容的存在,可能发生电容回授,因此在屏极与g3之间又加了一个中和电容器C\(_{4}\),引来一个相反的电压,抵消这个电容回授。
此管阴极尚接至“超负荷控制”及“音量扩展”回路,这些线路不在本文讨论范围之内,所以阴极回路未画出。(全陆仪)