一般设备比较完善的通信电台,常把发信台和收信台隔开一段距离,使已方发出的强力信号不致影响到已方收信机的正常工作。双方用若干对遥控线连接,以沟通电键线、话筒输入线、电话线和其它控制线路的联系。其中发信机高压启闭的遥控问题,是遥控线路中所要研究的问题之一。
通常电台工作时,大部分时间都在守候或收听对方,发信机实际工作时间比较短,如发信机的高压长时间开启,对整流管、高压变压器和电力的消耗等,都会引起无谓的损失,例如缩短使用寿命,增加维护费用。如改由收信台随时通知发信台启闭高压,次数一多,无形中增加了双方值机员的负担。所以收发信机的高压能够利用遥控线,直接由收信台值机员控制或自动控制,那么,工作效率就大为增加。
高压改由收信台直接控制,只需增加一些简单的附属设备。只要所用的继电器线圈和接点的规格适合应用,一般是没有问题的。
现在只对发信机高压的自动遥控问题,提出一种线路,加以研究,其它不同类型的大小发信机,都可根据具体情况,修改应用。
自动遥控,就是指在收信台值机员按键发报或用话筒发话时,发信机立即自动地把高压开启;停止工作时,发信机高压又自动关闭。但在发报时,电键以较高速度断续工作,如果高压随着电键的启闭而一开一关,会产生很多问题,所以在每次停止按键时,应当使高压继续维持一个相当时期(例如一分钟),然后再自动关闭。这样在一分钟内,值机员重新按键时,高压不受影响。这种延迟关闭高压的装置,对发话也有好处,可以防止由于话音断续而使高压跳动的缺点。

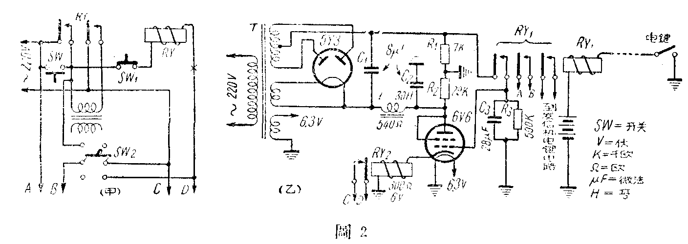
一般发信机的电源控制线路如图1。Ry是高压继电器,当高压掀钮开关sw按下时,交流电源通过sw、sw\(_{1}\)而使Ry的线圈通过电流,它的两对接点被吸闭合,高压变压器接通电源。Ry的接点闭合后,虽说按钮开关sw跳开断路;但交流电源改经并联在sw上的一对接点继续维持Ry工作;掀下另一个按钮开关SW1时,Ry线圈和交流电源断路,电流不通,接着Ry的接点跳开,高压关闭。如在这种线路上略加改装,并加一附属设备,就可以完成高压的自动遥控。线路见图2。

图2甲是改装后的发信机高压控制线路,和图1比较,只增加一只双刀双掷开关SW\(_{2}\)。图中引出的4根接线A、B、C、D直接接到图2乙的附属设备上。sw2是自动控制高压或由发信台本身控制高压的转换开关,这是为了防止自动控制部分发生故障或发信台调整机器时设置的。sw\(_{2}\)在用自动遥控时扳向上方;发信台本身控制时扳向下方,这时线路实际上恢复了图1的原来结构。
图2乙是附加设备。Ry\(_{1}\)是电键继电器,用直流电源经遥控线由收信台值机员操纵。Ry1有三对接点:右面的一对按发信机电键电路;中间一对和图2甲的A、B线相联;左面一对接点控制6V6管的栅偏压。Ry\(_{2}\) 的接点在线圈没有电流通过时,经常闭合,反之就被吸开断路。Ry1和Ry\(_{2}\)的各对接点都要求能安全地通过较大的电流(根据发信机高压继电器Ry线圈的电流决定),各对接点间和接点到地闭的绝缘电压要在400伏以上。同时要求Ry1动作灵活,能适应电键启闭的速度。
当收信台值机员按键时,Ry\(_{1}\)的三对接点同时闭合,左面的一对接点把7千欧电阻R1两端的偏压加到6V6的栅极上,使屏流截止,Ry\(_{2}\)接点闭合。Ry经A、B、C、D4点接通电源,高压开启。值机员把电键放开后,虽然Ry1左面一对接点已经断路,但由于6V6栅极所接的电容C\(_{3}\)和电阻R3的关系,栅偏压要经过一定时间后才能放电完毕,恢复屏流。屏流恢复后,Ry\(_{2}\)的接点被吸开,高压断路。延迟时间的长短由C3和R\(_{3}\)的数值决定。图中数值在瞬间按键一次时,可延长45秒,如连续按键,由于C充电需要时间,可延迟到55秒。改变C3、R\(_{3}\)的数值可以改变延迟的时间,C3、R\(_{3}\)的数值愈大,时间愈长,反之愈短。
现将实验结果的数据说明如下:
电源电压215伏,5y3交流每屏260伏。有屏流时:屏到地125伏,负压到地165伏。Ry\(_{2}\)线圈两端6伏,在5.2状时Ry2工作,接点断路不通。无屏流时,屏到地250伏,负压到地60伏,Ry\(_{2}\)线圈两端电压0伏,接点闭合。
在用自动遥控高压时,sw\(_{2}\)(图2甲) 扳向上,C、D两点在收信台值机员不按键时断路。发信台方面不能开启高压。但发信台方面能随时按下SW1关闭高压,以应付机件可能产生的故障。关闭高压后,应将SW\(_{2}\)扳向下方机内控制位置,防止收信台按键时又接通高压。
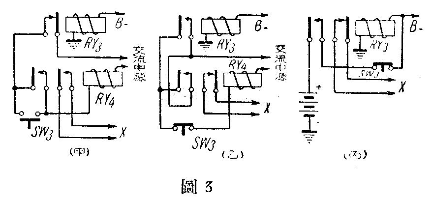
很多发信机装有过荷续电器。这种继电器的线圈串联在高压负极到地的价回路里,接点串联在Ry线圈的回路中,如图1或图2甲的×处。当高压电流过大时,过荷继电器接点吸开,使高压断路。但改装自动遥控高压以后,过荷时虽能关闭高压,如遥控方面按键,高压就跳动启闭,非常危险。改装方法如图3甲、乙、丙。

图3甲中只要加装一只交流继电器Ry\(_{4}\),过荷继电器Ry3的接点就不必改装。Ry\(_{4}\)的接点是吸时闭合的。交流电源取自发信机内部,电压大小由Ry4规格决定。当过荷时由于Ry\(_{3}\)。接点瞬间断路,Ry4线圈断电,接在×处的接点断路,高压关闭。这张线路的缺点是Ry\(_{4}\)在正常工作时经常有电流通过,使接点闭合。同时每逢第一次开发信机低压或灯丝时要按过荷按钮开关SW3,优点是Ry\(_{3}\)不用改装。
图3乙中过荷继电器Ry\(_{3}\)的接点要改装成吸时闭合,Ry4接到×处的接点是吸时断路;另一对是吸时闭合,SW\(_{3}\)瞬时开路的。这张线路没有图3的缺点,但要改装Ry3。
如条件许可,Ry\(_{3}\)可照图3丙连接。电源由另备的干电池供给,动作原理和图3乙的Ry4相同。
上述全部线路,在各继电器规格比较可靠时,运用情况是很令人满意的。(郑宽君)