今年9月,上海出口商品既国外商品展览会在上海中苏友好大厦展出了一种国产高级收音机——友谊牌722—551型。这是国营上海无线电厂出品的台式交流七管三波段超外差式带电唱机的收音机。
这种收音机附有拾音器和电唱机,可以放送一般直径在3O公分(即12寸)以下、转速78转的唱片。它和“东方红”收音机一样,具有足够良好的灵敏度和选择性,对于中波和短波波段都可得到良好的收音效果。友谊牌收音机能在摄氏40度的炎热气候和十分潮湿的地区,连续使用8—10小时。电力消耗小于65瓦特。木箱的尺寸很大,有良好的高低音发挥作用,它和装在机内的200公厘6瓦永磁喇叭配合,听起来音质非常动听。
友谊牌收音机的主要技术规格如下:1.收听波段:中波段550—1600千周(545—188公尺),短波Ⅰ3.8—7.6兆周(79.0—39.5公尺),短波Ⅱ9.0—12.1兆周(33.3—24.8公尺)。2.中频:465±2千周。3.输出功率:失真度在7%以下时不低于1.5瓦。最大输出功率可达4瓦。4.灵敏度:功率输出0.1瓦和信号噪音比不低于20分贝时,中波段不低于200微伏;短波段不低于300微伏。5.选择性:失调±10千周时衰减大于26分贝。6.信号像频比:中波段大于30分贝;短波段大于12分贝。7.中频抗拒比(中频信号衰减);大于34分贝。8.自动音量控制: 输入信号变动26分贝即20倍时, 输出电力的变动不大于8分贝即6.3倍。9.交流声电平:低于1.5伏安37分贝以下;10.音量控制:在最大和最小步位,输出变化不小于40分贝,调节音量时有自动音质补偿作用。11.频率响应:在100—4000周间音压变化不超过14分贝。12.平均音压:在额定功率输出时,离收音机喇叭1公尺处的平均音压不低于10巴(10—4000周)。13.非直线性畸变:额定输出(调幅度为30%)时,音压的非直线性畸变在100—200周间不大于10%;在200周以上不大于7%。

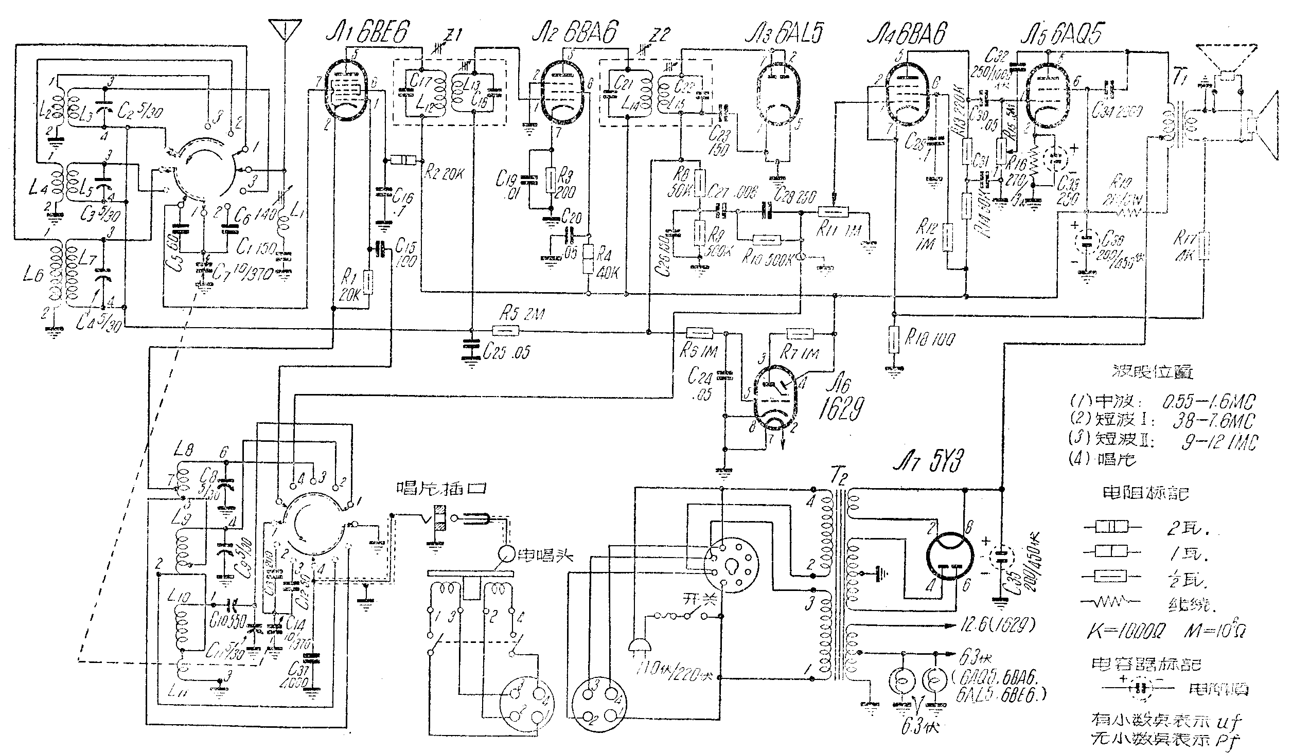
友谊牌收音机和本刊9期介绍的“东方红”很相似。附图是原理图,机内也采用花生管。花生管的极间电容很小,适于高频,因此在短波段也得到了很高的灵敏度,而且这些电子管,将来在国内补充容易。管号如下:Л\(_{1}\)—6BE6(6A2П),Л2、Л\(_{4}\)、—6BA6(6K4П),Л3—6AL5(6X2П),Л\(_{5}\)—6AQS(6П1П),调谐指示管Л6—1629,整流管5Y3GT/G(5Д4C)。

全机的调节旋钮共4个,都分布在面板前面,从最左边起依次为电源开关兼音量控制、音调控制、波段开关和调谐电台旋钮。波段开关有4个位置。用数字表示,1为中波段,2为短波Ⅰ,3为短波Ⅱ,4为放送唱片。刻度盘用公尺和兆周同时分度,在短波段电台密集的地方用短粗线标出,中央人民广播电台的波长在度盘上用圆点标出。度盘上中波和短波的刻度用数字1、2、3标明,与波段开关钮的指示相对应。使用时可以看到装在玻璃刻度盘里发出绿光荧光的电眼。当电眼的扇形暗影最小时,调谐最为准确。
质量较差的收音机,每一波段的重叠系数(最高频率和最低频率之比)往往相同,但友谊牌收音机各波段的重叠系数各不相同,例如中波段调谐回路的重叠系数是l600÷550=2.91;短波Ⅰ是7.6÷3.8=2,短波Ⅱ是12.1÷9.0=1.34。两个短波段的频率范围宽度是7.6-3.8=3.8和12.1-9.0=3.1兆周,相当于把波段扩展了好多倍,这种设计方法消除了在短波段电台密集而引起的调整困维,同时也大大减少了短波段因频率漂移而造成的电台移动和衰落现象的严重性,使收音更趋稳定。为了仍用一个可变电容器而得到不同的重叠系数,在回路中接入了电容器C\(_{5}\)、C6、C\(_{1}\)0、C12和C\(_{13}\),这些电容器的容量都是根据各个波段的范围和可变电容器C7、C\(_{14}\)的电容、线圈电感量的数值而算出。在线圈两端并接的半调整式电容器C2、C\(_{3}\)、C4、C\(_{8}\)、C9和C\(_{11}\),容量在5—30微微法之间,用来作为校验时的补偿。这种回路的设计使输入回路和振荡回路的跟踪发生的偏差很小,因而对各频率的灵敏度更为均匀。
波段开关有4个位置,共有两块开关板,一块开关板的一面有3把刀,反面有2把刀,司输入回路的变换,第1、第2和第3位置接中波、短波Ⅰ和短波Ⅱ的输入回路线圈,第4位置空档。另一块开关板的正面和反面都有2把刀,这是振荡部分的变换,前3个位置接中波、短波Ⅰ和短波Ⅱ的振荡线圈。当波段开关在第2位置时,L\(_{7}\)和L11、被短路;第3位置时,L\(_{5}\)、L7和L\(_{11}\)短路。第4个位置(唱片位置)时音量控制器R11,两端连在唱片插口上,可以放送唱片。
收音机的线路结构和“东方红”相像,中频放大级Л\(_{2}\)的输出加到Л3上进行第二检波,音量控制器R\(_{11}\)接在Л4栅极回路,司收音或放唱片时的音量调节。收音时音质补偿网络R\(_{1}\)0、C28的作用是提升高音。当R\(_{11}\)旋小,音量降低时,高音补偿作用逐渐不显著,相对地加强了低音成份,这种自动音质补偿作用,使我们在减低音量时,用不到旋转音调控制开关仍能听到美满的低音,弥补了人耳对小音量时感觉低音不够的缺陷。放唱片时,R10、C\(_{28}\)、C27、C\(_{26}\)、C9以及C\(_{37}\)和C15、R\(_{1}\)成为拾音器的并联回路,构成了晶体拾音器的频率修正回路,防止了晶体拾音器在约6—7千周高音段的响应出现尖峰而形成尖叫。R14和C\(_{31}\)是低音补偿网络。音调控制器R15借改变负回授的多寡而得到不同的音质。Л\(_{6}\)是调谐指示管,外来信号愈强,从L15加到它栅极的直流电压愈负,控制电极(三极部分的屏极)电流减小,电压增高,就吸收更多的电子打到屏幕上,因此看到的萤光面积最大。
Л\(_{7}\)整流后的输出接到输出变压T1的抽头上,Л\(_{5}\)的帘栅流和前几级电子管的屏流、帘栅流经T1下部分线圈通过Г形滤波器R\(_{19}\)和C36供给,Л\(_{5}\)屏流则流经T1上部线圈。远种设计除了能抵消一部分经过T\(_{1}\)的交流声外,也避免了T1铁心被直流磁场饱和所引起的非线性畸变,并提高了T\(_{1}\)的效率。
由于天线和机壳间有中频信号的陷波器L\(_{1}\)C1,中频信号干扰可以减到很小的程度。电唱机的转轴每半年应加油一次。油料应选清洁、粘度较小的润滑机油,加油时不要碰到橡皮零件上面,以免橡皮变质。(龚方雅)