现在有一些扩音机上附有音量扩张和音量压缩的装置,这两种设计的原理可以通过实验来帮助了解。每架扩音机也可以自己动手添装。
什么是音量扩张和音量压缩
扩音机上为什么要用这种装置呢?先举个例子来说明。大家晓得唱片纹路的宽度是随着声音的强弱而变化的,如果在录制时声音太响,刻刀振幅太大,就会和相邻槽中的纹路相混,声音发生混乱;反之,若音量太轻,由于刻刀本身机械振动而产生的噪音即背景杂音,就很可能把较轻的声音盖没。许多歌曲和音乐,尤其是戏剧的演出,音量的变化程度很大,所以在录制唱片时需要把输入的声音加以适当的抑制,太响的略加减轻,太轻的略加提高,才能使制成的唱片比较满意。但是,这样一来,放唱片时,到底和原来的声音不完全一样,有经验的人一听就感觉出声音不大动听。
那么,怎样来外救这个缺陷呢?人们想出了音量扩张的办法,自动地使由唱片产生的声音,轻的比较起来放大得少,而声音大的比较起来放大得大,就是通过对声首轻重不同而相应地作较小和较大的放大的办法,把原来应当是大的而被压缩了的声音还原,这样听起来就逼真动听了。
音量扩张
音量扩张的方法很多,从前人们在输出回路里动脑筋,想出了一些简单而有效的办法,作了如下的实验,找两颗小电珠和而只约1欧的电阻,照图1的接线联成电桥,在欣尝唱片时,就比较动听一些。

这个实验的原理是这样的:小电珠的灯丝在没有电流通处时,它的阻值不变。当有电流通过时,灯丝温度升高,阻值随之上升,这个相应的变化很迅速。根据电桥原理,当小电珠冷丝电阻和R相等时,电桥平衡,没有音量输出。当有小音量输出时,通过小电珠的电流很小,电阻虽略有增高,但和R相差不大,电桥微呈不平衡,仅有一部分输出电力输入到喇叭音圈,喇叭发出的声音仍旧很轻。如果输出音量升高,通过小电珠的电流增多,电阻很快的增高而和R相差很大,电桥失去平衡,通过音圈的电流增多,喇叭发出的声音就很响。这样,音量大小就有较为显著的变化,完成了音量扩张的作用。
有些有线广播站欢喜用电灯泡代替一部分假负荷,因为输出愈大时,灯泡愈热,电阻愈高,它们吸收的功率百分比就愈小,而到喇叭去的功率百分比愈大,喇叭也愈响,结果发现在播音时声音的强弱较为显著,也就等于有了音量扩张的作用。
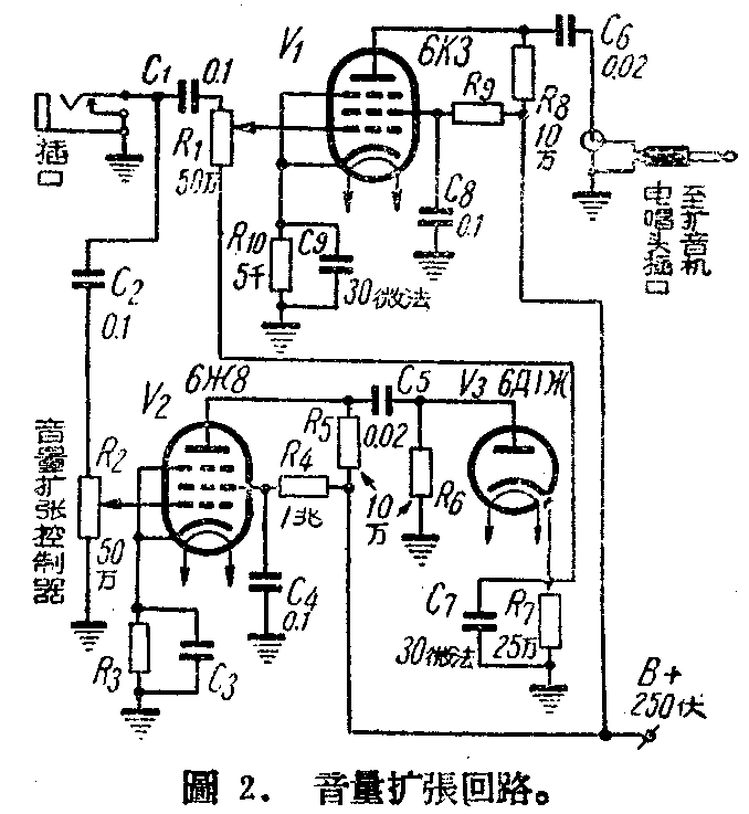
扩音机上所采用的音量扩张设备的工作原理,可用图2说明。从插口输入的音频信号电压,一部分经音量控制R\(_{1}\)加到V1的控制栅极作电压放大,另一部分经R\(_{2}\)送到V2的栅极放大后,再由C\(_{5}\)交连到V3的屏极。在没有信号输入时,V\(_{1}\)由阴极电阻R10取得一定数值的栅偏压;当信号输入时,一部分信号经V\(_{2}\)放大后输入V3的屏极,在正半周时,V\(_{3}\)做半波整流,阴极输出电流经过R7时产生电压降,因为它和V\(_{1}\)栅偏压的电位相反,因此随着输入音量的大小,抵消了一部分或大部分V1的栅偏压,使V\(_{1}\)屏流增高,完成音量扩张作用。R2是用来调节V\(_{2}\)输入电压的强弱的,借以控制音量扩张程度的大小。R10可以用大些,我们实验时用5000欧线绕电阻。

图2的装置可以单独装在一只小盒里,用输出插子和扩音机相联,也可以设法装在原有机件的内部。
音量压缩
在某些场合,例如在舞台上,演员和话筒的距离随时在变化,这样,声音强弱差别太大,值机人员要控制音量非常困难。
音量压缩的作用和收音机里自动音量控制的作用很相似。当音量输入太轻时,能使电压放大管的放大率自动提高;当音量太响时,又自动降低,使喇叭发出的声音响度地较平均。所以音量压缩作用恰好和音量扩张作用相反,如果没有经过压缩,也用不着扩张。
从图3中可从看出,有信号输入时,一部分电压经过V\(_{2}\)放大后输入V3做倍压整流,V\(_{3}\)第4脚为正极,第5脚为负极。若将R1的一端接V\(_{3}\)第5脚,当信号很强时,整流后输出的电压也愈大。V1的栅偏压增加,放大率就降低,从而压缩了音量。R\(_{2}\)是音量压缩程度控制器,愈往下旋,即旋臂愈接近正极,输出负压愈大,压缩作用也愈大。因为V1管的工作很灵敏,很小的栅压变化,就可以得到很大的输出变化,所以R\(_{2}\)上电压的调节范围用不着很大,在整个调节范围内,V1还能保持直线放大,不致产生失真。

可以想像,若将R\(_{1}\)的一端改按V3的第4脚(正极),就会产生音量扩张。因此,可以用一只单刀双掷开关来管理,在做音量扩张时,R\(_{2}\)旋向负极,扩张作用愈显著。(田寿宇)