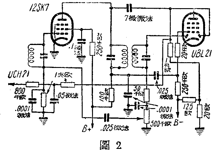
捷克Tesla 401U型四灯收音机中的中放兼低放管UCH 21损坏以后,目前很难买到同样的电子管和能够代替它工作的电子管。在这种情况下,只有用别的电子管代替它,同时要改变一些线路。图1是原来线路,图2是用12SK7代替UCH21的线路。改变线路以后,收音机的性能没有多大改变。


因为12SK7的灯丝电压是12.6伏,电流是0.15安。UCH 21的灯丝电压是20伏,电流是0.1安。所以改装后的灯丝电路也必须加装降压电阻和分流电阻。图3是原来灯丝电路,图4是改装后的灯丝电路。图4中的R\(_{1}\)是2100欧,10瓦以上。R2是1800欧,10瓦。R\(_{3}\)是50欧,5瓦。其计算公式如下:
R\(_{1}\)=105(a.b间电压)0.05(欲分去电流)=2100欧,
R\(_{2}\)=90(b.c间电压)0.05(欲分去电流)=1800欧,
R\(_{3}\)=7.4(UCH21减12SK7的灯丝电压差数)0.15(灯丝总电流)
由于灯丝电路总电流增加0.05安,指示灯就显得很亮。必要时也可以加一个分流电阻。(陈茂根)

