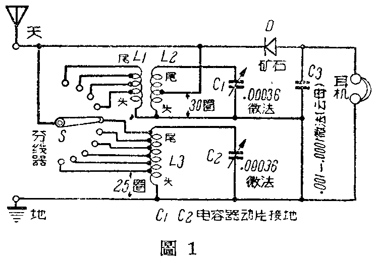
我最近制作了一架矿石机,它的灵敏度与选择性均能令人满意,见图1。我住在上海北站附近,接上连引入线共约15公尺的天线(水平部分约十公尺),地线接自来水管,上海市各电台均可一一分清,声音宏亮。

图1虽有三个回路,其实它都是天线直接交连检波,所以灵敏度很高,又有三个调节回路,所以选择性也很好。
线圈的绕制:L\(_{1}\)的直径是38公厘,L2,L\(_{3}\)直径都是51公厘。L2用0.4公厘漆包线密绕80圈,线头接C\(_{1}\)动片,尾接C1定片,在30圈处抽出一线头接到分线器的转片和天线接线柱及矿石的一头相连。 L\(_{3}\)用0.4公厘漆包线密绕90圈,在第25、35、45、55、65和75圈上共抽取6个头,L3的线头接C\(_{2}\)动片,尾接C2定片,6个抽头接到分线器上。 L\(_{1}\)用0.4公厘漆包线密绕45圈,在15、25和35圈上抽3个头,L1线头与L\(_{2}\)线头相连,L1线尾及三个抽头都接到分线器上去。L\(_{1}\)是放置在L2内,并且可以上下移动的,见图2。L\(_{1}\)在L2内移动的办法是在L\(_{1}\)的线圈管边上装一个T形的铁皮架,短的一头用螺丝吃紧在L1线圈管边上,长的一头钻一小孔,小孔的大小能通过香蕉插头,并可以紧密地和香蕉插头扣住。另外在L\(_{2}\)的旁边用半公厘厚12公厘宽120公厘长的铁皮,上面每隔5公厘钻一个孔,孔的大小与T形架上的孔一样。变成如图2的形状,用螺丝固定在底座上。这就成了L1可以在L\(_{2}\)内任意上下移动的支架了。使用时,调节L1在L\(_{2}\)内的上下距离,到声音最响而杂音最小之处,将L1管上的T形铁架的孔与L\(_{2}\)边上支架的孔对准后,用一枚香蕉插头插好。就把L1固定住了。

装置时应注意各点:
矿石收音机由于矿石本身无放大作用,故所用零件的好坏最足以影响到收音成绩,特别是天线按装得要有足够的长度和高度,绝缘要优良,地线要埋得深,如接自来水管作地线,应用地线夹夹牢水管,并焊接出引线,听筒要选上品,声音才够响亮,有时所用听筒欧数低,或发音太尖,用了C\(_{3}\)后可以改善音色。C3的容量,一般的从0.001微法到0.0001微法都可以,最好在装置时试验决定,矿石用固定或活动的都可以,C\(_{1}\)和C2必须用单独的两只单联,不能用双连代替。接线应用较粗的漆线或用硬接线,接头都要焊牢焊好。
全机装妥后即可接上天地线和听筒,先将分线器置第一位上,转劫C\(_{1}\)收到一电台,再转动C2调节到既无杂音又有足够的音量。若有杂音,先转动分线器,然后再细心调节C\(_{1}\)和C2,便可得到满意的分隔。(欧岑)