在调整超外差式收音机之前,最好能预备二件简单的特殊工具:一件是电感量“测试棒”,是一根直径约8公厘左右,长约60公厘的绝缘棒,用胶水、干燥的木材或竹梗做都可以,一端镶一节实心的铜梗,另一端镶一节射频线圈用的铁粉芯,它是从废旧的中频变压器或射频线圈中拆下来的。另一件是一柄特制的小螺丝起子,是用5公厘左右直径的绝缘棒,长短有50公厘已很够了,一端镶一小片硬铜皮,铜皮的体积愈小愈好,只要能够有旋转补偿电容器螺钉的机械强度就行。更简便的可以用竹筷圆的一头劈一条缝,嵌一小片硬铜皮后用线扎紧,这一头浸在白蜡中煮过,驱除潮气,加强绝缘,并可防止线结松脱,使用起来也十分合适。见图1。

着手调整时,要将自动音量控制的输入耦合电容器焊开,或者将回路里的旁路电容器短路接地。见图2。目的是在收音机的整个调整过程中,不使自动音量控制起作用。

第一步是校正中频变压器的谐振频率,用特制的螺丝起子去旋动补偿电容器,可以免除“2声,并且可以使调整结果特别准确。
用中频振荡器或信号发生器来校正中频,可以很简易而准确地使它在465或456千周处谐振。手续是这样的:将中频振荡器或信号发生器的输出地电位线接收音机底板,(交直流收音机要在输出线上串联一只0.0005微法的电容器),另一根输出线串联一只0.0005微法的电容器后,接在变频级控制栅的信号调谐电容器的静片上,信号发生器的频率校正在465或456千周上(看收音机的设计需要而定,一般都是465千周),将输出开到最大。收音机的音频输出变压器次级跨接一只分贝表,将音量控制开到一半。然后各接上电源,调节中频变压器的补偿电容器使分贝表指针偏移最大。在校正过程中,应将信号发生器的输出逐步旋小,以免电子管过荷。如果不用分贝表而听扬声器输出声音的大小来判别,那末每次调节前,应将信号发生器的输出减低至扬声器中所发的声音小到仅可听闻的程度。这样,输出即使只有极微的变化,我们的听觉也可以很灵敏地辨别出来。
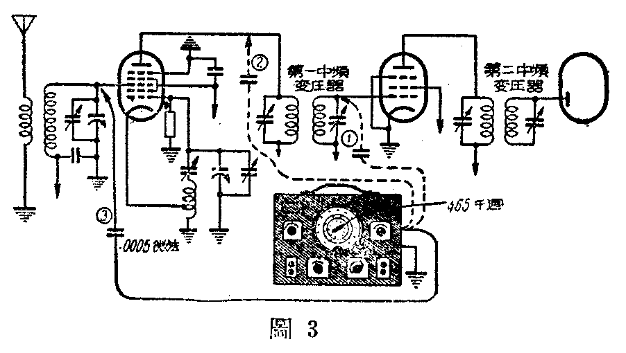
有时中频变压器的谐振频率与465千周相差太远,我们只能先在中放管控制栅接上信号发生器的输出线,从第二检波级开始,逐级由后向前校正。见图3。

如果凭收听电台去校正中频,最好不用分贝表而直接用喇叭来判别,因为调幅波的音频强度时刻变动,用分贝表时指针很不稳定,不及听觉来得正确。可以先接上天线,开大音量控制,在广播频段(550—1600千周)中收听一个电台,细心调谐到最响的一点,然后将音量控制关小到仅可听闻的程度。于是从第二检波开始,逐级向前调节。如旋转补偿电容器时声音减低,可向反方向旋转。声音太响时随时关小音量控制。所有中频变压器的补偿电容器要反复调整到最响的一点。新的中频变压器装好后,和465千周相差无几,需要调整也很小,每级螺钉的旋转的角度、方向、和转数都要记住。以备万一调节不对时可以还原。
其次是调整广播段的变频级了。变频级的本地振荡频率,等于外来信号频率与中间频率之和。例如在收听640千周的广播时,本地振荡频率为640+465=1105千周。又例如收听900千周时,本地振荡频率应为900+465=1365千周。它是跟踪信号谐振频率的变化而变化的。然而用同轴电容器调谐,本地振荡频率不会每点都高于信号频率465千周,有时稍高,有时稍低。在应用上,一个频段内能有三点准确已很足够了。这三点的频率,我们叫它做“跟踪点”,见图4。在广播段中,是600,1000,1500千周三点。但是凭收听电台来校正时,可以利用频率靠近跟踪点的电台,例如640,1020,1400千周三点。

我们可以先找到640千周的电台,同时调整垫整电容器C\(_{p}\) ,使指针恰指640千周刻度时最响。然后用测试棒的任何一端插入控制栅的信号调谐线圈Ls的中心。见图5及图6。如果铜头逐渐插入时变响,表示这线圈的电感量太大了,如果铁粉芯逐渐插入时声音变响,表示这线圈的电感量太小了,如果两头轮流插下去声音都变轻,那么L\(_{s}\)的电感量是恰到好处,不必再更动了。


L\(_{s}\)的电感量调整以后,将调谐电容器动片全部旋入,指针指500千周刻度上。这时如有“隆隆”声发出,表示中频调节得太高,超过465千周太多了,中频变压器需要重新校正。
重新调整中频的方法是:将音量控制开到最大,仍旧收听640千周,将同轴调谐电容器旋转,使指针向635千周的刻度处移动,至声音仅可听闻为止,然后调节各中频变压器的补偿电容器至声音最响,这样逐步反复调节,至指针确指635千周时声音最响,这样中频便减低5千周了。于是重新调整C\(_{p}\),使指针回复到640千周的刻度位置上。再试验有无“隆隆”声。如有,重新调整一遍,至没有“隆隆”声为止。
然后收听1400千周左右的电台节目,调整振荡线圈补偿电容器C\(_{0}\),使指针刻度与电台频率相符合,再调整信号线圈的补偿电容器Cs,使输出声音最大。于是再收听640千周,调整C\(_{p}\)及Cs。这样反复调整两三遍,一直到两头都准确为止。
最后,收听1020千周,看指针与频率是否符合。如果刻度是正确的,而指针却指在1020千周以下,则表示振荡线圈L\(_{0}\)的电感量太小,若在1020千周以上,则表示L0的电感量太大了(假定收音机的刻度完全正确)。
变更了 L\(_{0}\)的电感量后,Cp和C\(_{0}\)必须重新调整。
广播段调整好之后,便开始调整短波段了。短波段通常是自5.88兆周至18.75兆周,它的跟踪点是6.66,10.00,和17.65兆周。但我们不用振荡器时,只能利用频率相近的电台做依据了。
短波段的振荡垫整电容器,通常都是用固定的,所以低频率一端是校正振荡线圈L\(_{0}\)的电感量,高频率一端是校正线圈的补偿电容器,实际上仅能校正两个跟踪点,中间一个跟踪点,仅作校核之用。如果在校核时相差太大,就要设法变更垫整电容器的容量。
先开大音量控制,在频率低的一头收听到一个电台,静听它的波长报告,然后调些L\(_{0}\)使与刻度相合,再调整Ls使声音最响。同样在频率低的一头收听一个电台,调整振荡线圈补偿电容器C\(_{0}\)使与刻度相合,再调整信号线圈补偿电容器Cs使信号最响。这样反复调整,最后在中间收听一个电台,如果指针与频率的数值相差不远,就不必再调整了。
在调整短波段的补偿电容器时,因为有“拉拢”和“像频”两种现象,使调整的手续更趋繁复而困难,初学缺少经验的人,往往错调了而自己不知道,使收音机的效率减低。
“拉拢”是由于信号电路与振荡电路间发生耦合的缘故。这种耦合,或者发生在变频管的内部,或者由于线路中的相互影响。其现象是信号谐振回路的补偿电容器旋向正确的位置时,振荡回路同时自动失调。所以在调节信号补偿电容器时,信号输出音量一度增高后便迅即降低。我们往往认为这最高点是调谐准确的位置,其实不对,这是因为振荡失调以后与输入信号的差频已经不是465千周,因而使中频放大率减低的缘故。我们要先调节振荡补偿电容器,使所收听的电台频率占刻度相合,然后调节信号补偿电容器与“真实信号”接近谐振,使音量最大,再调整振荡补偿电容器,使音量更大。如此反复数次,至音量大到不能再大为止。
在调整短波段高频端补偿电容器时,像频常会令人十分困惑。例如收音机的中频为465千周,外来信号是18兆周,则收音机的振荡频率在18-0.465=17.535兆周及18+0.465=18.465兆周时,都有一个465千周的差频输入中频级,使有信号输出。所以旋转收音机的调谐电容器时,可以听到同一电台的两个信号。这两个信号在刻度盘上所指示的频率,相差的数目恰为2×465=930千周。见图7。因为收音机的本地振荡频率应该高于信号频率,所以,刻度盘上指示较高的是真实信号,而指示较低的是像频。

我们在找到真实信号后,去调节信号补偿电容器时,也会发生相似于像频信号效应。我们在完全旋松信号补偿电容器后,再遂渐旋紧,开始时信号增强,继续旋紧时信号减弱,最后信号迅速增强到最高点,这时方是调谐正确的位置。若停留在第一个音量高峰上就错了。见图8。(朱希侃)
