手摇发电机是利用人力作原动力的发电设备。一个健壮的摇机员连续不断摇机半小时,约可发电50瓦。每次摇机如不超过15分钟,且有足够的休息时间,大致可发60到70瓦。一般的情形需要电力在50瓦以下时,用一个人摇,超过50瓦时就应该用两个人摇。
15瓦小型无线电台的发信机输出功率达到满额时,屏极和灯丝电力约消耗45瓦左右。在每日发报时间总计不超过5小时,而每次发报不超过半小时的情况下,则用一个人摇比较经济合理。
一般手摇机都用于供给发信机电源,虽说它也可以用来供给收信机的电源,但由于收信机使用时间长,用手摇机供电,零件容易磨损,而且直流电机的炭刷和整流子间产生的火花所引起的干扰杂声,也不易彻底消除,妨碍正常收听工作。因此,收信机的电源不如用于电池供给较为合适。
手摇机分交流和直流两种。交流手摇机输出电压随着电键的启闭有很大的波动,不适于作发信机的电源。因此,在15瓦小型台上很少应用。
直流手摇机输出高低两种直流电压,低压供给发信机电子管灯丝,高压供给屏极。例如发信机用的是807管,那末供给的低压应该是6.3伏,高压约400伏左右。直流发电机的效率比较好,而且电压也比较稳定,以下把直流手摇机的简单结构加以说明。
磁路
发电机有两个磁极,它所产生的磁力线通过轭和电枢心成闭合回路。轭除作为连接磁极的磁路外兼作机壳。轭和磁极用铸钢制成,但也有用矽钢片制成的。电枢心用矽钢片叠成,使涡流损失减至最小。叠成后的电枢周围开有线槽,发电线圈就绕嵌在这些线槽里。线槽的外口较窄,在塞进了绕成后的线圈后,用木质或竹制栓子把线圈牢固地压住。电枢心和磁极间仅有约半公厘宽的间隙,距离小,所以磁力线容易通过。图1是磁路各部分的构造情形。

整流子
电枢的两端装有紫铜片制成的整流子。整流子的目的是把电枢上导体在正负磁极下运动时所发生的交变电流转变成单一方向的直流电流。整流子也叫换向器,每一片紫铜片叫换向片,片和片间用云母绝缘。换向片连同绝缘物排成圆柱体,两端用绝缘体及螺帽紧紧压住。为了避免在高速旋转时换向片被离心力所甩出,所以换向片的两端铣成锥形槽口,以便绝缘体能夹住整个整流子不让松动。整流子的表面必须十分光滑。图2是整流子换向片的构造。

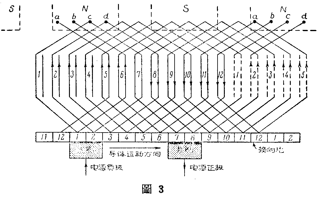
电枢线圈绕组
发电机的高低压线圈绕阻共同绕在一个电枢心子上。两线圈组互相绝缘,各有自己的整流子,实质上相当于两个独立的电枢。习惯上低压线圈绕在线槽内部,高压线圈安排在线槽外部。低压线圈约用直径为1公厘的丝漆包软铜线绕制,在线槽里约占1/3的面积;高压线圈用直径0.2公厘的丝漆包软铜线绕制。低压线圈用手工直接绕在电枢上,高压线圈则先绕在模型板上,绕成后用绝缘薄绸捆扎停当,再按次序装在电枢线槽里。每个线圈的端子按照次序焊接在相应的换向片上。电枢上线圈的绕法既可用叠绕,也可用波形绕法。现用叠绕法为例加以说明:假定电枢有线槽12个,低压整流子也用12片换向片组成,高压整流子为了避免炭刷和整流子间有过大的火花,两相邻换向片间的电压不宜超过15伏。例如高压是400伏,正负两炭刷间应有30片换向片,全波整流子60片。把相邻两换向片间所焊接的线圈作为一单元,每一线槽中除低压线圈外,应该能容纳5个单元线圈的10个线束。低压线圈展开成平面时的绕线法如图3所示。图中每个线图仅用一圈代替。

在绕制线圈前,线槽里应先垫好硬质绝缘纸,使电枢铁心和线圈间有良好可靠的绝缘。整个低压线圈绕妥后,也要复一层绝缘腊布,以便和高压线圈隔绝。高压线圈装进线槽并用木栓塞紧后,线圈的两端都应该用丝线或麻线捆扎。和换向片焊接处的导线应该整理清楚,包上多层绝缘布,然后用麻线捆扎。
绕制完工的电枢整个烘干后浸渍在绝缘油漆中,待油漆渗透到绕阻内部后取出烘干。烘干的温度应保持在摄氏110度左右,温度太高全损坏绝缘体,温度太低又不易使油漆干透。烘干后的油漆电枢可在车床上把附着在整流子表面上的油漆用细砂纸磨光除去。
炭刷
炭刷系用石墨粉和以铜粉压制而成,质地柔滑,它既能和整流子紧密接触得到良好的导电性能,又不会磨损整流子。炭刷的宽度要等于两片换向片的宽度,以保证在整流子转到任何位置时炭刷和整流子间都能维持良好的接触。如果炭刷过宽,同时和数片换向片接触,会使这一部分线圈短路,产生过大的短路电流,把炭刷和整流子烧坏。炭刷的位置系正对着所短路的线圈上没有感应电势的部位。如装置不妥,会使炭刷和整流子间发生过大的火花。低压和高压用的炭刷成份不同,低压炭刷因通过的电流大,要求电阻较低,所以铜粉成份多;高压炭刷要求电阻较大,以免短路电流过大。
电枢转速
手摇发电机的转速一般每分钟约4000转。转速愈高,发电机的体积可以做得愈小,但是机械振动声愈大,齿轮愈易损坏;转速太低,体积过大,也不经济。手摇机摇柄的转速以每分钟60转左右最为适合人的动作,摇速过慢过快,都得不到最大的功率。
手摇机效率
在全负荷的情形下,传动齿轮系统的机械效率估计约60%,而发电机本身效率约80%,故总的效率约50%左右。假定全负荷输出功率为45瓦,摇机员所加入的机械功率应当是90瓦,只有在忽断忽续的间歇工作条件下,一个摇机员才能胜任,而15瓦小型电台正好具备这种工作的性质。
励磁方式
手摇机的磁场采用复激法。在转速保持平稳的条件下,复激法可使输出电压跟着负荷的增加而略为增高。在实际运用时,当负荷加重,摇速势必略为降低,结果可以保持输出电压恒定不变。并激励磁电流由低压电源供电,而高低压负荷电流各流经串激励磁线圈。串激磁场的方向应和并激磁场的方向相同,以达到相互加强的功效。图4为磁极励磁线圈的回路图。

发电电压
发电机的电动势由磁极的磁力线数、线圈的导线数和电枢的转速决定。当磁极的磁力线数为Ф马克斯韦,电枢每分钟为n转,线圈为N圈时,发电机的感应电势
E=\(\frac{nNФ}{30}\)×10\(^{-}\)8伏。
以15瓦小型台用的手摇机高压发电部分为例,Ф=250,000马克斯韦,n=4000转/分,N=1200圈,可算得E=400伏。
为了进一步保证输出电压的稳定,除采用复激法外,往往在并激励磁线圈的回路中加接一串联电阻,这个电阻由接在低压电源的继电器控制。当电压降低时,继电器动作,把这个电阻短路,自动调升高压;当电压过高,继电器又使这个电阻加大而自动降低电压。 (陈景涵)