本刊8期“Ty250/1000型放大器的测量设备”,其中在制造上有数外已更改的:
1.用测量层测量阻抗时,经常发生电表不能满刻度偏转到零位。经过研究,把V36SN7第2脚上的电容器C\(_{11}\)取消,改在6SN7第2和第5脚上跨接一只0.01电容器,输出大为增加,保证可以调整到零位。改正后线路如图1。

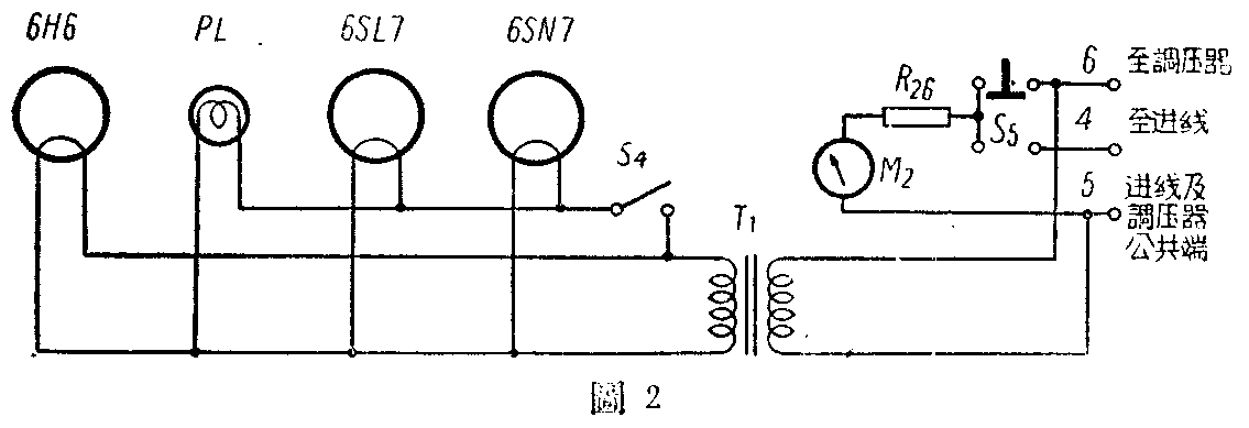
2.测量设备中的灯丝电源,原来是从上面整流层供给的,那就必要先开上面的整流层供给丝压,否则音频电压表没法工作。现在测量设备中增加了一只灯丝变压器T1单独供给丝压,如图2。

3.在有音频电压输出时,把S\(_{2}\)扳向上测阻抗,R6容易损坏。因此,S\(_{4}\)已如图3改接。(成鼎)
