一般小单位的无线电修理工作者和业余无线电工作者,常常由于仪表不够,不能测量较高或较低的电阻和电容量,现在介绍一些用普遍三用表测量以上电阻和电容器的方法,以供参考。
一、测量较高电阻的方法:
根据需耍扩大测量的倍数加大欧姆表的电压和内阻。如图1甲,电表内阻是3千欧,电压是3伏;图1乙,电表内阻是30千欧,电压是30伏。当电表短接时图1甲、乙的电流都是1毫安。但是在测量较高的电阻,如100千欧的电阻时,在图1甲的情况下:I=\(\frac{E}{R}\)=3;100+3=0.029毫安,表针看不出什么摆动,而在图1乙的情况下,I=0.23毫安,表针就摆动得相当明显,差不多到了全表刻度的1/4的地方。所以加大电表的内阻和电压,就可以测量较高的电阻了。

例如有一三用表,测量电阻部分的最大限量是0—100千欧,已知电表电池是3伏,表头是0—1毫安,那么把欧数调到零位时,内阻R=\(\frac{E}{I}\)=3;0.001=3千欧。我们想把这个电表电阻测量范围扩大30倍,那么这时候电池电压应该是3伏×30=90伏,内阻应该是3千欧×30=90千欧,接法如图2。应该注意,如果外接电池是90伏,外接电阻是90千欧,那么加上原来电表的电池和内阻,电池电压一共是90伏+3伏=93伏;内阻是90千欧+3千欧=93千欧,我们在测量电阻的时候就应该把实际表针指救乘31倍而不是30倍。因为这时候电池电压93伏已是原来电压3伏的31倍,电阻93千欧已是原来内阻3千欧的31倍了。

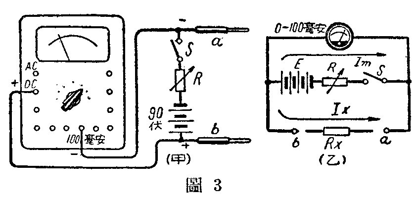
二、测量较低电阻的方法是:
加分流电阻或采用如图3的方法。图3甲是实体图,乙是线路图。在测量前将S合上,调整R使表针指100毫安,这时所有电流通过电表。当ab两端接上R\(_{x}\)时,Rx和电表并联起分流作用,使通过电表的电流减少。R\(_{x}\)越小流过Rx的电流就越大,流过电表的电流就越小。如果R\(_{x}\)恰恰等于电表的内阻,那么电表指针就会指到50毫安的位置。Rx可以由下式计算出来:R\(_{x}\)=\(\frac{Im}{100毫安-IM}\)Rm。Rx是欲测的电阻,I\(_{m}\)是表针指数,Rm是电表内阻。

这种测试方法是I\(_{m}\)越大,Rx也越大,可以事先算出各种低值电阻在测试时表针所指的读数划成表格,测量时就方便多了。
三、测量电容器的两种方法:
1.用交流电压表测量电容器。在有市电的地方(例如220伏50周)可以用三用表的交流电压部分测量电容器的容量如图4接法。当ab短接时电表指示为220伏,当ab两点间接入被测电容器时,电表指数立即减少,接入的电容器C\(_{x}\)越小,由于在Cx上降压越大,所以电表的指数就越小,这样可以根据电表指针的指数来判断电容器容量的大小。如果事先找一些准确的电容器量好指示电压数字,列成表格,可以很方便地查出被测电容器的近似值。

2.图5是用交流电流表测量电容器的方法。当ab两点短接时,调整R使表针指1毫安,R=2200.001=220千欧(可用一个100千欧固定电阻和一个500千欧可变电阻串接)。当被测电容器C\(_{x}\)接入ab端时,电表电流减少,这样可以根据电流的大小来判断电容器的容量,也可以找一些准确的电容器事先量好指示电流数字,列成表格,以便查对。

应该注意用以上两种方法测量电容器时,不能测量电解电容器。(才毅)