不论是交流或直流收音机,都可以根据需要加接永磁式或舌簧式喇叭或耳机。具体接法如下:
1.加接永磁喇叭:如加接的喇叭没有输出变压器,可以把喇叭的音圈同原有喇叭的音圈并联(图1甲)或串联(图1乙)。这种接法,各喇叭同时发音。

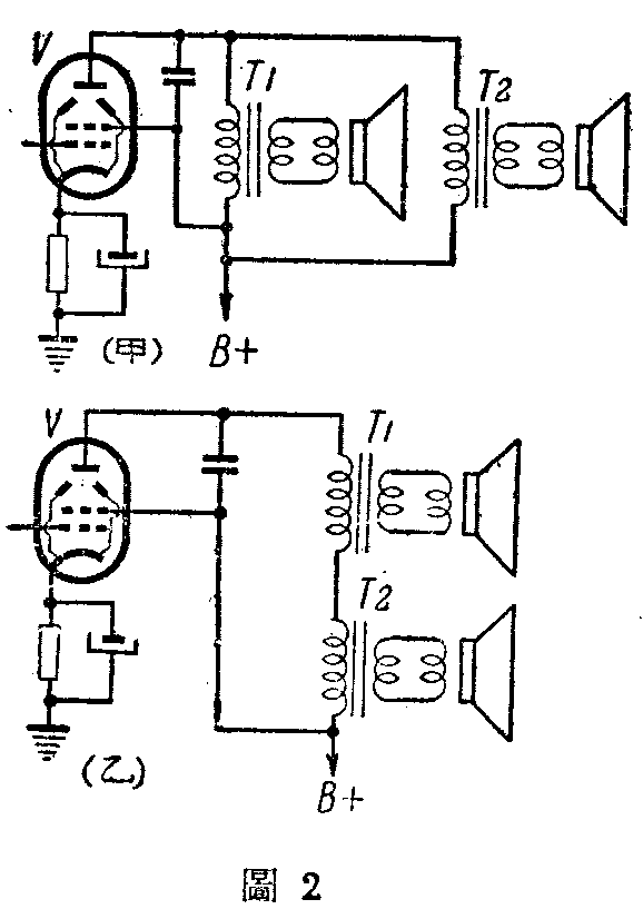
如加接的喇叭附有输出变压器,接法也有两种:并联或串联(图2甲、乙)。

2.加接舌黄喇叭:把咧叭的一端通地,另一端串联一0.1微法固定电容器,接到强放管屏极(图3),这种接法各喇叭也同时发音。口径较大的舌簧喇叭,声音比较悦耳。

加接喇叭时要注意输出回路阻抗的配合问题。例如图1甲中加装的喇叭音圈是和原有喇叭音圈并联的,输出变压器次级负荷阻抗减低,失去配匹,音质和音量都会受到影响。最好能换一只阻抗配匹的输出变压器,效果就比较好。如果不换输出变压器,加接喇叭的音圈阻抗最好大些,那末,和原有喇叭音圈并联后阻抗变动比较小,不过加接喇叭的声音要轻些。
3.加接耳机:一两灯收音机低放管的屏压低,屏流也小,可以把耳机直接接到低放管屏极回路里。如果管数较多,这个办法就不妥当,因为收音机末级强放管的屏流大,会把耳机烧坏,可以用下面几种方法。
一、耳机和喇叭同时发音:把耳机一端通地,另一端串联一0.1微法固定电容器接到低放管屏极上(图4)。

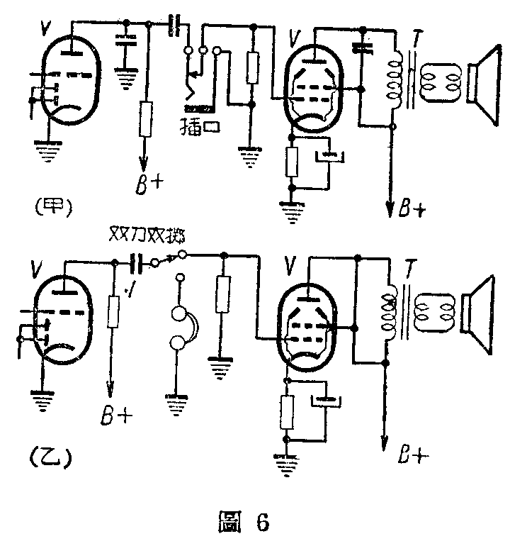
二、关掉喇叭,使耳机单独发音:用两心塞孔或单刀双掷开关,照图5、图6的接法。当耳机插入塞孔或把开关扳向耳机一端时,在图5中喇叭音圈断路;在图6中,强放管输入回路断路,都能使耳机发音。


三、单独使用耳机,图7是用输出变压器、低频扼流圈、电阻和电容配合连接耳机的方法。作用和上面相同。

四、图8是图6的另一种变化,在低放管的输出部分各接一个塞孔,当输入信号很弱时,可以把耳机接在末级电子管屏回路里;如输入信号较强,可改接到低放管屏回路塞孔里,免得声音过响,同时末级也因输入切除无声。

加接耳机,要特别注意不能使耳机麻电。
在一般超外差式收音机中,把耳机装在低放管输出回路上较好(如图6)。因为已有一级低放,音量已够强大,而交流声却较接在强放管屏极输出线路上小得多了。(黄家祥)