我有一架日式标准型立式4管收音机。这种收音机用58作高频放大,57检波,47B低频放大,12F整流。电源变压器次级绕有250伏高压线圈。它的主要缺点是:一、收听电台不多。二、收听远地电台声音低弱。三、选择所要收听的电台时,既要旋转刻度指针,还要调整再生电容器,不方便。再加上由于使用时间已久,效率低。
我利用这架4管机的原有零件,又添了极少量的零件,把它改装成为一架5管长短波外差式收音机,线路见图1。改装后效果良好。

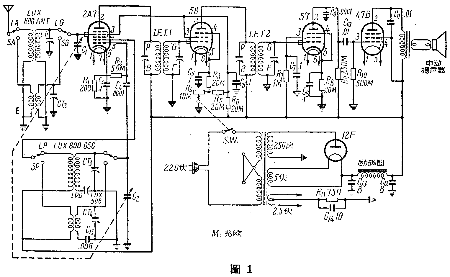
线路中天地线回路线圈及振荡线圈都采用LUX800号线圈,用2A7电子管变频,58中频放大,57强力检波,47B低频放大,12F整流。从线路上所需零件来看,除去原4管机的天地线回路线圈,高放耦合线圈及高频扼流圈拆去不用以外,其余零件几全部适用。需要增添的主要零件只有465千周中频变压器一对(IFT\(_{1}\),IFT2)。LUX800线圈一对,四刀双掷式长短波波段开关一个及变频管2A7一只。
安装时即利用原4管机底板,将中频变压器安装在原来装天地线回路线圈和高放耦合线圈的两孔上,在原来电源变压器附近底板空隙处另凿一孔用来安装整流管12F管座,其余四孔分别用做47B、57、58、2A7各管管座,天地线圈LUX800ANT安装在底板上,振荡线圈LUX800 OSC安装在底板下并与天地线圈垂直排列,改装后底板零件排列见图2。

线路中C\(_{1}\)、C2为双连可变电容器,音量控制器R\(_{4}\)为附有电源开关SW的10千欧电位器。其余小零件如固定电容器,电阻等可根据图1中所列数值选用,如原4管机中内没有的,可以添购一些。
改装后收音机的效果比原4管机优越得多。一、因有短波段,可收听国内外电台的短波广播。二、声音宏亮,收听电台的数量及音量约为原4管机的二到三倍。三、调谐便利,选择电台时只需旋动双连可变电容器,省去调整再生的手续。
图1中,电子管58可以用57代替,12F可用12B代替,2A7也可用6A7代替,但6A7灯丝电压为6.3伏,要单独供给。原机的舌簧式扬声器可用12.5公分的电动扬声器代替,电动扬声器的励磁圈代替低频扼流圈,原来的低频扼流圈可省去不用。(孙钧)