一般万用表测量电阻的范围较小,要扩大测量范围,如测千兆欧的电阻,就只有采用电子管欧姆表。
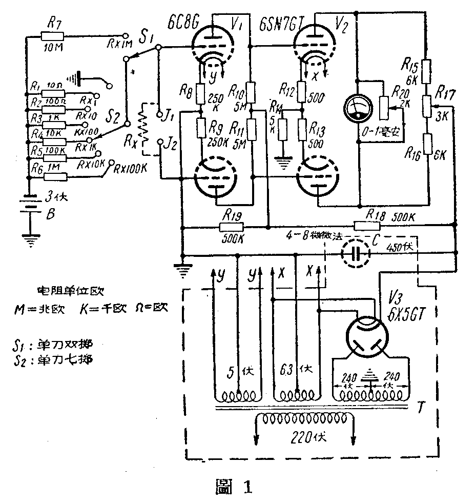
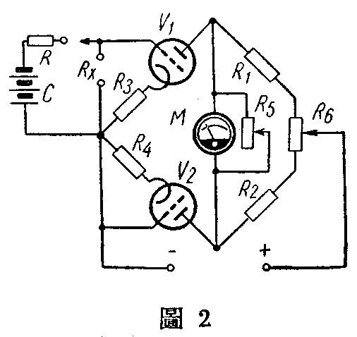
我们由于工作需要,按照图1双管平衡电桥线路,装了一架电子管欧姆表,测量范围可以从0.1欧到1000兆欧,具有设计简单,稳定度高的优点。它的工作原理和单管平衡线路相似,可以用图2简略说明。


图2中V\(_{1}\)、V2和R\(_{1}\)、R2是电桥的4个臂,当工作管V\(_{1}\)的栅极Rx短路时,调节零位调整器R\(_{6}\)使电桥平衡(V1屏阻:R\(_{1}\)=V2屏阻:R\(_{2}\)),微安表M两端电位相等,电表内无电流通过;当V1栅极上加接电压C后,V\(_{1}\)屏阻改变,电桥原来的平衡条件破坏,M两端的电位不再相等,就有电流通过、表针偏转。通过M的电流大小和加接的电压大小成比例。因此,利用电池、标准电阻和被测电阻组成的串联回路,来改变加接到V1栅极上的电压,就间接测得了被测电阻的数值。
为了使仪器保持高度的稳定,V\(_{1}\)、V2需采用同一程式的电子管,但R\(_{1}\)、R2的数值只要大致相同,可以用R\(_{6}\)加以调整,R5是保护电表的分流电阻,使电表指针能偏转到满刻度为限。
图1和图2相比,多用了一只电子管,因此,灵敏度增高,表头M可以改用价格比较便宜的普通毫安表,从经济上看还是合算的。而且多用了一个电子管在测高阻时,误差也小。
图1中采用了双三极管6C8G和6SN7GT,优点是每管的三极部分特性比较接近,平衡容易。而且6C8G一个三极部分的栅极从顶上引出,绝缘优良,在测高阻时由电子管绝缘不良引起的误差,就可以不再考虑。电源部分整流用6X5G。滤波特别简单,只用一只8微法电容器就可以了。
这架仪器只要注意第一级电桥作用管输入回路零件数据的正确性(如标准电阻R\(_{1}\)—R7误差越小越好,在±1%内勉强可用)和绝缘,以及表头刻度的正确,在装置上是没有困难的。
输入回路中的试棒、插座J\(_{1}\)、S1和S\(_{2}\),要求质量高,否则容易漏电,测量结果不易正确。
S\(_{1}\)可以自制,取长20公厘,宽5公厘,高低相互差约1.5公厘的胶木三块。最低的一块厚约25公厘。每块上下各套深约5公厘的1分螺丝口2个,胶木条按高低次序用螺钉把它们互隔2.5公厘,钉在-30×40公厘的厚铝板上。在胶木条的另一面,钉有如图3形状的磷钢片,中间铜片一端和较低胶木条上的铜片紧密相接,如用按钮开关把中间铜片掀下,便和较高胶木上的铜片接触。各铜片的接触点可焊铂点、镀银或镀锡,多使接触电阻最小。按钮用香樵插座改装,在插座一端锯一槽,深约2公厘,在插孔里插入一粗细合适的胶木棍,胶木棍上打一细孔,镶入一小段硬铜丝,使铜丝可以在槽里伸缩。插座就装在面板上。当胶木棍掀下时,中间铜片被推向后和后一铜片接触,同时铜丝由槽中伸出,把胶木棍略微转动,就可以把它固定,不让胶木棍弹回。

测试棒可用普通商品,但要求恨线绝缘好,电阻极小,测低阻时才不易引起误差。接插口J\(_{1}\)的一根试棒外面要用单股细铜丝橡皮线密绕一层,作为隔离层,以免测高阻时产生感应(市上出售的隔离线绝缘不够好,容易漏电,引起误差)。绕成后的试棒如图4。J1也要求绝缘良好,可以把它装在一块30×30公厘的胶木板上,再装到面板上。

表 电表欧姆值刻度(50分格)
(R×1)[刻度(格)=\(\frac{Rx×50}{Rs+Rx}\)=Rx×50;10+Rx
欧数 刻度(格) 欧数 刻度(格)
0.2 0.98 12 27.27
0.4 1.92 13 28.26
0.6 2.83 14 29.17
0.8 3.70 15 30.00
1.0 4.55 16 30.77
1.2 5.36 17 31.09
1.4 6.14 18 32.14
1.6 6.89 19 32.76
1.8 7.26 20 33.33
2.0 8.35 22 34.37
2.2 9.02 24 35.30
2.4 9.68 26 36.11
2.6 10.32 28 36.84
2.8 10.94 30 37.50
3.0 11.54 32 38.10
3.2 12.12 34 38.63
3.4 12.69 36 39.13
3.6 13.23 38 39.60
3.8 13.78 40 40.00
4.0 14.30 45 40.91
4.5 15.52 50 41.65
5.0 16.65 55 42.31
5.5 17.74 60 42.85
6.0 18.75 65 43.33
6.5 19.70 70 43.75
7.0 20.59 75 44.12
7.5 21.43 80 44.45
8.0 22.22 85 44.74
8.5 23.00 90 45.00
9.0 23.70 95 45.24
9.5 24.36 100 45.45
10.0 25.00 200 47.70
11 26.19 500 49.00
12 27.27 1000 49.50
上列零件制成后,即可进行电表表头刻度。我们用的是50分格的表头,增加的电阻刻度(R×1)就直接画在原有刻度上,具体数据见表。如所用电表是40分格,可把公式中的50成40或将表中数值乘以4/5。表面画法是把表面细心地从表头上取下,把它固定在木板上,找出刻度弧的圆心,然后用尺对准圆心点在表面上刻度。
全部零件装在一个斜面长方形金属箱里。斜面板可用厚铝板,其它部分可用铁板(形状如标题旁插图)。箱子的后半部装电源部分,用金属板和前半部隔离。电阻、电池、电子管、S\(_{1}\)、S2和M等,都装在面板的正反面上,装时J\(_{1}\)、S1和S\(_{2}\)要和面板绝缘。
各零件排列见图5,焊接无误后即可试用。接上电源后数十秒钟,电表指针偏转,校正R\(_{3}\)使表针回到零位(这时S2接地)。然后把S\(_{2}\)旋至R×1档,表针重新偏转,再校正R20使表针转到满刻度处(无穷大)。此时如将S\(_{2}\)旋到R×10,R×100……以至最高档,表针应保持不变(最高档可能稍有偏差),证明输入端绝缘良好。另取几个标准电阻,校验刻度是否正确。

测低阻时,如觉试棒接触不紧密,可改用弹性较强的鳄鱼夹子;测高阻时,拿电阻手中的那根试棒要接J\(_{2}\)。在应用过程中,宜常注意零位是否改变(可将两试棒短路),如仪器正常,零位是很少变动的。(吴国梧)