在各种扩音设备中,推挽式放大器※应用得很广。但是这种放大器工作的好坏,决定于供给它输入端的两个交流电压的波幅是否相等,相位是否相反(相差180°)(图1)。产生这种相位相反,波幅相等的电压的专门电路叫做倒相电路或反相电路。本文介绍的是一些常见的倒相电路,并对它们加以简单的分析和比较。

我们知道只要在输入变压器次级线圈的中心抽一个头(图2),很容易得到这样对称的电压。但是用输入变压器有很多缺点:首先是一个良好的输入变压器不仅制造困难,而且价格也很高。如果质量不好,就会使放大器的频率响应不够均匀。其次变压器的体积大而重,携带不便。由于以上缺点、所以除了在某些场合下(例如未级电子管工作在有栅流的情况下)必须应用外,一般经常采用成本低,占空间面积小,频率响应也相当好的由电阻和电容器组成的倒相电路来代替。

图3是用一个普通三极管制成的简单倒相电路,它和一般电阻偶合放大器所不同的是它有两个负荷电阻(R\(_{2}\)和R3+R\(_{4}\)),分别接在电子管Л的屏极和阴极回路里。这两个内阻的数值相等(R2=R\(_{3}\)+R4)。因此,当Л的栅极上有输入电压U\(_{6x}\)时,在这两个负荷电阻上通过的屏流所产生的电压降相同。由电子管放大的道理知道,R2上的交流电压U\(_{1}\)和U6x相差180°,而R\(_{3}\)+R4上的交流电压恰好和U\(_{6x}\)同相。把这两个对称的交流电压加到下级推挽式放大器的栅极上,就保证了推挽级的正常工作。

R\(_{3}\)是电子管Л的自给偏压电阻,直流偏压经栅漏电阻R1加到Л的栅极。但同时R\(_{3}\)上所产生的交流电压降也同样的加到栅极上,因此它完成了电流负回授的作用。这个电路的优点是结构简单、装制容易,由于负回授作用,频率响应就好得多了。但是这种电路也有缺点,最主要的是它的放大率永远小于1,也就是说这种电路没有增益。其次是这个电路的两个推挽臂不是很平衡的,原因是和负荷电阻R2并联的分路电容(包括Л的输出电容、潜布电容和下级推挽放大级一个电子管的输入电容)总是小于和R\(_{3}\)+R4并联档分路电容(包括Л阴极和地之间的电容、潜布电容和下级另一个电子管的的输入电容)。尤其在频率较高时更为显著,为了消除这种不平衡,可以在电子管Л屏极和地之间加一个半调整电容器C\(_{3}\)。但是事实上分路电容的电容量极小,对平衡影响不大。因此,一般放大器里就把它省略了。

图4是利用双三极管的倒相电路。图中电子管左面半个Л\(_{a}\)作普通的电压放大级,放大后的输出电压为U1(U\(_{1}\)=K·U6x,K是Л\(_{a}\)的放大率),这个电压全部加到推挽级一个电子管的栅极上(即栅漏电阻R5+R\(_{7}\)的两端)。Л\(^{б}\)栅极的输入电压就直接从R7上取得,也就是取自U\(_{1}\)的一小部分。由于Лб的工作制、参数和负荷电阻都和Л\(_{a}\)相同,Ul和U\(_{6x}\)的相位相差180°,而Лб从R\(_{7}\)上取得的电压经放大后相位又反了180°,可见Лб放大后的输出电压U\(_{2}\)和Ul也相差180°。Л\(_{б}\)的作用仅把Ul的相角转移180°而并无增益。从上面分析可知,问题只解决一半,即相位达到了相差180°的要求,但是U\(_{1}\)和U2是否相等,那还要看(R\(_{5}\)+R7)÷R\(_{7}\)是否等于K(K是Лб的放大率)。实用上R\(_{5}\)、R7除根据上面的计算外,还要由实验决定加以调整。这种电路的优点是它有一般电阻偶合放大器同样大小的增益,缺点是在频率较高时仍有不平衡的现象。但是应用在一般扩音机中工作已够满意了。
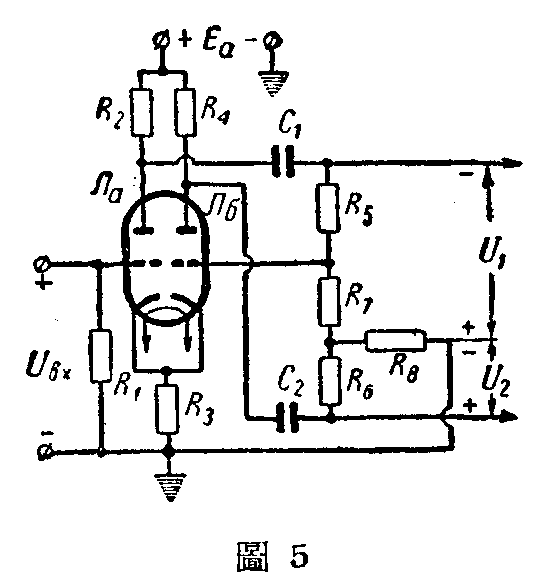
事实上要求图4中的R\(_{2}\)=R4和R6=R\(_{5}\)+R7是不可能的,另外Л\(_{a}\)和Лб的参数绝对相同也是办不到的。因此这个电路中的两倒相臂就难于平衡,U\(_{1}\)和U2当然也不可能完全相等了。图5是一种所谓自动平衡式倒相电路。它和图4基本上完全一样,不过增加了一个平衡电阻R\(_{8}\)(0.1R6-0.5R\(_{6}\))。R8的作用如下。

先假定这个电路是平衡的,在这种理想情况下,Л\(_{a}\)和Лб输出的交流电压在R\(_{8}\)上所产生的电流大小相等,方向相反,因此相互抵消,也就是说R8上没有电压降。这时R\(_{8}\)对电路没有作用。但当这个电路失去平衡,如果U1大于U\(_{2}\),那末,R8上将产生一个电压降△U=(i\(_{l}\)- i2)R\(_{8}\)(i1和i\(_{2}\)分别为Лa和Л\(_{б}\)的输出电压在R8中产生的电流),这个电压附加到Л\(_{б}\)的栅极上,使Лб的输入电压(R\(_{7}\)和R8上的电压降的代数和)增加,Л\(_{б}\)的输出电压U2也随着增加到接近于U\(_{1}\)的数值。如果情形相反,U2大于U\(^{1}\),那末,在R\(_{8}\)上产生的电压降△U的正负符号和上列情形相反,Лб的输入电压减小了一个△U的电压,输出电压U\(_{2}\)也随着减小并接近至U1。
图中Л\(_{a}\)和Лб的自给栅偏压电阻R\(_{3}\)=Ec÷2I\(_{p}\)千欧,式中Ec是Л\(_{a}\)(Лб)的栅偏压,单位伏,I\(_{2}\)是Лa(Л\(_{б}\))的屏流,单位毫安。
我们知道Л\(_{a}\)和Лб屏流的交流成份在相位上相差180°,因此,它们在通过R\(_{3}\)时就相互抵消,R3上即使没有并联的傍路电容器也不致于引起电流负回授的作用,同时省掉了这只也容器还有助于电路的平衡。因为当两电子管的屏流大小不相等时,R\(_{3}\)上就出现一个电流差,它所产生的交流电压降分别加到两个电子管的栅路内,对屏流较大的那个电子管说,这个电压起着负回授作用,使屏流减小;而对屏流较小的电子管说,这个电压起正回授作用,使屏流增加,结果使它们的输出电压U1和U\(_{2}\)趋于相等,也起到自动平衡的作用。

图6是另一种自动衡式倒相电路,它的作用原理和图5一样。不过节省了一个电阻,但平衡效果不及图5。这两种电路的优点是能够自动平衡,不会因为电阻抽头不准确或Л\(_{б}\)放大率变动而影响平衡,装制比较方便,所以在扩音机中常被采用。


最后再介绍一种比较简单的倒相装置,它不需要单独的倒相级,因此可以用普通的不对称输出来激励推挽级。从图7中可见,功率放大管Л\(_{2}\)的反相电压是从Л1屏路里的分压器(由R\(_{3}\)、R4组成)上取得,因为这个电压和U6x相差180°。电阻R\(_{4}\)的大小应使它上面的交流电压降等于U6x,R\(_{5}\)应等于R3+R\(_{4}\),它的作用仅使输出变压器T的初级圈两端对地平衡。为了不影响T的负荷阻抗,R5的大小应该比输出管屏与屏之间的阻抗大5倍。图中C为断流电容器,R\(_{2}\)为自给偏压电阻,R1和R6是Л\(_{1}\)、Л2的机漏电阻。图8和图7的区别仅在于Л\(_{2}\)的反相电压取自Л1帘栅回路的电阻R\(_{4}\)上,它的大小由帘栅流里的交流成份Iэ和R\(_{4}\)的乘积决定。这个电压和图7相同也要求等于U6x。这种电路的优点是使放大器的结构大为简化,因此降低了成本。但是它和前面所讲的电路比较起来,非线性失真和干扰有所增加,仅在要求质量不高的放大器中才被采用。(蒋焕文根据苏联“无线电”杂志1955年第1期编写)
*请参阅本刊1956年3期28页“推挽式放大器的好处”一文。