钢丝录音机的机械传动部分
1.要求 对钢丝录音机机械传动部分的要求是在录音或放音时能带动钢丝不断运行,好让钢丝在录音头线槽里迅速通过,进行录音或放音。当钢丝从供线盘经过录音头被绕到受线盘上时,走线速度是每秒60公分,录音或放音完毕要把钢丝倒回供线盘时,为了节省时间,倒线速度可以提高到每秒210公分。
钢丝在运行中,如绕得不紧,容易松散,尤其在关闭马达,突然停车时,钢丝松散,会脱下盘来。因此,对供线盘和受线盘要有制动装置。另外,也要求录音头能在规定的幅度内作上下升降运动,帮助排丝,使绕到供线盘或受线盘上的钢丝,排列得很整齐均匀。
2.传动方法 图4是录音机的机械结构图。动力由马达F供给。F用螺钉L、J悬挂在上支撑板A的下面,由放在F上盖板凹槽里的开关H上的钢丝K控制,可以使F以J为中心向左右移动(L在槽U中左右移动)。当H拨向右,轴承D和传动轮N靠紧,带动O轮旋转,钢丝被拉就从供线盘绕到受线盘上,进行录音、放音。当H旋向左,D和N松开,E和M靠紧,M旋转,又把钢丝从受线盘拉回绕到供线盘上,供下一次录音或放音。

3、零件说明 甲、我们用的是110伏30瓦,转速每分钟约1030转的小马达。为了保证在录音、放音和倒丝时达到规定的速度,各传动轮、轮轴的直径应有一定的尺寸。例如我们采用的受线轮的直径
O=\(\frac{马达每分钟转速}{60}\)×马达轴承直径D×π×受线盘内径;要求每秒走线速度≈8.5公分,
供线轮的直径
M=\(\frac{马达每分钟转速}{60}\)×传动轮E×π×供线盘直径;要求每秒倒线速度≈6公分。
如果所用马达转速不同,可以参考上面公式计算。
乙、传动轮N的大小对转速并无影响,它固定在金属片1上可以自由旋转,金属片1套在固定在盖板A上的螺丝2上,金属板I上另用一弹簧把它拉紧在图4中的螺丝R上,由于弹簧的拉力,在录音或放音时使N、D和O都能紧密靠拢。
各传动轮的尺寸见图4,如摩擦力不够,可以套上橡皮圈或涂上较厚的漆。
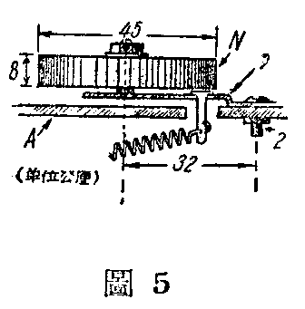
丙、排线结构 我们用的供线盘、受线盘高度是13公厘,钢丝直径为0.09公厘,照理每层可以绕144圈。但试验结果不好,最后我们采用每层排线32圈。采用图6的机械结构。蜗杆P是利用废电表(即家用的电灯火表)中的现成品,把它装固在受线盘旋轴的下端,另外配一个64齿出蜗轮Q,使P转64圈时Q才转1圈。Q轮一端装一凸轮1。如图6中当Q照箭头方向旋转时,凸轮1在3处把杠杆2压向下,杠杆2的4处向上,把录音头从插孔S中向上顶起;当凸轮1隆起的尖端旋过3时,录音头受弹簧5的弹力作用,把它逐渐拉下。凸轮这样重复的一周周旋转,录音头就作有规律的上下升降运动。
杠杆2上的6是支点,从6到3和6到4的长度应相等,否则录音头上下运动的距离将按杠杆放大或缩小的比例增减,影响排丝。
凸轮的最大半径和最小半径之差应等于供线盘和受线盘的排线高度13公厘,它的设计,可按图7把圆周16等分,在大、小圆间再8等分各画同心圆,按图示取得各点,再把各点连成曲线即成。


丁、录音、放音控制开关H在录音或放音时(即正向运行),对供线轴要加一定的制动力,使钢丝拉紧。但当H从右(录音、放音位置)板向中间停止位置时,D和ME和N脱离,各盘停止旋动。但一定要使供线盘先停,否则钢丝就会松散。因此这时对供线盘要加重制动力,受线盘加轻制动力。当H由中间位置向左开始倒线(反向运行)时,供线轴要取消制动力,受线轴的加轻制动力。倒线完毕,H 由左拨回中间停止位置时,这次要求恰和上次在中间位置时相反,受线轴要加重制动力,供线轴要加轻制动力。对这样一个复杂的运动,我们是通过一套凸轮来完成的(图8)。
H轴上带有一串偏心轮,定位轮1是焊在轴H上的,轮上有三个凹槽各成45度角。2为用弹簧3顶着突出在套筒外的钢球,装在上盖板A上。2和1上的凹槽要配合,使H能准确地固定在右、中、左三个位置上。1下面的轴上镶有一根1.5公厘粗的弯曲钢丝K,嵌在马达上盖板的凹槽里,旋动H时,K迫使马达绕J向左右移动。这根弹簧的弹性要求稍大,使D、E和O、N能够压得很紧。5是带动马达开关拉杆6的金属圆片,8和13两套环间装有供线轴制动凸轮9,9在H轴上可以自由转动,10是焊在H上的金属片,上面装有固定止钉11,11又插在9的凹糟里,使9只能旋转22.5度的角度。受9旋动时就把制动杆G推开,由于凸轮在不同的角度上有不同的半径和弹簧W的拉力,使供线轴得到轻、重制动力或取消制动力。同样,15为套环,13为装固在10的止钉,下端嵌在控制制动杆T的凸轮14的凹槽里。14旋转角也是22.5度。凸轮9、14的凹槽宽度等于22.5度再加止钉的直径,否则旋传角度就达不到22.5度止钉11和13的位置相差45度,H轴的三个位置要定得很准,这三点在制作时,要特别注意,否则动作不灵。制动动作原理由图9表示。

马达开关我们利用旧电位器上的开关改装,把后盖打开,在里面的拨杆上焊一厚铜片,铜片从侧面胶木部分穿出,拨动铜片,就可以使开关开、闭。这部分胶木要用锉刀开一狭槽,使铜片可以左右自由拨动。然后把铜片和用连杆6和5连在一起。
这架机器的上下支撑板、轮轴等用铁制,各传动轮、凸轮、蜗轮等用黄铜。(北京机器制造学校 陈重午 曹雅儒 傅文耀 龚江明)

