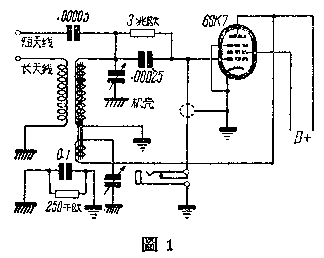
国营上海无线电厂出品的135型交流三灯收音机,照原说明书拾音器的接法,是用隔离线的心线接检波管6SK7的栅极,外面的包层线接地(图1)。 经我们试验的结果,拾音器音量够用,但对收音的影响很大,在沈阳地区只能收听1070千周的沈阳电台,而收不到1430千周的辽宁电台和1430千周以上的各电台。原因是6SK7栅极上加了一根长约10公分的隔离线,等于在棚阴极间加了一个电容器,增加了调谐回路C\(_{1}\)的电容量,所以频率较高的电台就收不到了。


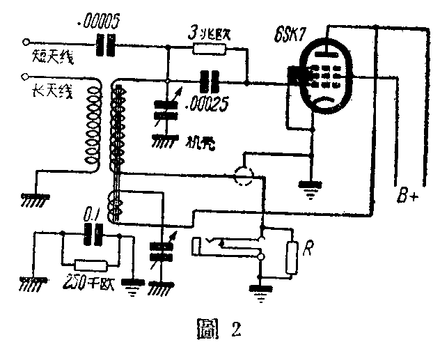
根据以上缺点,我们把它改成图2的接法。这样,不但拾音器输出声音宏大,同时也能收到频率较高的电台,不再受隔离线长短的阻止了。R值可用1.5千欧到2千欧、R值增大,声音也大,可根据需要决定。如改用一个50千欧的电位器,那就更好。(赵魁元)