我国的新产品Ty250/1000型有线广播成套设备中,有一套专供测试线路或其他机件用的测量设备。这套设备装置在放大器机架的第四层上(从下往上数),结构简单,运用起来非常方便。利用这套设备除了可以测量线路和其他机件的直流电阻、绝缘电阻、阻抗和交流电压外,还可以输出400周的音频信号,供给调整放大器和测量线路衰减等使用。

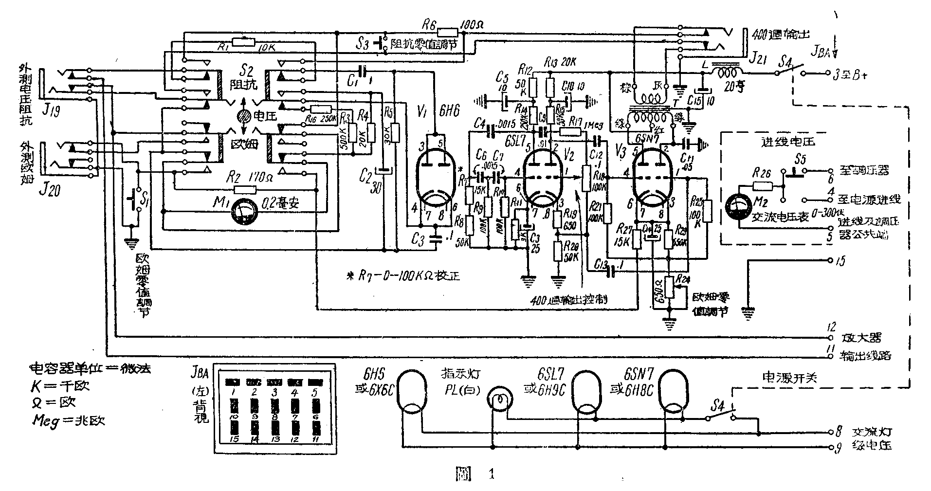
测量层的线路如图1所示。共用三只电子管工作,双三极管6SL7(V\(_{2}\))的左半只接成一个400周的内阻电容式振荡级,相移网络由电容C4、C\(_{6}\)、C7和电阻R\(_{7}\)、R8、R\(_{9}\)、R10组成。V\(_{2}\)的另半只作倒相器。振荡级产生的信号经倒相级后送到双三极管6SN7(V2)上。V\(_{3}\)的两个栅极信号分别取自前一管(V2)的屏极和阴极,所以相位正好差180°。这两半个三极管合起来构成一级推挽放大,它的输出经变压器T'送到音频输出插孔J\(_{21}\)上,并且由这个插孔的接点转接到测量选择电键S2,以便测量阻抗时利用。电子管6H6(V\(_{1}\))的两个二极管并接起来,在测量交流电压和阻抗时作为直流毫安表(M1)的整流器。测量层不另设电源整流器,它的直流电源直接由放大器的整流设备供给。另外,测量盘上还设有测量电源电压的电压表(M\(_{2}\)),可以监查电源电压和调压器的输出电压。全部线路通过接线插塞J8A连到交流电源、直流电源和放大器的输出线上。测量层的面板排列见图2。

平常,在放大器工作时,测量选择电键S\(_{2}\)放在中间“电压”的位置。这时相当于图3的电路。放大器输出线由接线插塞的J8A的11和12两端子引入测试层,输出信号经插孔J\(_{19}\)和电键S2的接点,再通过电阻R\(_{1}\)和电容器C1到整流管6H6的屏极。在整流管的阴极负荷电阻R\(_{16}\)及R3上串入直流电表M\(_{1}\)。因此,在平常工作时,电表即指示出放大器的输出电压。 倒换输出控制层上的监听开关,可以监查每套250瓦机层的输出电压。利用插孔J19还可以测量外部的其他交流内压,当J\(_{19}\)的插塞插入时,放大器输出线路就自动和测量层脱离,电表即指出外测电压的数值。电压测量的范围是0-180伏,误差不大于±5% ,被测电压的频率在60-8000周范围内时,响应不超过±1分贝。

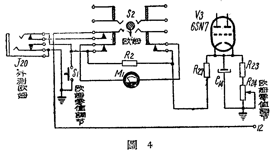
当把测量选择电键S\(_{2}\)扳到“欧姆”一侧时,就可以测量直流电阻或绝缘电阻。这时的线路如图4,测量用的直流电压由音频振荡器推挽放大级(V3)的栅偏压电阻R\(_{23}\)和R24上取得,这个电压的大小可以调整可变电阻R\(_{24}\)来改变。测量电阻时,回路里串入一个15千欧的电阻R24,另外还有R\(_{2}\)并联在电表上做为分路。测量线路的直流电阻或绝缘电阻的步骤是先把放大器和输出线路切断(把机架的后门打开即可),将电键S2扳到“欧姆”一侧,把400周输出控制电位器R\(_{18}\)关到最小,使振荡器没有音频输出。掀下按钮S1,用欧姆零值调节电阻R\(_{24}\)调节电表M1到满刻度(0欧),放开S\(_{1}\),电表退回表面刻度度∝欧处。此时即可控制输出线路的分路开关(在输出控制层上)未测量各路馈线的直流电阻及绝缘电阻但需注意,在测量单线回路的时候,应把架空线的一端连到接线插塞的第12端子上,地线一端连到插孔J20的接地端上。同时在测量双线回路的直流电阻时,也须把接线插塞上端子11的线引到插孔J\(_{2}\)0的接地端处。利用插孔J20还可以测量其它线路和机件的直流电阻。当J\(_{2}\)0的插塞插入时,输出的馈线即自动和测量线路断开。直流电阻的测量范围是500-250千欧,测量误差不大于±5% 。

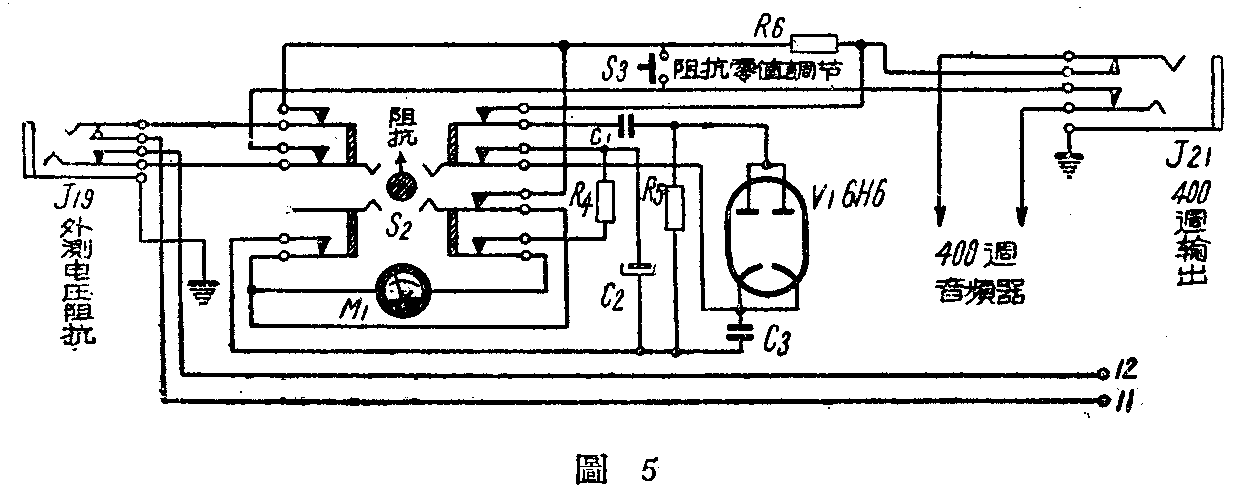
当电键S\(_{2}\)扳到“阻抗”一侧时,可以测量线路或其他机件在400周时的阻抗绝对值。这时的线路如图5。由音频振荡器输出的400周信号经J21的接点和S\(_{2}\)以及J19的接点送到被测线路,在被测阻抗和音频信号输出端间串入一个固定电阻R\(_{6}\) ,用和前面测量电压相似的电路测量R6上所跨的电压,并换算成被测阻抗的阻值后,把它分度刻在电表M\(_{1}\)上。测量时先把机架后门打开,使输出线和放大器切断,掀下阻抗零值调节按钮S3,调整400周输出控制的电位器R\(_{18}\),使电表M1到满刻度,放开S\(_{3}\),就可控制输出线的分路

开关测量每路馈线或所有各路馈线的阻抗。另外,用J\(_{194}\)还可以测量其他线路或另件在400周时的阻抗,测量范围为10—3千周,误差不大于±5%。
此外,由插孔J\(_{21}\)处还可以输出400周的固定音频信号来调整放大器输出电压,测量馈线衰减或测试其他设备。音频信号的输出电平为+20分贝,非线性失真小于3%。(林宁)