目前扩音机使用的数量很多,由于用途不同,选用的扩音机,它的输出功率大小也就不会一样。但不管功率大小,扩音机的末级输出差不多总是用输出变压器送到喇叭上,喇叭的大小和输出功率在设计制造扩音机时是保持了一定关系的。使用时若喇叭用的不合适,往往会引起末级电子管屏极发红,有时也会烧坏喇叭。为了使使用扩音机的同志们对这问题有个概念,下面就作一些简单的解释。
一、扩音机的末级放大是怎祥考虑的
在设计制造扩音机的时候,总是根据使用人要求的输出功率,选用适当的电子管和适当的电路。电子管可以用三极的也可以用五极的或束射式的,一般比较大的扩音机,比如说几百瓦的扩音机往往用三极管,而比较小的扩音机就多用五极管或束射式电子管。

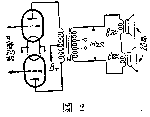
在电路的选择上功率较小的(例如10瓦以下的)可以用单只电子管,也可以用两只电子管并联(图1)。功率输出大的扩音机,往往用推挽式放大(图2)。图1、图2的电路中如所用的电子管程式相同,那么,推挽式放大比用一只电子管或两只电子管作并联放大时,在输出功率上都要大。

除去选择适宜的电路形式外,还要考虑从推动级(就是末级以前的一级)送到末级放大级栅极上的音频电压和栅偏电压的大小,这样放大级的放大形式又可以分为甲1类放大和甲乙1类放大等等。
不管用的是哪种电路,也不管用的是哪种放大形式,在放大级的屏极电路里应接上多大的负荷电阻,决定于放大级的电路、选用的电子管程式和放大的种类。负荷电阻太大或太小都不能使输出功率达到最大。
二、输出变压器和负荷电阻有什么关系?
扩音机上功率放大级的输出必须接在喇叭上,使电功率变成机械能,再由机械能鼓动喇叭口周围的空气才能听到声音,达到扩音的目的。但是一般电子管功率放大级的负荷电阻往往需要上千欧,而配接的喇叭音圈阻抗仅有几欧或十几欧,若把喇叭直接接在电子管的屏回路里,由于喇叭音圈的阻抗和放大级输出最大时所需要的负荷电阻数值相差悬殊,喇叭里一定放不出多大声音来,必须另设法经过一种简单的设备,通过这种设备接好喇叭以后,在功率放大电子管的屏回路上刚好有使输出达到最大值的电阻。这种简单的设备不是别的,就是输出变压器。
输出变压器为什么能把喇叭音圈很低的阻抗变成很高的阻抗呢?这就不能不谈谈变压器的基本道理了。
一般作输出用的变压器都用比较大些的铁心,在铁心上绕上两个线圈,一个圈数多的叫初级圈,一个圈数少并且带有几个抽头的叫次级圈。初级圈接在放大级电子管的屏回路里,喇叭就接在次级圈的适当抽头上。

我们知道,在变压器的初级圈上(图3)加了交流电压以后,就会有个很小的电流流过初级图,这样铁心里就会有磁力线出现,因为初级圈和次级圈是绕在同一个铁心上的,所以这磁力线对初、次两个线圈说是公共的。铁心中磁力线的数目跟着所加的交流电压变动,磁力线数目的变动会使绕在铁心上的每一圈感应出相同的电压来,例如初级圈是1000圈,所加电压是100伏(感应出来的电压也是100伏),每圈便有0.1(100/1000)伏的感应电压。次级圈若是50圈,则次级圈上就会感应出0.1×50=5伏的电压来。因此初级圈上所加电压被初级圈的圈数除,必和次级圈上所感应出来的电压被次级圈的圈数除相等。若用E\(_{1}\)和E2代表初、次两线圈的感应电压,N\(_{1}\)和N2代表初、次两线圈的圈数,那么E\(_{1}\)/N1就等于E\(_{2}\)/N2或E\(_{1}\)/E2等于N\(_{1}\)/N2。

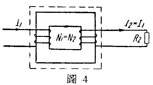
若次级圈上接了个负荷电阻R\(_{2}\),必会有个电流I2从次级圈的一个接头上流出来,通过R\(_{2}\)再回到另一个接头完成回路。当次级圈里有电流时,因为这个电流也要在铁心里产生磁力线,使原有磁力线减少,影响初级圈的感应电压,于是初级圈上便有电流I1由电源流入来抵消这个磁力线数目的变化,使次级圈的电流可以继续流动。因此次级圈上有电流以后所输出的功率,便完全由电源来供给。若变压器的初、次级圈数相等,并且没有损失,I\(_{2}\)必和I1相等,I\(_{2}\)好像是直接由电源流来一样(图4)。这样次级圈的输出功率E2I\(_{2}\)便等于由电源送入初级圈的功率E1/I\(_{1}\)。
我们可以这样想,把变压器拿掉,在原来接变压器初级圈的地方改接一个电阻R\(_{1}\),只要能使R1上所吸收的功率和原来由电源供给的功率E\(_{1}\)I1一样,对电源来说,有没有变压器都是一样的。
实际上我们是有R\(_{1}\)的,R1就是功率放大器屏回路里所需要的负荷电阻(参考图5),现在的问题是怎么才能把R\(_{2}\)通过初、次级圈数不等的变压器来使它等于R1呢?其实这也不难,我们上面已经找到了两个关系,再加上一个E\(_{1}\)I1=I\(_{1}\)\(^{2}\)R1和E\(_{2}\)I2=I\(_{2}\)2R2的关系就可以办得到了。

从上面这些关系中,我们知道了(E\(_{1}\)/E2)\(^{2}\)=(N\(_{1}\)/N2)2,而(E\(_{1}\)/E2)\(^{2}\)又等于(I\(_{1}\)/I1)2,所以(N\(_{1}\)/N2)\(^{2}\)=(I\(_{2}\)/I3)2;(I\(_{2}\)/I1)\(^{2}\)又等于R\(_{1}\)/R2,所以(N\(_{1}\)/N2)2=R\(_{1}\)/R2。这样就得到R\(_{1}\)=R2(N\(_{1}\)/N2)\(^{2}\)。有了R\(_{2}\)和变压器的圈数比N1/N\(_{2}\),就可以通过变压器把R2的数值表现到初级圈方面,用R\(_{1}\)来代替了。这样代替了以后,对输出功率来说和不代替的情况完全一样。在推挽式甲类放大器上,因为每只电子管只利用初级圈的一半,令每一半等于N1,则屏和屏间总的R=4(\(\frac{N}{_{1}}\)N2)2R\(_{2}\),对于每一管来说R1=2(N\(_{1}\)/N2)\(^{2}\)R\(_{2}\)(图5)。R2就是我们要接用的喇叭音圈的阻抗,只要选对了变压器的圈数比,问题就解决了。
变压器的损失很小,而且又有这样一个可以把低阻抗通过它变成高阻抗、或把高阻抗通过它变成低阻抗的作用,所以扩音机的末级输出一般都用它来耦合喇叭。
三、喇叭不能随便接
上面我们谈到,只要知道了喇叭音圈的阻抗,再选用圈数比适当的变压器,就可以把音圈阻抗通过变压器的交换,达到使放大级有输出功率最大所需要的负荷电阻,好像问题已经解决了。其实不然,还要注意一个很重要的问题,就是喇叭能不能响、喇叭音圈会不会烧坏的问题。
喇叭的种类很多,有10瓦的20瓦的等等,但它们的音圈阻抗有的可能相同,比如音圈阻抗都是8欧,我们是否可以随便挑个喇叭,不管它的功率有多大,只要是8欧便接在变压器次级注有8欧的接头上呢?不行,随便挑一个有时是会出毛病的。
为了说明这个问题,我们举下面的例子:有两只电灯泡,电阻都是300欧,一只是110伏40瓦,另一只是220伏160瓦,假如把110伏40瓦的一只接在220伏上,通过的电流要高一倍,不久灯丝就要烧断。把220伏160瓦的那只接在110伏上,电流要减小一半,因而不亮,这是因为虽然电阻都一样,所需要的电压并不相同的缘故。
同样,在一个输出功率20瓦的扩音机上,在变压器次级注有8欧的地方接上20瓦的喇叭刚合适,若按上10瓦喇叭,虽然音圈也是8欧,但通过的电流要大一倍,因而容易把音圈烧断。相反,若在10瓦的扩音机上接上个20瓦的喇叭,声音就不够响。因此若没有适当的喇叭而必须使用小功率的喇叭时,扩音机的音量控制器要适当控制,不能开大。
另外若我们接了一个音圈阻抗很小的喇叭,功率放大级的屏路负荷阻抗便很小,因此放大器上的音频功率将有很大一部分消耗在电子管的屏极上,使屏极过热发红,缩短电子管寿命,喇叭反而不响。(羽)