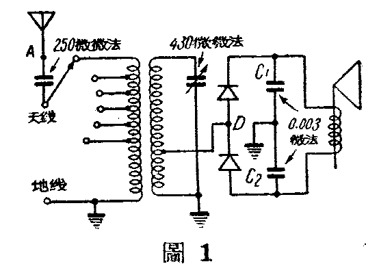
图中采用抽头线圈,使它的品质因数(Q值)尽可能的提高,得到最大的音量。而且,选择性也好。在这一点上,线圈管的直径和绕成后线圈的长度关系很重要,请大家用实验的方法找出最好的方案。天线线圈每10圈抽头,用分线轮转换。为了避免次级线圈接了喇叭后,它的Q值降低,发出的声音减轻,所以它的负荷从抽头上接出。抽头位置在接地端上面大约等于全部线圈圈数1/3的地方。由于所接喇叭不同,制作时可以在这附近凑试一下,找到声音最响的一点。线圈绕法见图2。矿石用普通的就可以了。
如果使用电灯线代替天线(在电灯线上包一层香烟锡纸,再在上面用绝缘铜线绕若干圈,一端空着不接,一端接到图1中A点),再用一根铜线接到自来水管上当地线,那么,在一般的房间里,可以清楚地听到本地电台的广播。(葛运凌根据日本“电波科学”1954年10月号改编)

