我们为了收听北京的声音,利用业余时间,花了70元代价,自已安装了一部简单的外差式收音机。装好后用一根一公尺长的垂线接到天线上试听,在福州市除能够清楚地听到北京电台的广播外,也听到了浙江、江苏、江西、广东和一些外国电台的广播,声音虽比不上用6V6管那么响,但在一间房间里收听时,大家都听得很清楚,满足了我们的愿望。

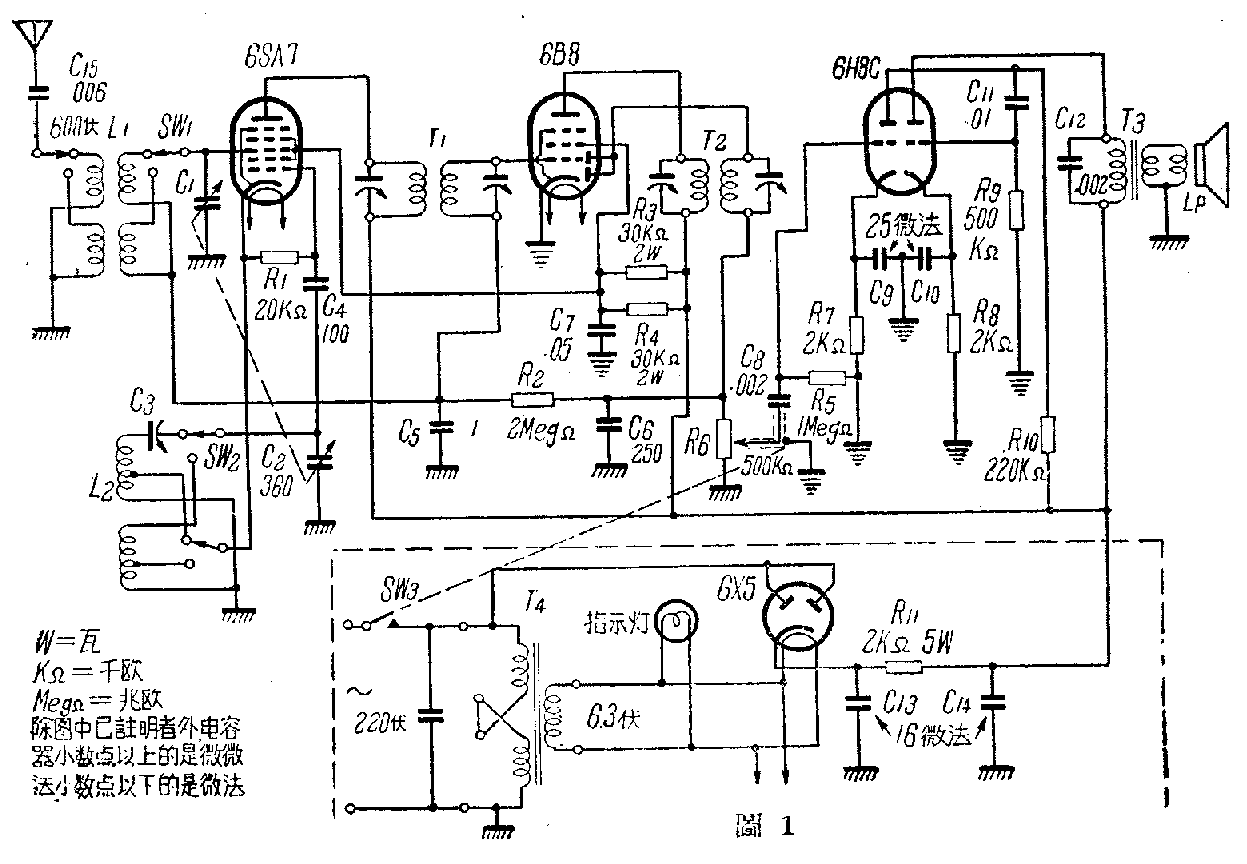
这架收音机的线路不算复杂(图1),和一般5灯机差不多,只用4只电子管:6SA7混频;6B8中放和第二检波兼自动音量控制,6H8C(6SN7)第一低放和强放,整流管因全机所需屏流很小,我们用1/26SN7(另半只已烧坏),读者可用6X5管比较安全。
图中电源变压器T\(_{4}\)的高压是利用初级线圈直接把市电电源整流得来,因此机壳带电,双连电容器C1、C\(_{2}\)、音量控制器R6和长、短波波段开关的旋钮螺丝,不能用手碰触,最好在装好后用火漆把它们封起来,以免一不小心就触电。


全机装在21.5×12×4公分的金属底板上,零件排列位置见图2、图3。由于底板小,底板下零件排得很挤。图3中的永磁喇叭(装在木箱里,照片上未能照出)靠近T\(_{4}\),容易漏磁,减弱喇叭的磁性,可把图2中T4和整流管的位置对掉一下。
图2中T\(_{4}\)和T3中间的一个小圆筒形灯座,是喇叭接线插座,喇叭接线接到一个坏了的小指示灯脚上,再把它拧入插座,需要把收音机从木箱里取出时,就不必从木箱上拆下喇叭。
这架机器由于机壳带电,所以在使用时不能接地线。(朱恒模)