我们铁路系统的电信设备中,在各个路局和大工厂里都装有一种电话会议机,通过这种机器,许多领导部门可以像面对面开会一样大家商谈,及时地了解情况或指挥生产,布置工作。

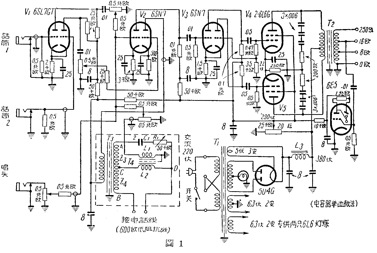
这部机器的线路见图1,它实际上是一部25瓦的扩音机,不过增加了一些开电话会议用的附属设备,在做扩音用时,用话筒1,和一般扩音机工作相同。在做开电话会议用时,用话筒2,话音电流经过V\(_{1}\)(6SL7GT)和V2(6SN7)右面一半的三极管放大后,经变压器T\(_{3}\)交连,输送到电话线路上。从电话线路来的对方话音电流又经T4输入V\(_{2}\)管左半面的三极管,再经过V3和推挽放大管V\(_{4}\)、V5从喇叭发出声音。这个线路中有用平衡电桥网络的消侧音装置(图中虚线方框内的零件线路),使话筒2输出的语音电流不致回授到输入回路,在喇叭里听不见自己说话的声音。

图2表示平衡网络的原理。T\(_{3}\)的次级实际上是电桥的两臂,C1和R\(_{1}\)及电话线是另外两个臂。当用话筒2讲话时,T3的A、B两端有音频电压加到电桥上,在电桥的B、D点上同时就有音频电压接到电话线路上,电话线路可以看作一个阻抗Z\(_{2}\),而C1和R\(_{1}\)所组成的阻抗我们叫做Z1。如果调整R\(_{1}\)使电桥各个臂的阻抗有Z1Z\(_{4}\)=Z2Z\(_{3}\)的关系,电桥就平衡,这时T4的线圈L\(_{2}\)两端C、D间,就没有音频电压,L1也无输出,因此没有电压加到V\(_{2}\)管上,喇叭里就不会发出声音。但是事实上Z1的调整不可能使电桥达到完全的平衡,但是调整得好,喇叭里的声音极小,影响不大。相反的,当有音频电压由电话线上加到电桥的B、D点时,桥上C、D点间就有音频电压,所以喇叭会响。

这种平衡网络,也可以用图3的电阻代替,效果同样良好。

T\(_{3}\)和T4的铁心,要用上等矽钢片,也可以用截面积为12.5×12.5平方公厘的输出变压器铁心代替。T\(_{3}\)是降压变压器,初级用直径0.12公匣(相当于40号)的漆包线绕5000圈,次级用同号线绕500圈,中心抽头,在铁片所组成的磁回路上,应留出一张薄纸那么厚的空隙。T4和T\(_{3}\)相同,不过初、次线反接成升压变压器,初级的中心不用抽头。这种机件安装不难,但必须保持杂声和交流声很小。6SL7GT管最好用弹簧底座,或把底板上6SL7GT管座孔挖大些,把管座装在一块副底板上,再用橡皮垫和弹簧把副底板钉在底板下面,如图4。这样可以防震,减少杂音。其余各零件要装得牢,尤其是变压器的铁片要夹得紧,尽量消除可能引起震动的来源。6SL7GT的两个屏极负荷电阻也是容易产生杂音的地方,电阻温度愈高,“热骚扰”愈利害,杂音也愈大。因此,这两个电阻的瓦数要稍大。
各个变压器都要有静电隔离,如图1所示,而且T\(_{3}\)、T4和T\(_{1}\)、T2要离得远,最好分别装在铁罩里,避免它们的漏磁相互感应。T\(_{1}\)、T2和L\(_{3}\)最好也是这样装法。使用时,加接一根地线,可以把交流声降得很低。(张昌余)