单管再生式收音机,一般都用三个线圈,就是:天线回路线圈,调谐回路线圈和再生线圈。三个线圈用的线较比多,占的地位也大,再生线圈接反了还不灵。这里介绍一种只用一个线圈的办法。线路如图1,主要零件下面详细说明。

1.线圈L的绕制 用大号手电筒干电池的厚纸壳做线圈管,在一端离边8公厘的地方,沿圆周大概等分成六份(不要用铅笔划线,因为笔铅会漏电),用洋钉打6个小洞,装上五个套有焊片线的铜鞋眼圈1、2、3、4、5和一个没有套焊片的铜鞋眼圈6(图2)。绕线开始时,用粗针在线圈管另一端离边6公厘处,对准鞋眼圈穿两个很小的孔眼,用0.25公厘直径漆包线的线头打第一个小洞穿进,从第二个小洞穿出,再穿进第一个小洞,经管内从鞋眼圈1穿出,刮去头上绝缘漆,在焊片上绕4—5圈,剪去多余的,然后开始绕线圈。

顺着鞋眼圈编号次序的方向绕线,慢慢地细致地绕,漆包线一圈挨着一圈,紧密地贴着线圈管。但不要用力过猛,压扁了线圈管。
绕满第56圈时抽一个头。方法是用粗针在管上对准鞋眼圈2处,穿一个小孔,将漆包线对折一段,双股穿入,又从鞋眼圈2穿出,刮去头上绝缘漆,两股同时绕在第二个焊片上。然后继续绕线圈。
用同样方法,在绕满第74、83圈时,也各抽一个头。
最后总共绕满109,按绕线开始时的同样方法,对准鞋眼5打两小洞眼,将漆包线在线圈管上来回穿一次,以免松脱,并将线头从线圈管的里面穿出鞋眼圈5,刮去头上绝缘漆,绕在第五个焊片上。
末了在各焊片上点上焊锡,把几个线头焊牢,线圈便绕完了。
没有套上焊片的鞋眼圈6,是预备安线圈弯脚支架加螺丝装在机壳上用的。
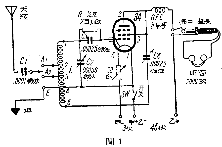
2.可变电容器C\(_{2}\)单连或双连可变电容器都合用,双连的实际上只用得着其中的一连,另一连空着。以后我们还可利用它来做高放式或外差式的收音机。
3.电容器C\(_{3}\)和栅漏电阻R可用纸质的或云母的固定电容器和炭质电阻。
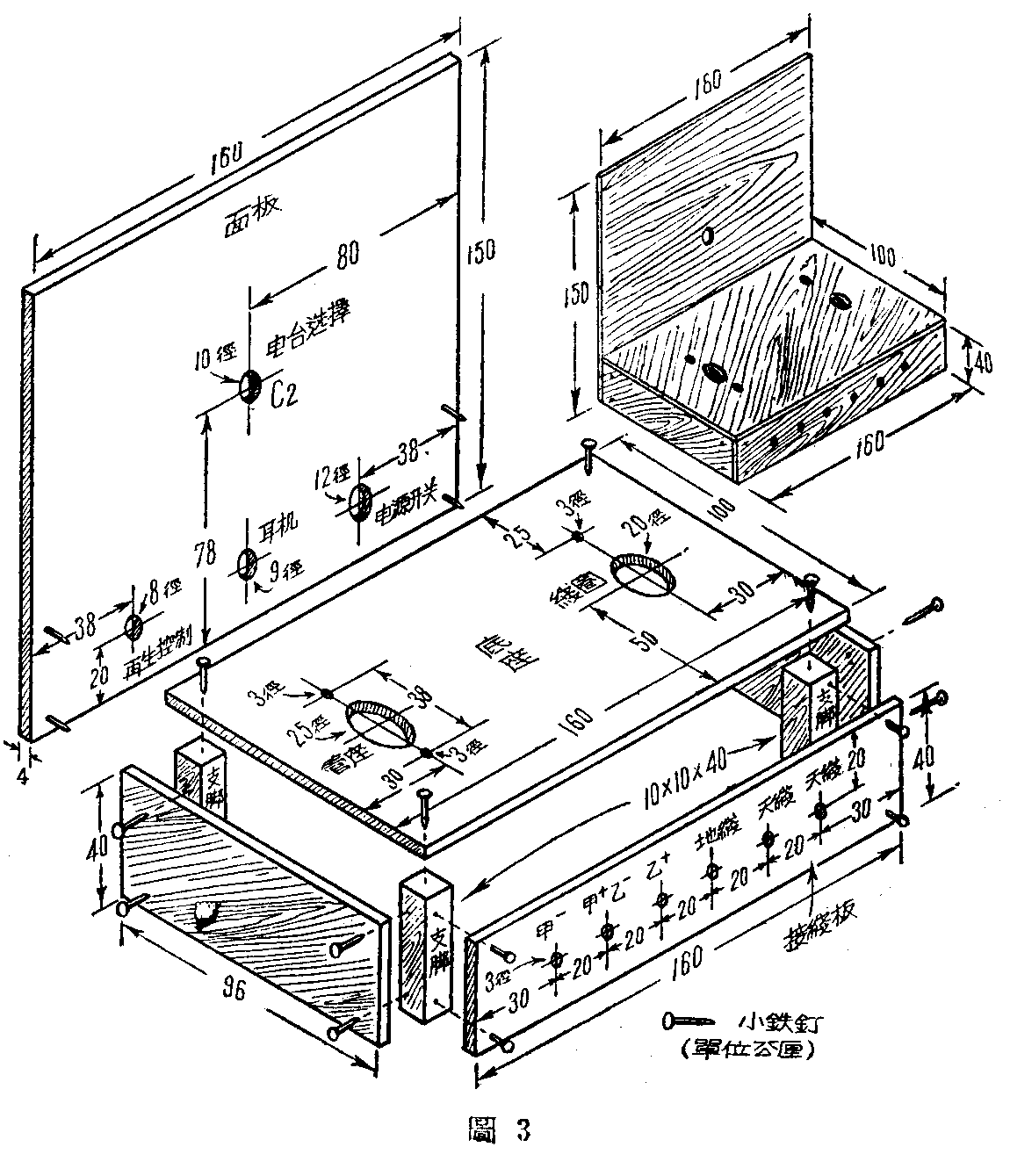
4.机座 用4公厘的薄木板,按图3的尺寸裁制、开洞和装钉。图3里,可变电容器C\(_{2}\)的支架的开洞位置,没有绘出,看是单连或双连的才能决定。

5.再生控制电容器C\(_{4}\) 这个电容器的定片接电子管屏极,动片接线圈末端5,不能碰片,应该选择绝对不会碰片的来用。如果机座是用金属板制成的,C4的动片还要和机座绝缘,否则没有再生作用。
6.其他另件 如灯座,接线柱,听筒插口,甲、乙电池等可按图1配置。
试听时,先将C\(_{4}\)全部旋出,C2放在任何位置。慢慢地旋进C\(_{4}\),到某一点上,听筒就会发出“噗”的一声,表示收音机已起振荡,有再生作用。再稍旋进C4使“噗”声停止。然后慢慢地旋转C\(_{2}\),许多度数上听筒中会有“4的尖叫声,这些地方都有电台广播,把C2放在任何一个有尖叫声的度数,慢慢地旋出C\(_{4}\),减少再生作用,叫声便变得又响又粗,最后叫声刚一停止,就有电台播送的声音。这时C4是放在将叫未叫的位置,听筒里声音相当响。如再稍微调整C\(_{2}\),然后又调整C4,还可得到更响的声音。
调节时,身体不要太靠近收音机,否则再生作用不会稳定。
34号电子管的灯丝电压是2伏,电流是0.06安,用2伏的蓄电池作甲电源最合适。用两节1.5伏干电池串联是3伏,所以在图1线路中,甲虚线绘了一个30欧的可变降压电阻,不用这个电阻时,电压超出规定50%,可是因为乙电只有45伏,屏流不大,不会帮忙把灯丝烧坏,收音更响,电子管的寿命不过稍微缩短些。(乐济美)


