本文叙述一部用晶体三极管和一般电子管收音机零件所组成的收音机,电源是用36伏的电池供给。
这收音机可以在下列波段上收音:长波(150—415千周)和中波(510—160千周)收音机的中周为110千周;灵敏度在长波段为450微伏,而在中波段为550微伏。在频率响应的不均匀性小于2分贝的情况下,通过频带为6千周。可以加拾音器。拾音器输入电阻大于100千欧姆,拾音器输入的电压,须为100毫伏,非线性失真系数在400周时约为4.5%,而在5000周时约为6.5%,输出功率为300毫瓦。在静止情况时电池消耗的功率为216毫瓦,而在工作情况时则消耗900毫瓦。

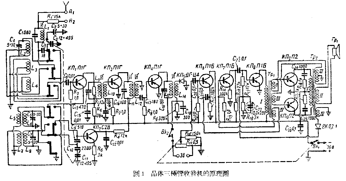
图1是这收音机的原理图。其中采用有:面接触式晶体三极管Д1B、Д1P、Д2;点接触式三极管C2B;二极管ДP-Д4和BR-0.2—1型氧化铜。
收音机的输入电路对天线作电感、电容混合交连。输入电路对变频级第一晶体三极管(RД\(_{1}\))Д1P底座的交连是自耦变压器的交连。电容器C\(_{8}\)隔断直流。振荡器槽路是在第二晶体三极管(KД2)C2B底座的电路里。振荡器的电压利用线圈L\(_{5}\)和L7加到变频器三极管的发射极。所加在发射极上的电压约为0.1—0.5伏。
在变频三极管KД\(_{1}\)的集电极回路中接入一个并联的槽路L9C\(_{13}\)R2,这槽路的调谐频率是110千周。槽路L\(_{9}\)Cl3R\(_{2}\)和第一中周电压放大级(KД3)Д\(_{1}\)P输入端用线圈L10相交连。第一级中周放大级在集电极回路中有一个并联槽路,与第二级中周放大器(KД\(_{4}\))Д1P的输入串联谐振回路相交连。检波级是用(KД\(_{5}\))ДP-Д4型二极管。音量调节是用电位计R\(_{11}\)。为了增加拾音器输入端的电阻,在低频放大器的输入端有一个“匹配级”(KД6)π1B,这一级是按一般集电极接地的回路连接的。第一级低频电压放大是用的电阻交连,这个晶体三极管(KД\(_{7}\))π1B的发射极是接地的。在推动末级的晶体三极管(KΠ8)Π1B上有负回授。为了控制这三极管的工作情况,并提高收音机的灵敏度,在这一级上利用“浮动电压点”工作制。这三极管底座回路中的电阻R\(_{17}\)和R18,要使它在静止状态中(无信号时)的集电极电流不超过0.05-0.1毫安。随着调节回路(由变压器T\(_{P2}\)的线圈Ⅳ、BK—0.2—1型氧化铜,电阻R18和电容器 C\(_{23}\)组成)输出音频电压的增大,加在KΠ8底座上的电压将增大。这回路的电压调节,恰好使收音机的输出功率为300毫瓦。这时KΠ8的输出约为10毫瓦。
低频电压放大器的末级是按推挽式电路组成的。这级的工作情况接近于乙类(在没有信号时,两个三极管(KΠ\(_{9}\))Π2和(KΠ9)Π2的电流不超过0.5毫安)。为了改善音质,及为了便于与前一级的功率输出匹配,末级具有负回授,其深度为10分贝。
收音机里采用的都是类似普通电子管收音机的零件。所有面接触式三极管都焊在中频电压放大级和变频级左近底板上附加的焊片上(图2、图3)。为了固定末级三级管KΠ\(_{9}\)和KΠ10和电容器C\(_{23}\),也是用底板附装的焊片。振荡级用的点接触式三极管安装在有机玻璃管座内。采用的波段开关是双层的。由于输入回路与变频级是用自耦变压器相交连,因此在线圈L2和L\(_{3}\)上的15圈和25圈处有抽头。
为了接上拾音器,装有插孔板,其中一个插孔当连接拾音器时自动地把收首机的高频部分从低频部分断开。音量调节的旋钮同时也就是电源开关。低频变压器的铁心用YⅢ-9的薄片制成。一组的(叠起来之后的)厚度为 12公厘。
试验证明,这收音机的指标大致与苏联“火花”牌收音机相同,但是效率和输出功率较高。并可以用“火花”牌收音机改装而成。改装时必须要考虑到,由于三极管的特性数据不一致,阻抗匹配变压器(T\(_{P1}\))和输出变压器(TP2)上都必须有些抽头,在调整时换接这些抽头可以得到各级间的最佳匹配。
改装后为了调整各级的工作情况,必须在集电极回路中接入毫安表并在底座回路中接入可变电阻。
晶体三极管的底座回路最初经一电阻接到电源正电极时,如果发现集电极的电流很小,则须将这些电阻接到电源的负极上去。((苏联)A.科列施)(章燕翼 译自(苏联)“无线电”杂志1956年第1期)

