[捷克斯洛伐克Tesla厂出品的收音机,国内数量很多。根据读者要求,现将其中使用最多的一种介绍如下——编者]

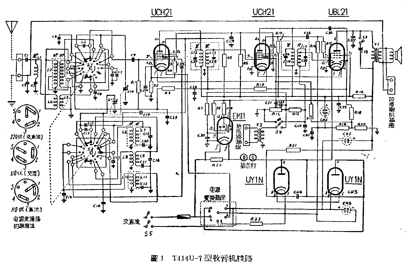
捷克斯洛伐克Tesla厂出品的T414-U-7型6灯超外差式长、短波收音机,可以兼放唱片。不论是30—100周的110伏或220伏交流或直流电源,都可以应用。消耗电力52瓦。这种机器不仅小巧、美观,而且线路设计新颖,音质柔和动听,很适合于一般家庭应用。



该机收听的波段范围是:1、中波段 187—571公尺(1605-525千周); 2、短波段 140.5—131公尺(7.4—2.29兆周);3、短波段Ⅱ20—40.5公尺(15—7.4兆周);4、短波段Ⅲ13.8—20公尺(21.8—15兆周)。中波段和短波段I的高频调谐线圈是共用的,它和中频变压器都采用铁粉心线圈,所以灵敏度和选择性很高,用一根1公尺长的垂线代替天线时,就能收到远地的电台。在短波波段的头尾两端,振荡很稳定,没有停止振荡的现象。机内除了装有自动音量控制和调谐指示管外,另有音调调整器,它的装置比较特殊,是附装在电源开关和音量控制器旋轴上,将旋钮拉出时是低音,推入时是高音。机后附有拾音器和扬声器插孔,可以加接拾音器播放唱片或加接一个4-6欧的永磁扬声器。在应用不同的交直流电源时,只要改变机后电源插的接线,使用也很方便。
该机和一般收音机的不同点是:1、收音部分用三个电子管完成四个电子管的工作,把第二检波和自动音量控制都放到强放管UBL21的两个小屏去完成,然后又把检波后的低频电压加到中放管 UCH21的三极部分作第一级低放,再输入到末级板强放。2、两只UYIN整流管,在用220伏交直流和110伏直流电源时,只用一只作半波整流;用110伏交流电源时,两管同时使用,作倍压整流。并将全机灯丝分成两组,用220伏时接成串联,110伏时并联。 3、拾音器插扎接有音频变压器,提高了输出音量。
@
零件表
C1,2固定电容器.001微法,试验电压1000伏;
C3云母电容器40微微法,试验电压1000伏;
C4,7,14,15,16,17 玻璃型补偿电容器;
C5云母电容器94微微法试验电压1000伏;
C6云母电容器12微微法试验电压1000伏;
C8云母电容器86微微法试验电压1000伏;
C9云母电容器100微微法试验电压1000伏;
C10,11双连可变电容器360微微法;
C12云母电容器80微微法±1%试验电压1000伏;
C13圆形铝盒可调整初偿电容器;
C18云母电容器76微微法±1%试验电压1000伏;
C19云母电容器100微微法±1%试验电压1000伏;
C20云母电容器396微微法±1%试验电压1000伏;
C21云母电容器1450微微法±1%试验电压1000伏;
C22云母电容器39微微法±1%试验电压1000伏;
C23,26,29固定电容器.064微法耐压350伏;
C24固定电容器.04微法耐压350伏;
C25固定电容器80微法耐压350伏;
C27,28,34,35云母电容器100微微法耐压350伏;
C30云母电容器.064微微法耐压400伏;
C31,33云母电容器.01微微法耐压400伏;
C32云母电容器80微微法耐压400伏;
C36云母电容器7微微法耐压400伏;
C37云母电容器.004微微法耐压400伏;
C38云母电容器.025微微法耐压400伏;
C39云母电容器.1微微法耐压400伏;
C40云母电容器.0001微微法耐压400伏;
C41电糊电容器25微法耐压400伏;
C42,46电糊电容器50微法耐压50伏;
C43电糊电容器32微法耐压250-275伏;
C44,45电糊电容器.025微法耐压1000伏;
R1炭质电阻50万欧1/4瓦;
R2炭质电阻100欧1/2瓦;
R3,R8,R9,R10,R17,R18炭质电阻1兆欧1/4瓦:
R4,R12炭质电阻5万欧1/4瓦;
R5 炭质电阻12,500欧1/2瓦;
R6 炭质电阻1万欧1瓦;
F7 炭质由阻阳2兆业欧1/4瓦;
R11 50万欧电位器;
R13 炭质电阻64,000欧,1/2互;
R14 炭质电阻40万欧,1/4瓦;
R15 炭质电阻2万欧,1/4瓦;
R16 线绕电阻1250欧,5瓦;
R19 线绕电阻 72欧,±5% 5瓦;
R20 线绕电阻20欧±5%5瓦;
R21 线绕电阻170欧1瓦;
R22 线绕电阻200欧1瓦;
R23 线绕电阻100欧1瓦;
L1 铁心音阱线圈,直流电阻38欧;
L2,3 中波及短波1天地线圈子;
L4,5 短波2及短波5天地线圈;
L6,7 中波振摄荡线圈:
L8,9 短波1振荡线圈:
L10,11短波2、短波3振荡线圈:
L12,13,L14,15 铁粉心;
465千周铁粉心中频变压器,L12,L13,L14各为9欧L15中心抽头6欧;
S1,2 为波段开关,图示在中波处,依箭头所示,其次为:短波 1,2,3;
S3 音调调节开关;
S4 收音、拾音器变换开关:
S5 电源开关,附在音量节器上;
T1 音频输出变压器(初线圈直流电阻185欧):
T2 拾音器输入变压器;
初级1000欧,次级2000欧。
(唐伟良)