上期我们介绍了利用小型无线电话机接通农村电话的方法,现在我们再谈利用小型无线电台的通话设备兼作广播的办法。
小型台的短波收话机的灵敏度一般是输入端的射频电压在30微状以上时,输出音频电力约50毫瓦。用在农村和小城市里,因电气干扰少,杂音电平低,配上长约5公尺的天线,可以收听国内中等电力的短波广播。但是,只能在一个小房间里,用小扬声器放音给几个人听。加扩大器后,才能在广场上向群众播音,或送到几个播音站去同时用5瓦的喇叭播音。一方面要加用10—20瓦扩大器,一方面还得使用原有的手摇机来供电。
扩大器耗电要少(不能超过 6.3伏, 2安;425伏,100—120毫安),因此它的输出采用了工作效率高的甲乙\(_{2}\)类推挽式放大级。

两只6F6管作甲乙\(_{2}\)类推挽放大时,参考特性表加电压和负荷,可以有约20瓦的输出。但推动它们的电压约需60伏(有效值)。一个在负荷阻抗4000欧内输出50毫瓦的收话机,输出音频电压不过\(\sqrt{0}\)5×4000=14伏,直接用来推动两只6F6还不够,还需要加入一放大级这一级只要稍微提高电压,但须供给推挽强放级可能需要的输入电力。我们用的是6SN7GT,所配输入变压器初次级圈数比是1:30( 图1),这样,1/2 6SN7GT的输出电压只要约20伏,而对它有2伏的栅极激励电压就够了。小型台的收话机里有音量调节器,可以很满意的调到激励1/2 6SN7GT,使扩大器有适当的音量输出。
两只6F6管的偏压部分是在阴极上串联电阻所产生的自给偏压,部分是加固定偏压(图1)。
在扩大器的输出端有3欧监听喇叭。供给这个喇叭的输出变压器次级(T\(_{3}\)的一个级圈)和扩大器的音量控制器串联接地,产生负回授,使扩大器的失真更小。
从收话机到扩大器是用隔离线相互联接,因为收话机和扩大器公用手摇发电机供电,两机机壳对音频必须等于直接接通,而对直流可能有不同的电位,所以隔离线外皮是直接接通收话机机壳,另通过0.1微法电容器也接通扩大器机壳。收话机机壳上如果已经接了地线,扩大器机壳不必再接地线。
T\(_{3}\)的初级对接传输线的次级圈数比是4.5:1,恰好把传输线的500欧阻抗变为适合强放级所需负荷阻抗10000欧,得到满意的匹配。
喇叭的联接

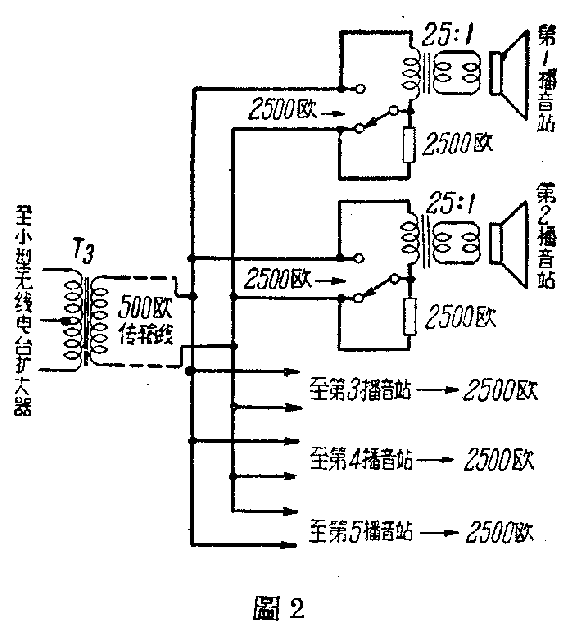
假设我们有5个扩音站,都用5瓦4欧的高音喇叭。扩大器的输出经500欧传输线分送到各个播音站,每站各备一只喇叭变压器,圈数比是25:1(图2),把4欧喇叭的阻抗变为2500欧,5路并联的总阻抗恰好等于传输线的500欧。个别喇叭不用时,要用开关接入2500欧电阻代替,以免影响其它喇叭因音量过大受损。
各扩音站的喇叭阻抗并不必完全相同。假设扩大器的输出是15瓦,输出阻抗是500欧。播音用的5只喇叭如下:
喇叭 音圈阻抗 分配瓦数
1 5欧 5瓦
2 5欧 4瓦
3 4欧 3瓦
4 4欧 2瓦
5 3欧 1瓦
根据公式:电压=\(\sqrt{电功率×阻抗}\),计算得传输线上电压E\(_{0}\)=15×500=86伏。
第1只喇叭音圈上实需电压E\(_{1}\)=\(\sqrt{5×5}\)=5伏,它的喇叭变压器的圈数比是TR1。
=E\(_{0}\):E1=86:5=17:1。
同样,算出其余各喇叭所需的变压器是:
E\(_{2}\)=4×5=4.5伏; TR2=86:4.5=19:1。
E\(_{3}\)=3×4=3.5伏; TR3=86:3.5=25:1。
E\(_{4}\)=2×4=2.8伏; TR4=86:2.8=31:1。
E\(_{5}\)=1×3=17伏; TR5=86:1.7=30:1。
中频广播接续器
大家知道,小型台收话机的频率范围一般是2-12兆周的短波段,而各省的广播台的频率多数是中波。为了能够利用短波收话机接收中频广播,还要先把中频信号变成为2—12兆周范围以内的高频。因此需要加“中频接续器”,也就是变频器。
这里所需要的变频器的线路和一般超外差式收音机的相似,但内部构造有些不同。它的输入虽也是550—1600千周,但它的输出不是一般的465千周,而是几兆周,例如3兆周。因此,它的局部振荡频率应该是由550+3000=3550千周到1600+3000=4600千周。这样振荡槽路就要特别设计。

我们是选用3兆周做它的输出,把收话机的度盘锁住在3兆周上。振荡槽路的线圈采用美通555\(^{B}\)的2.2—7兆周的一只,配合360微微法的双联可变电容器。除调谐电容器上原附的修整电容器C\(_{1b}\)外(图3),还把一只约60微微法的云母电容器和它并联。此外,用1只约300微微法的垫整电容器C3去掉一片以后和调谐电容器串联。
校准的方法是利用收话机充测频仪。把收话机放在接续器旁边,并接用一根几寸长的短天线,收话机是放在收报的位置。首先,把收话机放在4600千周,接续器放在度盘指1600千周,用一只长柄小起子旋修整电容器C\(_{1b}\)到收话机的耳机里听到哨音。其次,把收话机改放在3600千周,接续器改指在600千周,旋垫整电容器C3到耳机里听到哨音。然后再重复上述手续一次。经过这样的手续以后,接续器的度盘指数,已基本上正确了。最后,用它接收一个最高的频率的电台(例如是1400千周或更高),旋动C\(_{1a}\)到音量最强,这时候接续器的校准手续已完了。
接续器的电源也是由手摇发电机供给的,这时候,发话机停用,手摇发电机同时供给接续器和扩大器电源,手摇发电机发出的425伏高电压经分压器,把电压降低到240伏的屏压和90伏的帘栅压。
另外,为了可以把小型无线电台变成为播音中心站,随时播送唱片或演讲报告等,扩大器上又有前置放大级(1/2 6SN7G7),炭粒式话筒或电唱头的输出,系由插座J处接入。炭粒话筒的电源由6伏在直流灯丝电压经250欧限流电阻供给。如扩大器灯丝用交流供给,就要另用3伏干电池做电源,并不用限流器。
电源问题
一般收话机都是用干电池供电的,干电不仅价钱贵,保存不易,而且在边远地区补充困难,容易耽误工作。
收话机所耗电流比发话机或扩大器小得多,所以利用手摇发电机同时兼供收发话机或收话机接续器,和扩大器的电源是可能的。

普通手摇发电机里虽原来附有高低压滤波设备,但供给收话机的灯丝,产生的哼声还是很大。所以在灯丝电源电路中须用两只200微法的滤波电容器和一只铁心扼流圈(图4)以后,这样,可以把哼声减小到距离扬声器很近才能听到。
扼流圈的铁心是利用一般成音变压器的“E1”形矽钢片,它的中心横断面约1—2平方公分。E1片之间垫一层牛皮纸作空隙,线圈用24号漆包线绕满铁片的窗口。
如果手摇发电机发出的电压因为摇得不匀而不稳定的时候,不仅会使收音的音量忽大忽小,而且有时灯丝电压太高,会影响电子管的灵敏度和寿命。一般用含气管的稳压方法只能用于70伏以上的电压,对灯丝所需的低电压是不适用的。


当我们研究硒整流器的特性曲线的时候,发现外加正电压减小到每片约0.7伏的地方,曲线很弯曲(图5)。假若接成第6图的线路,其中E\(_{0}\)是高于0.7伏的定压直流电压,S是充当稳压用的硒片一片,R是限流电阻。当E0在正常电压时,调整R到负荷上的电压为E\(_{1}\)(例如0.6伏),这时候,曲线的运用点在A(图5)。如果电源电压升高,使负荷电压由E1升高到E\(_{2}\),运用点由A移到B点。同时,通过硒片的电流I将由E1升到I\(_{2}\)。这个大大增加了的电流(包括硒片电流和负荷电流)通过限流电阻R时,将产生一个较大的电压降,结果使负荷上的电压回复到原值附近。这种现象和含气管稳压相似。
如果我们需要14伏的电压,就应该用两片硒片串联。硒片的面积和负荷电流成正比例,这里负荷电流为0.4安,硒片面积约9平方公分。加大硒片面积可使稳压效果更好,但同时硒片上的电流消耗也增加了。

附图7是由手摇发电机供给收话机(例如55型)灯丝电源的滤波器和稳压器的合并线路。(邮电部无线电总局 陈治)