[问] 县内电话线路在市区里是经过市话电缆进局的。能否利用市话电缆开放有线广播?如果一定要另架线条,那么,应该用什么线条比较合适?新架的线条和市话电缆同杆架挂时,它们之间应隔多少距离?
[答] 市话电缆不能开放广播,必须另架一段有线广播用的线路。线条的线径要按照线路长短和负荷喇叭的数量决定。一般采用3.0公厘以上的双铁线比较适当。当新架的线条必须和市话电缆同杆架挂时;要和电信线路相距1—2公尺。(邮电部县内电话有线广播总局)
[问]怎样才能在有线广播线路上接高音喇叭和簧舌喇叭?应该配用怎样的输出变压器和用户变压器?
[答]分定压制和定阻输送制两种情况。关于定压输送制接喇叭的方法,请参看本刊第2期沈理华“谈谈农村有线广播网”一文;关于定阻输送制,请参考本期范俊廷“建设农村小型农村广播站的实际问题”一文。
[问] 电子管的玻璃泡松脱,怎样把它固定在电子管的管座上?

[答]最简便的方法是截一纸带,宽度大约能缠住玻璃泡和管座的一半 (见图)。纸带的一面涂上胶,然后把电子管放到涂胶的那一面,将纸带缠紧就行。
[问]扩音机用市电电源时,是否要加装什么附属设备。
[答]利用发电厂的交流电源供给扩音机时,应该加装整流器。但一般扩音机里已经附有整流设备,只要注意它所需要的交流电压数值和当地市电电压相同(上下10%可以应用),就可直接接上去。如果电压相差太大,要加接自偶变压器调节市电电压到合乎扩音机的需要,才可接用。
[问] 外差式收音机里振荡级的栅极电容器,它的容量大小怎样决定?对振荡起什么作用?为什么用相同的电子管作变频时,有的振荡栅电容器用0.00047微法,有的用0.0001微法,相差这么大?
[答]外差式收音机振荡级的栅极电阻、电容数值的大小,和所产生的振荡强弱或是否稳定有关。电阻和电容太大,会产生断续振荡;电阻、电容太小,得不到稳定的、足够的栅偏压和效率很高的振荡。其次电容太小而电阻太大时,灵敏度不够,不容易起振荡。实用上,对电容量的要求并不严格,一般可用50—250微微法。
[问]附图是两种供给变频管AVC电压的接法,请问它们各有那些优缺点?图A中C\(_{1}\)、R1的数值怎样决定?是否有时间常数的关系?

[答]图A为并联馈电法;图B为串联馈电法。图B比较简单,多用在灵敏度不很高的收音机中。图中R\(_{2}\)、C2都是AVC滤波器,关于这些滤波器时间常数的问题,请参看本刊第2期“谈谈自动音量控制”一文最末一段。
[问]圆筒式电感线圈加了铁粉心后,电感量的变化受那些影响?收音机调谐线圈加铁粉心后,电感量增加?它的性能有何改进?
[答]线圈的电感量不但和线圈的平方成正比,而且也和绕线圈的心子的磁性材料的导磁率有关。铁粉的导磁率比空气大得多,所以线圈里放入铁粉心后,电感量增加。有些铁粉心子是可动的,那么,电感量的大小,又和铁粉心伸入线圈里多少有关,伸入愈多,电感量愈大。铁粉心线圈的品质因数Q在中频时比空气大得多,所以灵敏度高的收音机里用铁粉心做中频调谐线圈的很多。到了高频,因铁粉心内的涡流损失增加,除了使用特种材料制成的铁粉心,对线圈的Q没有显著提高。
[问]有有线广播扩音机一架,分成4路输出。第1、2、3路很近,第4路在2公里以上。当第4路喇叭插头插上时,全部喇叭声音减小,请问原因。
[答]有两种可能:1、线路绝缘不好,或两线条太靠近,有漏电或短路现象;2、第4路的喇叭需要电力太大或这一路的变压器初次级比数不对。请检查线路和输出变压器的圈数比。[以上由陈治同志答]
[问]矿石机、单管机是否可以用室内天线?如何防止强力电台的干扰?用调节片间距离的方法制成的可变电容器,电容量的大小是否和片间距离成反比。
[答] 任何收音机都可以用室内天线。但是单管机,特别是矿石机灵敏度低,因此用室外天线比较好。要防止强力电台的干扰,可以参考本刊去年第4期16页图3加装滤波器。电容器的容量是和它的面积、介质常数成正比,和片间距离成反比。
[问]1、有线广播馈电线路如利用电话线(铁线),在15公里长的距离中输出电压需要多少?线径多粗?用单线输送是否可以?2、一扩音机定压输出120伏,如输送更远距离时,是否可以加一变压变作升压输出?3、本刊1期的“舌簧喇叭”中说,不需变压器就可接在输送线上,电功率是0.024瓦,那么,500瓦机不是可以接20500个喇叭了吗?4、舌簧喇叭直接接在线路上,阻抗是否匹配,电压是否相符?它的线圈阻抗多少?能承受多大电压。(河南于占魁)
[答]1、有线广播的馈电线路,只要不干扰电话,可以用单线。输出电压及线径,须根据线路上所接喇叭数量和喇叭分布情形而定。2、可以用升压变压器把扩音机输出电压提高。但用电话线时,考虑到安全问题,馈线电压不应超过240伏。3、舌簧喇叭消耗的电力,根据试验,在0.024瓦时,距喇叭1.4公尺处,只能有74分贝的声强,相当于1巴声压,这样的声音很小。另外,0.024瓦是1000周的数值,在高音或低音时消耗的电力要大,因此在考虑放大器所能带动的喇叭数时,包括线路损失,可以大致按每个喇叭需要0.5瓦计算,也就是500瓦扩音机可接1000个喇叭。这个数字不是很正确的。如线路很短,那么能接的喇叭数就多。4、舌簧喇叭的直流电阻约1000欧,在1000周时的阻抗约8000—10000欧,额定电压约为30伏。喇叭接上后,会产生和扩音机阻抗不匹配的问题,因此,尽可能采用具有深度负反馈的定压输出的扩音机。
[问] 有100瓦扩音机一部,输出阻抗是500欧,音频输出电力多少?这部扩音机只用35瓦供给喇叭,余下的65瓦要配接多少阻值的假负荷电阻,才能把它消耗掉?用灯泡代替是否可以?
[答] 扩音机音频输出电压E=\(\sqrt{PR}\)=100×500=223.6伏,P是扩音机输出电力,R是输出阻抗。假负荷电阻R'=E\(^{2}\)÷(P-P')=50000÷(1OO-35)=770欧,P'是扩音机供给喇叭消耗的电力。假负荷电阻可以用灯泡代替。上面例中的假负荷电阻,可以用220伏65伏灯泡代替。但用灯泡时,因灯丝阻值和温度成正比,灯泡上消耗的电力,就随扩音机输出电力的变化而忽大忽小, 因此,输出电压不及用线绕电阻平稳。
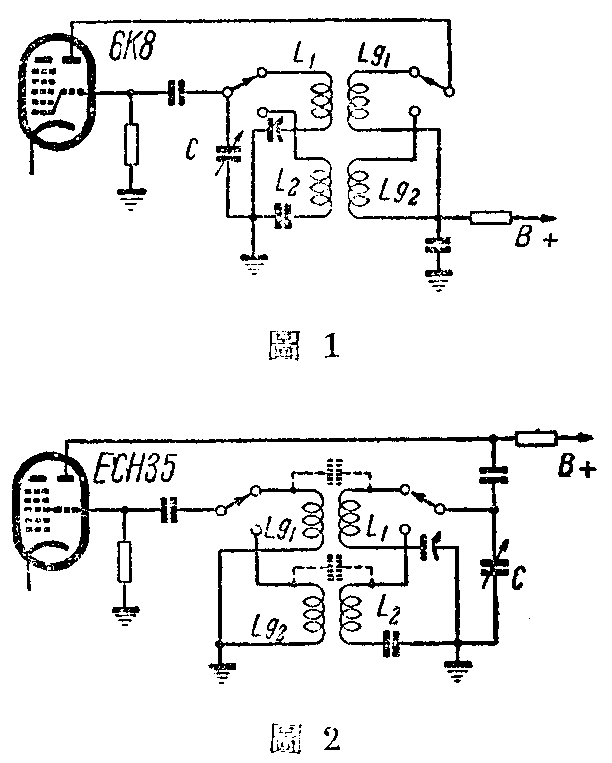
[问] 用欧洲式电子管如ECH35、ECH21按照6K8接法,是否同样可以工作?如一定要将振荡回路接屏极,市售线圈是否适用?

[答] 用6K8作变频的超外差式收音机,它的振荡回路接栅极,(图1)。而欧洲式收音机,像飞利浦、捷克斯洛伐克Tesla厂等的出品,用ECH35或ECH21以及其它电子管作变频的,它们的振荡回路都采用屏极并联供电回路, 振荡回路接在屏极,(图2)。如果用6K8的一套线圈照图2改接(原来接振荡栅极的、把它接到振荡屏极上;原来接振荡屏极的,改接振荡栅极),就可以用这种欧洲式电子管来代替6K8了。不过,这时回授会不够,不容易振荡,可以如图2中虚线所示加接一只0.0001微法的电容器。(波流)