外差式收音机是现在各种收音机里效率最好的一种。但一般线路都比较复杂,因此这里特别介绍一架对无线电爱好者们学习起来比较容易的两灯外差式收音机。
本机工作原理

这部机器共有变频、检波放大和整流三部分(图1)。变频级又有混频、振荡和高频放大几个作用。振荡部分产生一个比外来信号频率高约C\(_{1}\)、C2—0.00036微法同轴可变电容器; C\(_{3}\) 、C6—0.00025微法云母电容器;C\(_{4}\)、C5—400微微法半调整电容器; C\(_{7}\)—0.01微法纸质电容器;C8—0.006微法纸质电容器; C\(_{9}\)、C12—0.1微法纸质电容器; C\(_{1}\)0、C11—30微法150伏电糊电容器;R\(_{1}\)—20000欧1/2瓦炭质电阻;R2—1兆欧1/2瓦炭质电阻;R\(_{3}\)—50,OO0欧电位器连开关SW;R4—2000 欧10瓦线绕电阻;L\(_{1}\)、L2—6SA7型5O0—1500千周天线线圈;L\(_{3}\)—配合L1、L\(_{2}\)的振荡线圈; L4、L\(_{5}\)、L6—再生式三回路广播线圈;L\(_{7}\)—10毫亨15毫安高频扼流圈;V1— 6SA7;V\(_{2}\)—6SN7; T—电铃变压器,初级110伏,次级6伏;天线、耳机接线柱3只,接线支架1块。465千周的高频振荡和外来信号在电子管6SA7里混在一起,产生“调变”,便可以由电子管的屏极输出一个465千周的中频。这个中频电流通过L4,交连到L\(_{5}\)、C5组成的谐振回路,由于振荡作用所产生的较大电压,加到检波管6SN7的一个三极部分的栅极,检波管把信号里的低频成分检出并放大后,通过耳机发出声音。图1上虚线的右边,相当于普通的交流再生式单管收音机。屏极电流经过回授线圈(又叫做再生线圈)L\(_{6}\)时,把电能回授到栅路中,因此提高了灵敏度。但是它和一般再生式收音机又有不同,区别点是它的栅极回路的调谐频率是固定在465千周的,选择电台的调谐工作,由前一级变频管的栅极回路来完成。
主要零件的说明
为了考虑购买电子管的方便,本机采用流行比较广的6SA7和6SN7。这两种电子管灯丝电压都是6.3伏。6SA7是一只有5个栅极的电子管,专门做变频用的;6SN7是双三极管,同时担任检波和整流,一管两用,这样就省掉了一只电子管。电源变压器T可以用6/110伏电铃变压器代替,天线线圈L\(_{1}\)、L2和振荡线圈L\(_{3}\)自制很困难。可买现成的,购买时应说明是配6SA7管收听500—1500广播波段的。L4、L\(_{5}\)、L6就是普通配0.00036微法可变电容器,收听中波广播波段的三回路线圈。
制作
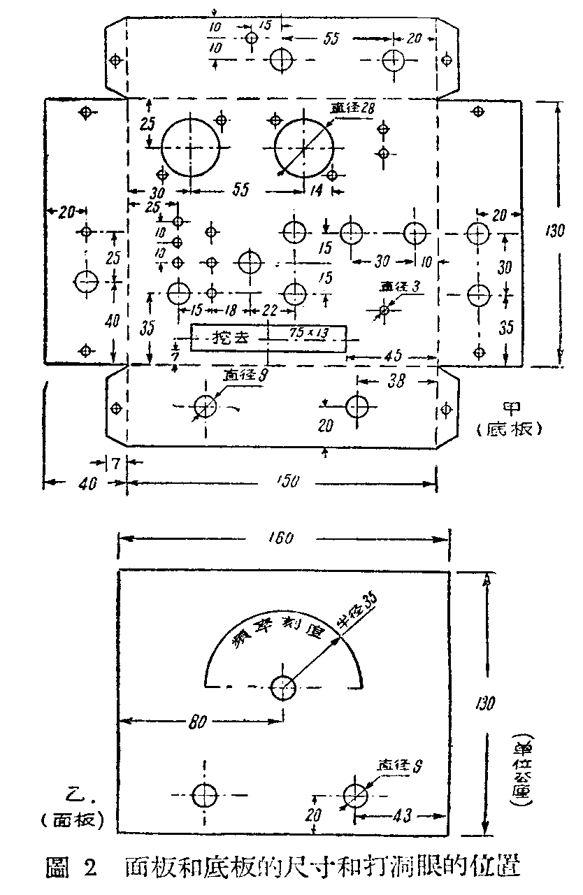
收音机底板用1公厘厚的铁板或2公厘厚的铝板,而板可用适当厚度的木板或胶木板。它们的尺寸和在板上开洞的位置和大小,除了在图2里注明的外,某些零件如耳机插口的洞眼,电容器底脚螺丝眼间的距离等,由于零件规格不一,应根据实物来决定洞的大小和洞与洞间的距离。面板和底板开洞以后,再照图2中虚线拆成直角,做成一个没有底的方盒子的样子,然后在四边边缘的小洞里,用螺丝或铆钉把叠在一起的相邻两边铆在一起,做成一个坚固的底座。面板和底座就利用电位器R\(_{3}\)和频率选择旋钮轴上的大螺丝帽紧紧夹牢。图3是零件外装配图,把图(2)和图(3)对着看,就知道什么零件利用那几个洞眼装配,和它们的接线应当穿过那些洞眼。


天线线圈L\(_{1}\)、L2装在底板上面,振荡线圈L\(_{2}\)装在底板下面,和L1、L\(_{2}\)相互垂直,这样可以减少它们间的感应。为了节省地位,可以把变压器T的外壳去掉,坚起来装在底板上面。
上面所说的零件和电子管管座,接线支架以及应该装牢在底板上的零件,如C\(_{4}\)、C5、天线和耳机插口等,照图3所示,一一装好。其余的零件,在焊接时络续接入。
本机的乙电直接取自110伏市电电源,所以各接地点要联起来后串联一电容器C\(_{9}\),再接到底板上,否则一不小心,碰到底板时,就会触电,发生危险。同时C1、C\(_{2}\)和耳机、天线的接线柱都要用橡皮垫圈垫起来,不能和底板相碰。
焊接每一零件时,不仅要牢固;而且烙铁接触零件的时间要短。防止把零件烧坏。此外,在C\(_{1}\)、C2的动片上,不要忘记焊一根接地线。
制作时除掉零件的接线要短外,并充分利用接线支架,使每一个零件装置牢固,切不可使零件悬空挂在底板下面。
刻度盘拉线方法见图4。在C\(_{1}\)、C2的旋轴上装一个拉线盘,从盘上弹簧引出的弦线,经过拉线盘边缘的凹槽,拉到频率选择旋钮的轴上,绕2—3圈后,再回到拉线盘上绕1圈,接到弹簧上。电容器C\(_{1}\)、C2的旋轴伸在面板外面少许,轴上安装一根35公厘长的指针,指着面板上的刻度盘。

使用

图5是全机装好后的外形图。全机装好后,检查一下线路有没有接错,插入电源试听。首先会听到极清微的“嗡嗡”的交流声,再用螺丝刀碰检波管栅极,耳机中有“咯咯”声。然后接上天线(本机灵敏度高,只要接一根几公尺长的室内天线即可),调整C\(_{1}\)、C2收听一家电台,再调整C\(_{5}\)、R3使声音最响。反复调整C\(_{4}\)和C1、C\(_{2}\)上的两只半调整补偿电容器,校准频率。C4、C\(_{5}\)和补偿电容器调整后,以后就不必再动,可以使用了。 (刘国生)