在还没有电气化的农村里,要听收音机,一般只能用干电池来作电源。干电池电源有它的缺点,不容易保存得好,就是放着不用,它自己也会“跑电”,缩短寿命。同时电池用过几次,内阻就逐渐增高,输出电压就逐渐降低。
苏联有一种利用洋油灯的热能发电的电源,叫做“热偶发电机”,对农村用收音机很适合。它的样子如图1。

热偶发电机的基本原理很简单,它是利用一种叫做“热电效应”的物理现象。就是用两种不同的金属(或是合金和半导体,它们也有这种性能)互相连接,如果在它们连接的地方加热,它们的接触处(简称热端)便会产生电位差,把不加热的两端(简称冷端)连结起来,就会有电流在两种金属里通过(见图2),这种结构叫做“热电偶”。

热偶的电位差(热电动势)的大小决定于两种因素:1.两种金属是什么材料;2.加热的温度和冷热两端的温度差。
根据实际试验证明,如果我们拿白金做标准和其他金属接触,在冷热两端温度差为100℃时所产生的热电动势的数值顺序排列如下:
锑 +4.7
铁 +1.6
镉 +0.9
锌 +0.75
铜 +0.74
金 +0.73
银 +0.71
锡 +0.41
铝 +0.38
白金 0
钴 -1.52
镍 -1.64
康铜1铜镍合金 -3.4
铋 -6.5
按照上列的顺序,我们很容易求出100℃时其中任何两种金属接触时所发出的热电动势,例如用锑和铋,就会产生+4.7-(-6.5)=11.2毫伏,而用铁和铝,便只有+1.6-0.38=1.22毫伏。
如果热电偶冷端的温度固定不变,热电动势的大小和热端温度的变动大约成正比例。
从上面所举的例子,我们可以看出一个热电偶所产生的热电动势是很小的(一般只有几毫伏),这样小的电压,当然不能用作收音机的电源,因此需要把好些个串联起来。成为“热偶电池组”来用。

对一个热偶电池组整个的均匀加热(见图3)是不会得到热电动势的。因为这样在所有的结合处都产生电动势,全部“甲”结合处产生的电动势和全部“乙”结合处产生的电动势大小相等,而方向相反,互相抵消,结果电池组两端的电压便等于零。因此,我们加热的方法,要使各“甲”结合得和各“乙”结合处的温度和热电动势不相等,热偶电池组的两端才会有电压产生。要得到较大的电压,“甲”结合处和“乙”结合处的温度相差就应当大,图4是一种有效的热偶电池组的加热方法。

做热电偶的两种金属(或合金、半导体)除了要能够产生较大的热电动势外,还要它们的电导率高,结合处的电阻又很小,因为这样的电源才有较小的内阻。同时,两种金属的热传导应当很小,因为如果热传导很大,就不能保证在很短的金属上,冷热两端温度差相当大,这样就会使热电动势大大减小。此外,热偶金属不需要有相当高的熔化点,在高温下工作,不会氧化,这样才能经久耐用。
在结构上要使热端受热的效率高,不容易散热,而同时又要保证冷端的冷却情况良好。

苏联所制成的一种实用的TГK-3型热偶发电机(如图-1),效率相当高,使用寿命也很长。它从农村人家照明用的洋油灯得到热,可以供电给收音机,而这盏灯同时还可以用来照明(图5)。
这种热偶发电机包括两组热偶电池:一组的电压是2伏,电流是2安,用来供给收音机的屏极电路,这个电压虽然不够高,但是我们可以用一个简单的装置——振子整流器来将它的电压升高;另一组的电压也是2伏,电流是0.5安,供给灯丝电路。这一组还有一个1.2伏的抽头。这样的电流、电太恰好适用于苏联农村用的“祖国”牌收音机。
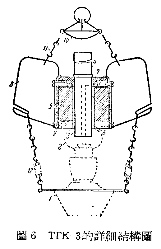
TГK-3(挂式)的具体构造见图6,图中的1是洋灯;2是玻璃灯罩,但是这个灯罩没有上面的圆柱部分;3是热偶发电机的加热器,它的下半部插入灯罩,取得热量;4是通风管,使洋灯和普通洋灯一样保持火光;5是热偶电池组,它固定地装在加热器3上。6是云母垫片,它防止各热电偶接触到加热器上发生短路;7是石棉垫圈,防止热偶电池组的过度散热;8是散热片,固定装在热偶电池组的外圈上,以便更好地使冷端冷却;9是铅垫,它紧压着热偶电池的外圈,散热片就固定在这铅垫9上,使散热片全面紧密地与热偶电池组接触。

10是一个散热用的金属盘子,以便防止过多的热气上升,使挂洋灯的天花板着起火来,11是挂链,一共有三根;12也是挂链,上面有弹簧,可以使洋灯在燃亮的时候取下来方便。
用这种电源比起用干电池作电源来有许多优点。首先是可以大大地节约有色金属的消耗,同时还可以长久使用,寿命一般是数千小时,并且可以长期保存。此外,在工作中热偶发电机也比电池好,它的电压很稳定,负荷短路时也不会使它损坏。这种热偶发电机,苏联已经大量生产。(章燕翼)