(郭嘉庆)用一部普通超外差式直流收音机来改装成既能收音,又能扩音的收音、扩音两用机,从经济和节约的观点来看,有它一定的价值。特别在农业合作化运动轰轰烈烈展开的今天,对缺乏市电电源的农村来说,更有它一定的意义的。

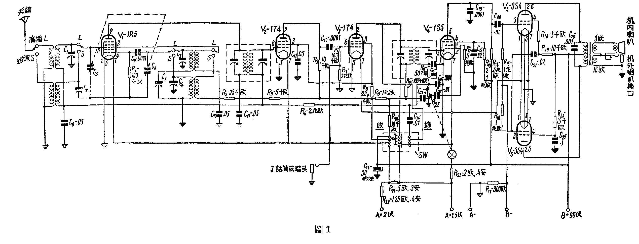
超外差式收音机里至少有中频和音频两种放大器,音频放大器是用来放大音频电压的,它的作用和我们开会听报告时所用的扩音机一样。可惜的是,我们不能把话筒像唱头一样直接接到音频放大级的输入端,如果这样做,当对着话筒说话时,声音太小,要把耳朵贴着喇叭,才能听得清楚,显然是达不到扩音的目的。一定要先用一级“前置放大级”,把话筒的输出电压放大,再接到音频放大级去,声音才和听收音机时差不多响。但是,在收音机里添一前置放大级,比较麻烦,而且也费钱。如果在中频放大级上稍微动动脑筋,增添几样零件,同样可以很容易的把一部收音机变成收音、扩音两用机。图1就是利用中频放大级做话筒输出的前置放大级的方法。增加的零件是:话筒插口J,炭质电阻R\(_{9}\)、R10、R\(_{24}\),纸质电容器C14、C\(_{25}\)和四刀双掷开关SW。
当话筒插头插入插口J时,中频放大管V\(_{3}\)变成了前置放大级。四刀双掷开关SW的第1、2两刀在“扩音”位置时,V3屏路里的中频变压器初级短路,同时串接入电阻R\(_{1}\)0,作为屏极负荷电阻,经过放大了的话筒音频电压,从这里经过电容器C14交连到音量控制器R\(_{25}\)上,再按原有的音频放大情形放大,使喇叭发出充足的音量。图中R24、C\(_{25}\)是一个退交连回路,可以消除电阻交连所引起的“汽艇声”。R9降低了V\(_{3}\)的帘栅电压,使符合V3作电阻交连音频放大器时的运用情况。变频管V\(_{1}\)和第一中放管V2的灯丝电源,在扩音时,被SW的第3刀切断。这样,既节省了甲电池的消耗,又保证在扩音时,不会同时收到广播。另外,干电收音机甲电池除用1.5伏电池作灯丝电源外,有时为了节约甲电池的消耗,改用2伏的蓄电池。但用2伏的蓄电池时,一定要串联降压电阻,把电压降到1.4伏,才不致损坏电子管。在这里开关SW的第4刀就起到这个作用。当用2伏蓄电池收音时,灯丝电流0.4安,流经R\(_{22}\)(R21被短路)和R\(_{23}\),电压降到1.4伏;扩音时,V1、V\(_{2}\)灯丝电源已被SW第3刀切断,电流减到0.3安,电压增高,故把R21串入,使仍旧保持1.4伏的电压。用2伏电源时,图中A+1.5伏电池接线柱空着不接;同样,用1.5伏时,A+2伏接线柱空着不接。
按照上面的方法改装成的收音、扩音两用机,在扩音时,音量和收音时差不多,还是不能供许多人开大会使用。因此要另配一个比收音机里的纸盆喇叭效率高好几倍的高音喇叭和一只次级线圈,配合高音喇叭阻抗的输出变压器。按照图中接线,只要把高音喇叭插入图中机外喇叭插口,机内原有的喇叭就自动切断。经验证明,改用一只25瓦的高音喇叭,可以供三、四百人开会。
这种两用机也可以播放唱片,但因没有市电,只能用手摇式留声机。把原来留声器的唱头取去,改装一只电唱头来应用。可是电唱头的输出电压比话筒大得多,如果直接插到话筒插口里,会使电子管过荷,引起失真。可以照图2的办法,加装一个衰减器,把电唱头输出电压降低到和话筒的差不多,就可以直接插入话筒插口里来播放唱片了。

最后,关于话筒插口的接法,插口J可以直接接到V\(_{3}\)的接脚6和地之间,但是,因插口各簧片间所存在的电容量,对中频的输入电压阻抗很小,收音时音量减小,因此串入了一只电阻R6。R\(_{6}\)在扩音时,对话筒的输入来说,阻值并不算大,增益不会有很大的降低。