(张健荣)无线电技术的应用,可以在国民经济生活中起很大的作用,这里谈的是一个很好的例子。
许多在贮藏中的农产品,受气候的影响,所含水份倘若超过一定限度,往往会腐烂变质,使国家遭受很大损失。这就需要用简单、迅速而准确的方法,随时测定它们的含水量,从而采取必要的防潮防腐措施,以保证物资的安全贮藏。我们这里所要谈的繁用水份测定仪,恰好能够解决这样一个重要的问题。
这具仪器,所以叫做“繁用水份测定仪”,因为它是根据高频振荡的原理制造的,而且灵敏度很高,可以测验的东西相当多。从实际试验的结果,凡没有被水汽饱和的有机生物资,如粮食类、豆类、叶类、卷烟……等等,都能在几秒钟以内测出它的含水量百分比来,甚至像葡萄糖粉、电木粉等所含极小水份也能测定。它可以在任何有交流电源的个市镇上使用,电源不稳并不要紧。
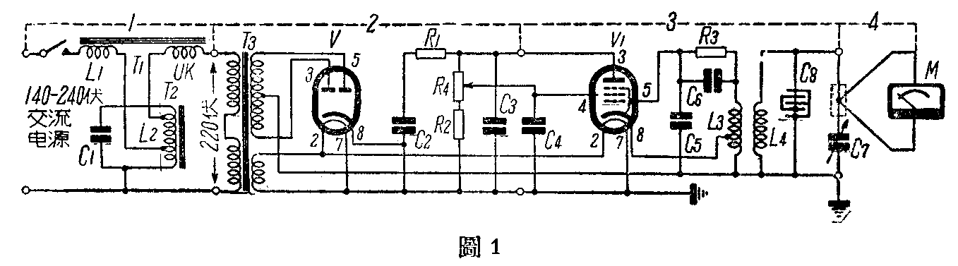
这具仪器,在结构上共分电压稳定(即电源调节,它单独放置)、整流滤波、高频振荡和热偶电流表四个部分。外来的交流电压先经稳压器得到稳定的电压,用5Y3管整流后,供给6F6高频振荡管,振荡回路是由一个线圈L\(_{4}\)、一个电容器C7和一个“测验匣”所组成。这个测验匣就是一只固定的空气容电器,它的片子是相互隔开的金属铜片,形状像“,热偶电流表上的供热丝是和C\(_{7}\)串联在振荡回路里。
在测验的时候,只要把被测验的物资放进测验匣内,看读数的大小,就可以决定物资所含的水份。也就等于放进在振荡里的电容器内一样,这时物资的分子和电振荡起了微弱的振荡作用,而改交了振荡频率。此外,由于不同的物资所含的水份不同,它的介质常数介质损耗都不同,用介质耗损大的电容器所组成的振荡回路,振荡电流就小;相反地电流就大。因此我们测量振荡回路里电流的大小,就可决定各种被测物资里所含的水份。这具仪器里,我们是用一个串连在振荡回路里的热偶电表来表示电流的大小。水份极少的物资,电流表的最大指数大;水份多的物资,电流表的最大指数小,所以看电流表所指的度数,就能决定物资所含水份的程度。
电表的各个读数相当于各种物资含多少水份,需要预先用标准水份分析仪器来加以确定,绘成曲线图;然后在使用这具仪器时,根据实测的度数来找曲线,便立刻可以得到水份的百分比。
很显然的,振荡管各极的电压如有变动,也会影呐振荡回路里电流的变动,使测得的结果不准确,所以交流稳压装置是这具仪器里极重要的一个部分。它是一种利用铁心磁性饱和作用的稳压器。(人民邮电出版社出版的“磁铁饱和式电压稳定器”一书,对这种稳压器有详细的解释和分析,读者可以参考。)


这具仪器的工作原理图如图1。它的装配方法示如图2甲、乙和丙。图1里虚线1范围是稳压部分(单独放置);虚线2范围是整流滤波部分;虚线3范围是振荡部分。L\(_{4}\)、C7和C\(_{8}\)是振荡回路,C8就是测验匣。虚线4范围是热偶电流表部分,热偶电流表M是4时方型大电头(规格M100),比较精确,读数误差不超过0.05%。
使用时,先将测定仪上的电流插头插在电压稳定器的输出端,再将电压稳定器的电源线插在当地电源插座内,接通电源。真空管灯丝受热后振荡就发生,然后将C\(_{7}\)可变电容器慢慢转动,使电表指针向右边到最大指数,再调整振荡电子管的帘栅极电压(图1R4) ,恰好使电表得到满度指示。接着将秤得一定重量的被测验的物资放在测验匣内。各种物资所含水份不同,电表上就看出不同的读数,用曲线图查对后,就可以决定所含水份。
在换测验物资时,应该先断开电源,然后取出测验匣,以免振荡过大,使热偶电表受损。
下面附这具仪器的另件详表。这些另件,除电子管和真空式热偶电表外,一般都容易配制。
T\(_{1}\)\(^{-}\)电压稳定器,50伏安,输入变动范围140—240伏,输出220伏,稳定度1%。T3电源变压器,输入电压220伏,输出高压:600伏,0.6安,中心抽头;低压;5伏,2安;6伏,2安;V\(_{1}\)—5Y3,整流管;V2—6F6振荡管;R\(_{1}\)—线绕电阻,1000欧,10瓦;R2—泄放电阻,30000欧,30瓦;R\(_{4}\)—可变电阻,5000欧,10瓦;R3—傍路电阻,20000欧,2瓦; C\(_{2}\)、C3、C\(_{4}\)—8微法电解电容器;C5—小垫整电容器;C\(_{6}\)—傍路电容器, 0.0005微法,600伏; C7—单连可变电容器,0.00036微法; C\(_{8}\)—测验匣;M—1毫安电流表,内阻30欧,热偶是K形,规格200—400微安,耐压31.5—40微伏,真空式;L3-在2\(\frac{1}{2}\)时直径,3寸长胶木管上用20号漆包线绕57圈,充感应线圈;L\(_{4}\)\(^{-}\)在11;4时直径,1\(\frac{1}{2}\)寸长的胶木管上用27号漆包线绕63圈,充振荡线圈。
(利用本机测电阻的方法,本文从略,着重在它主要功用的说明——编者)