(林匿名)用复式电子管装来复式收音机似乎有点困难,但是如果装置得法,零件位置安排得宜,则不但很容易成功而且收效也大。下面就是一个例子。
利用一只6K8变频管的六极部分作再生式检波,三极部分作高放和低放,这样,只用一只电子管,就相当于3只电子管的效用。
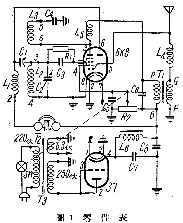
线路原理

图1是本机的线路图。外来信号输入到6K8管的三极部分放大后,高频电压由屏极6经L\(_{1}\)、L2、C\(_{1}\)的交连,接到六极部分的控制栅完成再生式检波,检波后的低频电压由屏极3加到变压器T1的初级上,再经T\(_{1}\)次级接到三极部分的栅极作低频放大,然后又经屏极6接到耳机。
机件装置

本机高放级用了一只高频扼流圈L\(_{4}\)减少一个调谐回路,在使用上方便不少。C2是调谐可变电容器,用来寻找电台。R\(_{1}\)是调整帘栅极电压的电位器,用来控制再生的强弱。在L1、L\(_{2}\)间加了一只半调整电容器C1,可以在收听频率较高一段的电台时,增加灵敏度。低频变压器T\(_{1}\)应选用质量较优的,否则易使声音失真。T1初级上并联的固定电容器C\(_{6}\),可以改善音质和免除一些杂音。线圈L1、L\(_{2}\)、L3市上有现成的三连线圈,可以选购,如果自制,可在38公厘直径的圆筒上用0.32公厘直径的漆包线密绕105圈作L\(_{2}\),在L2上面4公厘处绕60圈作L\(_{3}\),另用10毫亨高频扼流圈一个斜放在圆筒里靠近下面部分作L1(图2)。L\(_{1}\)位置的高低、斜度和线头的接法会影响收音成绩,可由实验决定后,再把它固定。L1放入L\(_{2}\)时要注意它绕线的方向一定要和L2相同。
整流部分虽说采用37傍热式电子管作半波式整流,而且滤波器也很简单,但在收听时并不觉得有交流声。

电源变压器T,初级绕圈的电压220伏,次级高压250伏,电流只要十几个毫安已很足够,低压6.3伏,0.6安。T\(_{2}\)的铁心可用铁片剪成(图3),叠到厚40公厘。每伏应绕10圈,初级用0.2公厘直径的漆包线绕2200圈,次级高压用0.16公厘直径的漆包线绕2500圈;低压用0.64公厘直径漆包线绕63圈。这样制成的变压器供给上面的收音机应用时,在炎热的夏季日夜使用并不发热。
低频扼流圈L\(_{6}\)的线圈用0.127公厘漆包线绕5000圈,铁心可利用损坏了的低频变压器的铁片代替。也可以用完好的低频变压器代替,只须将它的B端和G端相联。

本机的装置、零件的排列位置和接线见图4。有下列几件事,装置时值得注意:
1.高频扼流圈L\(_{4}\)如果一时不易买到,可以用电阻代替,但电阻的大小对收音机灵敏度影响很大,普通用5000-10000欧的较好,如果用大了,声音虽更响,但音质恶劣。用电阻总比不上用高频扼流圈的好。
2.如果实验时觉得再生太强,可酌量减少L\(_{3}\)的圈数,或将C1换用一只容量较小的电容器,效果相同。
3.T\(_{1}\)也可以改用电阻交连,但声音要比用T1时轻些。
4.如有现成的电源变压器,次级高压即使稍低,也可应用,不过声音也会稍轻。
收音情况
作者用上述的收音机,在汕头市实验时,接一根9公尺长的天线,高出屋面3公尺,四周都是钢筋混凝土的高大楼房,收音环境不算好,但在夜间就能收听中央人民电台、浙江、安徽、上海、山东以及湖北等远地电台的播音,音质优良,用耳机收听时非常响亮。也曾改用八寸永磁扬声器,发音清楚,可供数人静听。本机如以每天使用7小时计算,每月电力消耗还不到二度。