有线广播网建设中,实际的问题是很多的,这里仅根据实际工作中的情况,提出一些建议。目前我国利用乡村电话线发展广播,线路规格程式还不十分统一,有单线也有双线,特性阻抗不能肯定是多少,而且沿线变化很大,若用阻抗匹配制,设计工作将是极端艰巨而终于无法解决实际问题的。而且布置有线广播网采用“阻抗匹配制”的方法,装拆喇叭很不灵活,配得不好,有的声音轻,有的声音失真。喇叭要对馈电线匹配,馈电线又要对扩大机匹配。使用起来困难是很多的。因此必须吸取苏联的先进经验,采用“定压输送制”的办法。
“定压输送制”说起来很简单,就是不管喇叭怎样分布,也不管喇叭和馈电线的阻抗是多少,反正对每个喇叭都保证供给切合需要的一定的电压。只要电压对了,既不太高也不太低,那末喇叭一定会发出正常的声音。要做到这样,有一个基本的要求,就是扩大机的输出电压要稳定。从扩大机接出去的馈电线如果太长,线上降低电压多,就加变压器来升高电压,所以变压器应当有几种,每种变压器初级都有抽头,次级可以不用抽头,把不同的输入电压接到不同的抽头上,就能够把输出电压调整到恰好是喇叭所需的电压。
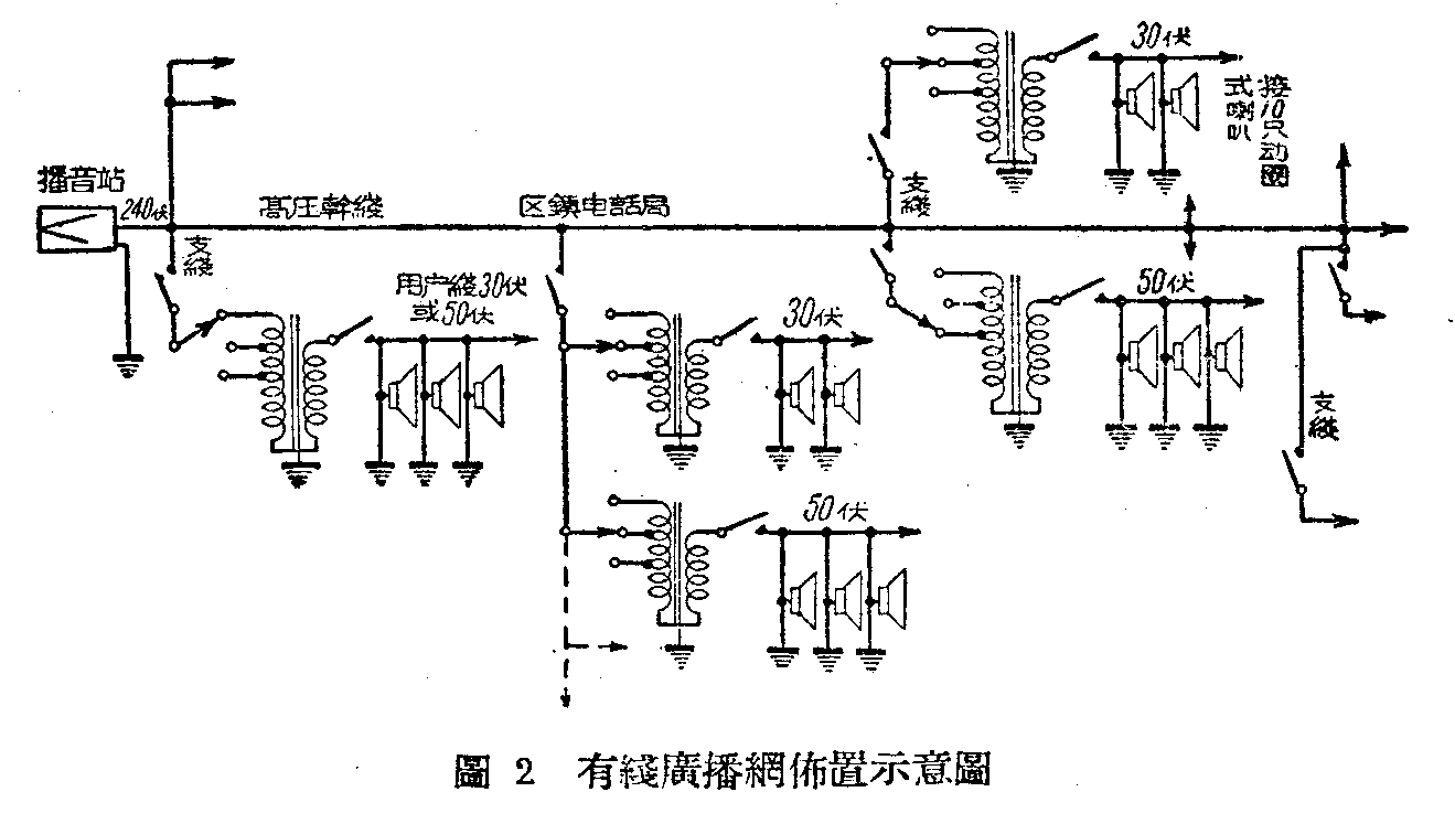
现在我们的乡村电话线路一般绝缘不很高,规定最高的线上电压不能超过240伏,所以240伏就是扩大机所要维持的输出电压。现在我们所用的喇叭有动圈式和舌簧式两种,根据实际经验对这两种喇叭所能输入的最高电压是30伏和50伏。这些喇叭都是直接接到用户线上的,所以用户线上的最高输入电压就是30伏和50伏。几种变压器的初级电压范围尽管不同,它们的次级应当不是30伏就是50伏。也可以用具有30伏和50伏两个输出电压的次级。根据一般县到区和区到县的电话线的长度和镀锌铁线的降压情况,变压器的初级电压范围分0—255伏,0—180伏和0—120伏三种就可以了。抽头每种都是4个,隔15伏抽一个头调整也就够方便了(图1)。

苏联的农庄用户比较集中,路线一远就分几次集中接转,接转前后,线上的电压并不相等。我们的农村相当分散,沿着一对县到区,或区到乡的电话线,到处都可能接上长短不同的用户线,所以最好是在240伏电线上又直接接许多240伏支线,再由支线上经变压器接到用户线。每一路支线加一个开关,由区镇电话局负责管,当这一路支线有故障或短路情形时就断开开关,保证不使别的支线受到影响;每一路用户线也接一个开关,由村干部负责管,当这一路用户线上有喇叭短路时就断开开关,保证不使同一支线上其他用户线受到影响(图2)。

调整用户线上的电压,是这种布线方法中的重要工作程序。调整的手续也很简单:(1)知道扩大机的瓦数、输出电压,负荷电阻就可用输出电压乘输出电压(自乘),再用瓦数一除求得。先用假负荷一个,它的欧姆数是知道的,接在扩大机的输出端,再用一个1000周的振荡器,做扩大机的输入。一面调整扩大机,一面用交流电压表测假负荷两端的电压,到恰好是240伏为止。接着便取下假负荷,把交流电压表拿到各个用户变压器的次级去进行测量。(2)在用户变压器的次级上,先不接喇叭,也先用些假负荷来代替喇叭,每个假负荷的电阻等于喇叭在1000周的阻抗,打算接几个喇叭就并联几个假负荷电阻(一般可用线绕电阻)。然后调整变压器的抽头,使并联假负荷两端的电压恰好是30伏或50伏(图3)。


这样校准后就可以接喇叭,每接一个喇叭只拿下一个假负荷来(图4),可以保证每个喇叭有足够的音量,并使扩大机的负荷稳定。代替0.5瓦动圈式喇叭的假负荷电阻是30\(^{2}\)÷0.5=1800欧,代替0.3瓦舌簧式喇叭的大约是502÷0.3=9000欧。应当注意同一对用户线上,不要接两种式样的喇叭。此外,干线上的电压已经降低到30伏以下,就不要再接支线。用户变压器不能直接接到240伏干线上,以免影响通电话。(沈理华)