(田瑞然)有线广播的馈电线,在整个广播系统中,对影响音质音量的优劣,有决定性的作用,距离愈长,它的影响就愈重要。馈送线有沿线的衰减和沿线拾取的干扰,都应当是愈小愈好。下面我们只谈沿线衰减问题这一部分。
衰减的大小是和线路式样、线上电压、导线直径有着密切的关系。为了音质音量能达到一定的要求,同时又要使建设投资节省。设计时须规定衰减的最大限度,苏联的规定是:从广播站的输出端到扬声器的输入端,线路上的衰减不超过4个分贝。

这4个分贝又跟着线路的级数不同,进行不同的分配,在一级馈送线路中(图1),自α至б衰减为4个分贝。

在二级馈送线路中(图2),自α至б衰减为2—3分贝,αб前半段所接用户线上的衰减为3—2分贝,αб后半段所接用户线上的衰减为2—l分贝。

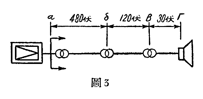
在三级馈送线路中(图3),自б至б衰减为1—1.5分贝,б至в衰减为2分贝,бв前半段所接用户线的衰减为2分贝,бв后半段所接用户线的衰减为1分贝。
仅仅知道了线路上衰减值的限度,和在线路上不同的分配情况,对馈送线的设计仍是没有什么帮助的,尚需知道衰减和线路架设的式样、馈线上的电压, 线路的负荷及导线直径之间的相互关系,然后才能做好设计。但找出这些关系,要经过繁复的计算,并不容易。苏联的专家和工程师们,经过了深入地研究,根据计算和经验,已经创造出许多设计上有用的图表,使设计进程大大简化,现在我们将几种最常用而又简单的表格介绍在下面:
广播馈电线,我国目前还很少用电缆,因此下面选的四种表,都是指用架空明线的情形。

表一:是馈送线电压为30伏时,线路上所接扬声器数N,线路长度千公尺数L,导线直径公厘数∮、 线路衰减分贝数B之间的关系。
表中所列数值是NL的乘积。
例:NL=42就是指馈送线电压为30伏时,导线直径为3公厘的钢线,线路长度为1千公尺,如衰减限为2分贝,应可连接0.5瓦的扬声器42个;或长度的2千公尺时 ,可连接0.5瓦的扬声器21个;或在长度为1千公尺时,可连接1瓦的扬声器21个\(^{*}\) 。

表二:是馈送线电压为120伏时NL、∮、B之间的关系。

表三:是馈送线电压为120伏,在线路长度大于6千公尺时NL、∮、B之间的关系。
上面三个表中所用的扬声器均为装在室内的纸盆型扬声器,若连接了反射型的高音扬声器,可用表四。

表四:表示扬声器的瓦数、馈送线电压、导线直径之间的关系。线路长度假定为1千公尺。
例:在线路长度为1千公尺、馈送线电压为120伏、导线为4公厘的钢线上,所能连接在线路上的扬声器瓦数的总和,为140瓦。
知道了上面的衰减限制值,和衰减值在线路中分配的情况,以及上面的四种表,在你设计一个有线广播播音系统时,对决定线路长度、导线直径和线路上的负荷,都会有一定的帮助。