读了本刊第六期的“低压收音机”后,曾经作了一些试验和改装,现在把所得的结果写出来,并附原来线路图(图1)以供参考。

原线路的改进
(1)用1LN5电子管时,R\(_{3}\)可用20千欧。
(2)用6SJ7电子管时,R\(_{3}\)不要用,只须把第一栅极直接联到B+就可以了。
(3)用6SJ7时,也可以利用丝极上6伏的电位差作为屏压,就成为不用乙电的单管机,见图2。

新线路的试验
图2也是低压收音机的设计,他的第一栅极除了作为信号输入外,同时也具有消除空间电荷的作用。从图中可以看到,他的栅极电路是直通B+的,这样就造成了栅电位高于丝极的电位,也就是栅极对丝极为正,因此就可以抵消一部分集聚在丝极和栅极间的电子——空间电荷,有效的增加了收音机的灵敏度。
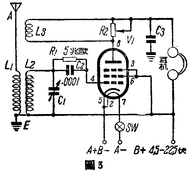
两种线路效率的比较
经过了几次试验和比较,证明了图3的效率好一些,可能有下列两个原因:(一)抑制栅极的圈数总是绕得很疏,同时它的地位距离屏极也很近,所以利用抑制栅极作为信号输入栅极后,电子管的放大率必定是很低的。(二)电压放大管的输出功率微小,声音没有用电力放大管时来得响。

补充说明
(一)一只6SJ7灯丝所耗的电量,要和二十四只1LN5所耗的电量相等,所以,图一的灯丝电源,除了用6伏的蓄电池供给外,用干电池是完全失去经济意义的。
(二)图3所用的电子管,只能用五极强力放大管如1A5GT/G,1S4,3Q4,1T5GT等,像1L4,1N5GT/G,1T4,等的电压放大管是不能用的。(卜文洙)