修理扩音机时,一定要在输出端加上适当的负荷,才能从事检修工作,特别是检修强放级的失真或输出电力。如果扩音机的输出电力很大,用原配的扬声器作负荷,那么发音很响,干扰别人。下面介绍一具修理用的负荷器,使用方便,还可免除这种干扰别人的缺点。
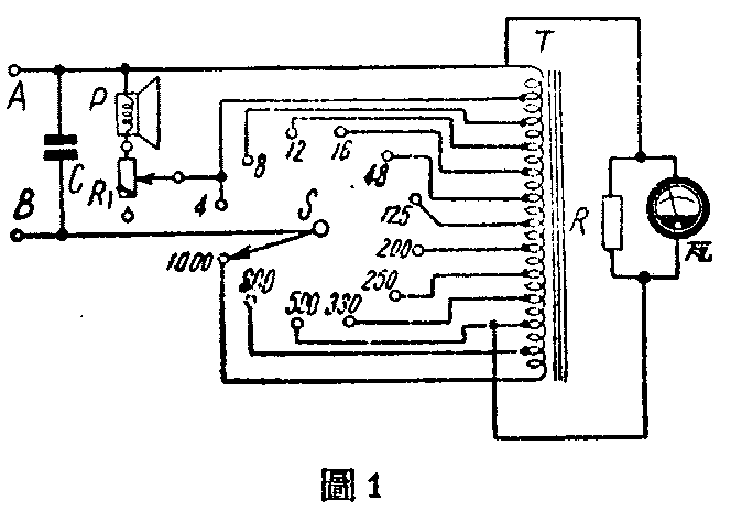
图1是负荷器的线路图,图中T是自耦变压器,在4、8、16………1000等欧处抽头(抽头多少和抽头欧数,以及T的瓦数,可根据需要决定)。R为500欧100瓦线绕电阻(也可用小些的电阻串联或并联组成),跨接在T的500欧抽头上。扬声器音量控制R\(_{1}\)为300欧10瓦可变电阻,当旋臂旋到电阻最大处,形成开路,扬声器不响。P为监听扩音机音质好坏的30公厘径永磁扬声器,音圈阻抗8欧。W为输出电力表,固定装置在0—500欧抽头上。此表可根据电压=\(\sqrt{电力×电阻}\)的公式,用0-300伏动圈式交流电压表改装。例如输入电力为80瓦时,相当于表面电压80×500=200伏;输入20瓦时,相当于100伏等。把算得的各电力瓦数,注在表面上相应的电压数字上面,也可另换一块专读瓦数的表面(图2)。在绘制表面时,如估计到T只有80%的效率,将输入电力乘以0.8就更精确。S为单刀12掷变换开关,接触点导电要好。如无适当开关,可用三波段开关改装。C为0.01微法(300-600伏)电容器,防止S接触点导电不良而烧毁输出变压器。


这负荷器使用时只要在A、B处接上扩音机的输出端,把S旋到和扩音机输出阻抗相同的接点上,就可进行检修。
在量扩音机的输出电力时,应把R\(_{1}\)旋到开路位置(扬声器不响),结果方能准确。
检修完毕的扩音机,如果输入适当电平的信号、电力表应指出规定的输出电力,否则就说明故障仍未彻底消除,应再作进一步的检查。(朱剑和)