怎样给自己装的收音机,配上一个变压器,这是大家所经常会遇到的问题。解决这个问题的方法,最好通过一个实际例子来说明。
假设有一部五灯收音机,选用的电子管是6SA7、6SK7、6SQ7、6V6和5y3。5y3是整流管,其他电子管的直流电压和电流都靠它供给。5y3是否足够供给呢,我们可以从电子管特性表里把有关的数值摘录下来进行初步分析:
管名 屏压 阴极电流 灯丝电压 灯丝电流
(伏) (毫安) (伏) (安)
6SA7 250 14 6.3 0.3
6SK7 250 11.6 6.3 0.3
6SQ7 250 0.9 6.3 0.3
6V6 250 54 6.3 0.45
5Y3 500 120 5 2
(每屏最大值)(最大电流)
把前四个电子管的阴极电流总起来得14+11.6+0.9+54=80.5毫安。5Y3能用到约500伏的电压和120毫安的电流,而现在只需要它供给250伏的电压和80.5毫安的电流,说明它是没有问题的。


因此,我们就决定用5y3做整流管,并选择一个最普通的电容器输入式的整流滤波线路如图1。图1中滤波电容器的容量是8微法,滤波线圈的电阻是200欧。
现在,我们要解决下列几十问题:
1.各线圈的伏安数是多少,用什么样的线绕成?
2.用什么样的铁心,尺寸如何,各绕多少圈?
解决了以上两个问题,我们的变压器就完全可以自己制作了。
Ⅰ.线圈的伏安数和线径
关于变压器的设计,经验公式是很多的。本文引用的是苏联小电力变压器设计公式和图表。
我们先将各线圈编上号码:初级220伏线圈——1;次级升压线圈——2;次级6.3伏线圈——3;次级5伏线圈——4。
例如:P代表伏安数,那末P2就是升压线圈的伏安数。
U代表电压,U\(_{1}\)就是初级线圈的电压。
I代表电流,I\(_{3}\)就是6.3伏灯丝线圈的电流。
w代表圈数,n代表层数,w\(_{1}\)和n1就分别代表初级线圈的圈数和层数。余类推。
令滤波器的输入直流电压为U\(_{0}\),电流为I0,各次级线圈总伏安数为P\(_{T}\)=P2+P\(_{3}\)+P4,变压器的效率为η。
对于全波整流不充气电子管的线路,苏联有几个极实用的计算公式,
就是:U\(_{2}\)=2.2U0,I\(_{2}\)=1.2I0,P\(_{2}\)=0.7U2I\(_{2}\),
P\(_{T}\)=P2+P\(_{3}\)+P4, P\(_{1}\)=PTη,I\(_{1}\)=1.1P1;U\(_{1}\)。
在我们的例子里,输出直流电压为250伏,直流电流为80.5毫安,在滤波线圈的200欧电阻里,降压为200×80.5=16.1伏。故U\(_{0}\)为250+16.1=266.1伏。U2=2.2U\(_{0}\)=586伏,即两端对中心抽头处电压各为\(\frac{586}{2}\)=293伏I2=1.2I\(_{0}\)=1.2×80.5=96.6毫安;P2=0.7×586×96.6=39.4伏安;
P\(_{3}\)=6.3(0.3+0.3+0.3+0.45)=8.5伏安;P4=5×2=10伏安。
∴P\(_{T}\)=P2+P\(_{3}\)+P4=39.4+8.5+10=58.9伏安。
变压器的效率η,我们知道应当与铁心的品质,磁流密度及铜线损耗都有关系。苏联的资料包括了这些因素,给出可靠的经验数据如下:
变压器的PT 磁流密度B 铜线电流密度Δ η
(单位伏安) (单位高斯) (单位 安/平方公厘)
——————————————————————————————
50-100 10000 2-2.5 0.85-0.9
我们的例子里,P\(_{T}\)=58.9伏安,可选择η=0.85,Δ=2,得P1=58.90.85=69.4伏安。因此I\(_{1}\)=1.1P1;U\(_{1}\)=1.1×\(\frac{69.4}{220}\)=69.4;200=0.347安。并由Δ=2,求出线径d与线上电流I的关系为:Iπ;4d\(^{2}\)=2,即d=0.8\(\sqrt{I}\)。
∴d\(_{1}\)=0.8\(\sqrt{.}\)347=0.47公厘,
d\(_{2}\)=0.8\(\sqrt{0}\)966=0.249公厘,
d\(_{3}\)=0.8\(\sqrt{1}\).35=0.93公厘,
d\(_{4}\)=0.8\(\sqrt{2}\)=1.13公厘。
查苏联铜线表(我国铜线表完全相同,请看本刊9期20页)有现成铜线直径0.47、0.25、0.93及1.16四种合用。
因此,本节计算结果可综合列出如下:
P\(_{1}\)=69.4伏安,U1=220伏,I\(_{1}\)=0.347安,d1=0.47公厘,
P\(_{2}\)=39.4伏安,U2=586伏中心抽头,I\(_{2}\)=96.6毫安,d2=0.25公厘,
P\(_{3}\)=8.5伏安,U3=6.3伏,I\(_{3}\)=1.35安,d3=0.93公厘,
P\(_{4}\)=10伏安,U4=5伏,I\(_{4}\)=2安,d4=1.16公厘。
Ⅱ.铁心的尺寸和线圈的圈数
我们首先按一般情形选定用漆包线(ПЭ),并用壳式铁心,形状如图2。它的几个主要尺寸为a·b·c及h。其中ab为铁心截面积Q\(_{c}\),hc为铁心窗口面积Qo,即Q\(_{o}\)Qc=a·b·c·h。
窗口面积Q\(_{o}\)与绕线圈所用铜线直径及绝缘物所占面积有关,也就是Qo与P\(_{T}\)有关,因为上节我们求线径时,是根据各线圈的伏安数来计算的。同时,铁心截面积Qc与磁流密度有关,而滋流密度又是与各线圈的伏安数有关的。即Q\(_{o}\)和Qc都与P\(_{T}\)有关。苏联资料给出QoQ\(_{c}\)的乘积对PT的关系曲线如图3。

例如我们的例子,P\(_{T}\)=58.9伏安,查图3曲线得QoQ\(_{c}\)=125。
苏联小型变压器的铁心,已经标准化,计有Ш—11……Ш—40等式样,其中a·b·c·h的乘积与125适合的为Ш—25号,它的尺寸如下:
a=2.5公分,c=2.5公分,h=6公分,b为叠置厚度,看需要而定。
我们就选用Ш—25型钢片,它的最小叠置厚度为
b=\(\frac{Q}{_{o}}\)Qcach=125;2.5×2.5×6=3.34公分。
我们可试取b=3.5公分,得Q\(_{c}\)=3.5×2.5=8.75平方公分。
有了Q\(_{c}\)以后,苏联资料中简单的指出在B=10000情形下,求各线圈圈数的方法为:
w\(_{1}\)=48U1Q\(_{c}\),wn=52U\(_{n}\);Qc
上式中n=2,3,4等。在我们的例子中,U\(_{1}\)=220伏,U2=586伏,U\(_{3}\)=6.3伏,U4=5伏。因此得:
w\(_{1}\)=\(\frac{220}{8.75}\)×48=1230圈
w\(_{2}\)=\(\frac{52}{8.75}\)×586=3480圈
w\(_{3}\)=\(\frac{52}{8.75}\)×6.3=37.5圈(用38圈)
w\(_{4}\)=\(\frac{52}{8.75}\)×5=29.7圈(用30圈)
本节计算的结果,均用图4表示。

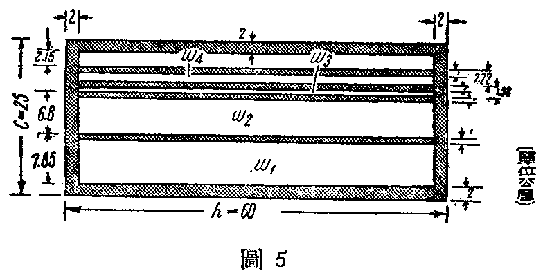
Ⅲ.检验计算结果
检验上面计算的给果是否正确,主要是看这些线圈是否能够绕得下,窗口面积是否适合。检验时,我们采用线圈架的标准厚度为2公厘,层间绝缘厚度为0.07公厘,线圈间的绝缘厚度为1公厘,并须参考苏联铜线表每公分长度所能绕之圈数(本刊9期20页)。检验步骤如下:
1.线圈排列的长度=h-2×2=60-4=56公厘
2.线圈1在56公厘内可绕的圈数w'\(_{1}\)=19.8×5.6=111圈
∴w\(_{1}\)的层数为\(\frac{1230}{111}\)=11.2(用12层)
线圈1的高度=12(\(\frac{10}{19.8}\)+0.07)+1=12×0.575+1=7.85公厘
3.线圈2的w'\(_{2}\)=37×5.6=207圈,
n\(_{2}\)=\(\frac{3480}{207}\)=16.8层(用17层)
∴w\(_{2}\)的高度是17(\(\frac{10}{37}\)+0.07)+1=17×0.34+1=6.8公厘
4.线圈3的w'\(_{3}\)=10.2×5.6=57,
n\(_{3}\)=\(\frac{38}{57}\)=0.67层(用1层)
∴w\(_{3}\)的高度=\(\frac{10}{10.2}\)+1=l.98公厘。
5.线圈4的w'\(_{4}\)=8.2×5.6=45.9,
n\(_{4}\)=\(\frac{29.7}{45.9}\)=0.65层(用1层)
∴w\(_{4}\)的高度=\(\frac{10}{8.2}\)+1=2.22公厘。
6.变压器各线圈的总高度=7.85+6.8+1.98+2.22=18.85公厘
7.线圈和铁心间的空隙为:25-18.85-4=2.15公厘
所以设计是正确的。检验结果如图5。

(本刊根据“小电力变压器及滤波扼流圈的计算”一书编写)
几种苏联壳式铁心的程式和尺寸对照表
铁心程式 a b c h Q\(_{c}\) Qo Q\(_{c}\)Qo
Ш-11 公分 公分 公分 公分 平方公分 平方公分 平方公分
1.1 1.0 1.15 3.4 1.1 3.9 4.3
1.1 2.0 1.15 3.4 2.2 3.9 8.6
Ш-15 1.5 1.5 1.35 2.4 2.25 3.24 7.3
1.5 3.0 1.35 2.4 4.5 3.24 14.6
Ш-19 1.9 2.0 1.7 4.6 3.8 7.8 29.6
1.9 4.0 1.7 4.6 7.6 7.8 59.2
Ш-20 2.0 2.0 1.0 3.0 4.0 3.0 12.0
(缩小了 2.0 4.0 1.0 3.0 8.0 3.0 24.0
的尺寸)
Ш-25 2.5 2.5 2.5 6.0 6.25 15.0 94.0
2.5 5.0 2.5 6.0 12.5 15.0 188.0
Ш-30 3.0 3.0 1.5 4.5 9.0 6.75 61.0
3.0 6.0 1.5 4.5 18.0 6.75 122.0
Ш-40 4.0 4.0 3.0 7.0 16.0 21.0 335.0
4.0 8.0 3.0 7.0 32.0 21.0 670.0