在无线电的发展过程中,曾经采用过不少巧妙的电路装置。克服了许多具体困难。负回授电路就是其中一个鲜明的例子。
一般在广播发信机方面,最需要讲经济的地方在最末的高频功率放大级,而这一级被过分使用(运用在非直线部分)的结果,所产生的失真和杂音特别多;若改用效率很低的直线放大级,并用直流电源供给灯丝,所增加的设备是很可观的。
而用了负回授电路以后,就可以由功率电子管得到最大的电力输出,并可以用交流灯丝电源。
在广播收音机或扩音机方面,扬声器对某一个特殊音频发生谐振,在这个频率,很小的电功率就可以使它发出同样大的声音,就等于在这个频率上,电子管的负荷特别减轻了,因此电子管的输出电压相应的升高,对扬声器的推动力更大,结果发出隆隆的过负荷的声音。特别是当输出级用束射功率管(如6V6、6L6)时,因为屏阻比较大,对扬声器的音圈来说,负荷比较小,对扬声器的谐振没有阻尼作用过负荷的现象就更厉害。若抛弃优点多的束射管而采用屏阻较低的三极电子管显然不是理想的办法。
而用了负回授电路以后,功率输出管就可以尽量采用束射四极管。
除此以外,负回授电路还能够免除音频放大级所产生的失真、交流声和杂音。工作稳定,好处是很多的。
负回授电路是怎样工作的
设若在一个广播发信机里,产生了10%的音频失真,而我们希望把失真度减小到1%。这里所谓“失真”,指原来的音频是一个正弦曲线。有了失真,就产生出谐波的意识。

图1的E\(_{f}\)代表原来不失真的正弦曲线,设它是发信机调幅部分输入电压的波形。而现在调幅后的电波的包线波形与Er相似,这曲线的顶上比较平,很显然的含着三次谐波,有了失真。也就是说:E\(_{r}\)的波形,可以看成是相当于输入端有Ef和E\(_{3}\)同时存在,而发信机并不产生失真所得的波形。只要在输入端能够加入一个电压消除E3,就可以免除失真。
图1的E\(_{j}\)就是这样一个大小和E3相等相位相反的电压,它和E\(_{f}\)合并,加入到调幅部分的输入端得出波形如Ed,再发生失真,就恰可得到不失真的调幅波的包线波形。

图2表示在发信机上产生E\(_{j}\)的方法之一,从发信机输出回路上取一部分高频电压,整流后得到音频电压,回过头来又串接在调幅器的输入端,与直接由语言产生的音频输入电压相并。整流后所得到的波形,既含有基波成分,又含有三次谐波成分,把相位和大小调整适当,就可得到Ej。
但在得到回授电压E\(_{j}\)的同时,我们也将基波成分回授到了输入端,Ej和E\(_{3}\)相消,回授的基波成分也同时和输入的基波部分相消,原来的电压如为正,回授电压就为负,所以叫做“负回授”,等于把输入信号减低了。如果要维持原来的输入标准,输入信号电压就必须增加。
现在我们的要求是把失真度由10%减为1%。设输入信号电压原为10伏;10%的失真相当于三次谐波的输入为10×\(\frac{10}{100}\)=1伏。根据要求,要把1伏变为实际输入0.1伏,因此回授的电压应当为0.9伏。即回授电压为实际输入电压的9倍,那末回授的基波电压应为90伏。要维持原来输入10伏的标准。输入信号电压应增加到100伏。
事实上,不仅三次谐波,其他凡在输入端没有,而输出端里有的各种失真和杂音(包括灯丝的交流电压)的电压,都因有回授作用,同时减低了1/10。而仅信号电压输入有增加,故信号输出不变。
显然的,用这种方法,失真和杂音电压还不会减到0,因为失真和杂音完全消失,也就没有回授作用的可能了。但如调整和设计得当,失真和杂音都能够减到极小的程度。
我们再想像在一部广播收音机(或扩音机)里;输出功率放大级,有了失真及扬声器谐振现象,因此我们加入一个负回授电路。很显然的,当扬声器谐振时,输出电压升高,负回授电压也加大,因此自动防止了困输出电压升高使扬声器过荷的现象。
加用负回授后,若前级输出也相应地加大,方可维持输入信号电压不变,而使功率放大级的输出并不减少。这样一切失真和在电子管内产生的不正常现象都可大大减弱或免除了,而且功率放大级的频率响应特性也改进了。因为一般放大级频率响应不佳,是因为负荷随频率变动的原故,加负回授电路以后,等于负荷稳定,所以高低频率端的响应都有了改进。又由于负荷不大变动,所以放大级的工作也比较稳定。
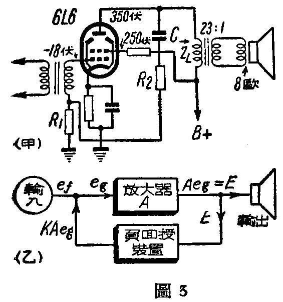
实际例子

设有一6L6管,屏压350伏,帘栅压250伏,栅压为一18伏作甲类放大如图3甲,输出经23:1的变压器,到一音圈阻抗为8欧的扬声器。那末,电子管的输出负荷阻抗就是:
2\(_{L}\)=RL=23\(^{2}\)×8=4200欧
我们采用图4甲的负回授电路令回授电压对输出电压的比为K(图3乙)。由回授电路的接法,显然可以看出K=\(\frac{R}{_{1}}\)R1+R\(_{2}\)(C的容量很大,其阻抗可以忽略不计)。
K的值,对五极管及束射四极管来说,因屏阻极高,又可用\(\frac{1}{G}\)\(_{m}\)RL来计算, G\(_{m}\)为6L6的跨导。
现在,6L6的G\(_{m}\)为5200微莫(当屏压为350伏,帘栅压为250伏,栅负压为-18伏时),因此得出:
K=\(\frac{1000000}{5200×4200}\)=0.045
R\(_{1}\)+R2的数值我们可以任意假定为l0000欧,这并联在2\(_{L}\)=4200欧上是没有多大影响的。然后可求出:
R\(_{1}\)=K(R1+R\(_{2}\))=0.045×10000=450欧。
R\(_{2}\)=10000-450=95500欧。
为了抵消回授电压,输入信号电压应由e\(_{g}\)增加到ef。e\(_{f}\)和eg的关系显然为:
e\(_{f}\)=eg+KAe\(_{g}\)
这里,A为这级的放大倍数。
因假定是甲式放大,可令e\(_{g}\)峰值等于最大负栅压-18伏,我们晓得6L6管的输出电功率P约为10.8瓦。令输出电压为E,
由P=\(\frac{E}{^{2}}\)R\(_{L}\)式,得E=\(\sqrt{PR}\)L=10.8×4200
=213伏
即 输出电压峰值为213×1.414=300伏
所以: A=\(\frac{300}{18}\)=16.6
得出:\(\frac{e}{_{f}}\)eg=1+KA=1+0.045×16.6=1.75。
换句话说,有负回授后,输入电压应增加1.75倍方可保持同样电功率输出。失真度和杂音也同时减少了1.75倍。这样减少得不算太多,还可以改变R\(_{1}\)和R2使K增大来改进。
例如,K=\(\frac{R}{_{1}}\)R1+R\(_{2}\)=10000;10000+90000=0.1,
就可使失真度和杂音减少为2.66倍。负回授是否符合要求,就是这样逐步计算得出来的。
电压负回授和电流负回授

对放大器来说,通常有两种方法来得到负回授,就是如上例的并联电阻法和串联电阻法,请看图4及5。图4是将一电位器并联在放大器两输出端,回授电压就是A、B两点间的电压降,这个电压降与输出电压成正比,所以叫电压负回授,回授系数K决定于B点的位置。图5是串联电阻法,回授电压与输出电流成正比,因此叫做电流负回授,K也是自B点的位置决定。最常用的电流负回授方法如图6,当虚线所接的电容器C不用时,阴极电流在R两端产生电压降,其相位系与栅极电压相反,所以得到负回授作用。(邵 麟 孙明治)