自从无线电工程上的成就应用到医学方面以后,便有可能用新式的方法来诊断和医疗许多病症。本文就是向读者介绍利用脉冲电流在疾病诊断和医疗方面的一些方法。
还在十九世纪时,俄罗斯的两位科学家——И.И.舍尔科夫教授和H.E.维兼斯基院士,就已经首先开始研究有生命的有机体的带电现象,同时并为这门新的科学——电生理学奠定了基础。但是,仅在电子管放大器的进一步发展和脉冲电路出现以后,电生理学才跳出了实验室的圈子,在医学方面得到了广泛的实际应用。因此我们就有可能将人体器官如末脑、心脏和胃等在工作时所产生的极其微小的电流值放大,并将它们记录下来,然后进行诊断。
高等动物的神经系统,及其首要部分——末脑,正如俄罗斯伟大的生理学家H.E.乌维兼斯基、H.M.谢岑诺夫,和И.П.巴甫洛夫等所证明的,能使有生命的有机体和外界环境保持连系,同时并控制着其各个器官的活动。神经系统具有感受刺激的一种性能,也就是对于一定的刺激有一定的反应。当受到各种性质不同的刺激时,神经系统的感觉成分和分析成分对各种刺激的反应也不一样。在诊断方面便广泛地利用了这种特性。
可以肯定,有生命的有机体对各种不同脉冲电流作用的反应也是不一样的。各种不同的反应是与脉冲的振幅和波形有关。特别是和电流前沿升起的陡度,脉冲的重复频率和持续时间有关。根据有机组织对各种电流脉冲作用的反应,可以断定神经系统有何不正常的现象,找到病症的所在,同样又可看出在诊治过程中所发生的交化。所有这些都包括在各种不同的电气诊断方法以内。
脉冲电流也同祥广泛地应用在治疗方面,例如当末梢神经受伤而动作不灵时便可应用。电气体操顺利地用来进行对肌肉的电气刺激。施行这种治疗方法时,要使用这样一种电流脉冲,它所发生的肌肉收缩,能最接近于自然状态的收缩(泛化性收缩与迟缓交替)。这样的刺激,就不会是任何一种波形的单一脉冲,而是具有一定频率的一组连续的脉冲。
脉冲电流在实行人工睡眠疗法方面也很有用处。用一定波形和一定周期的脉冲电流刺激末脑,可使中枢神经系统中发生弥漫性抑止,而引起人工睡眠,即所谓“电睡眠”,接近于自然的睡眠。这种睡眠疗法,已推广到用来治疗这样几种疾病,如高血压症和由末脑受伤而引起的各种神经病和其他病症。
古曲电气诊断仪器 最老式的电气诊断方法之一,即所谓“古典电气诊断法”。这种方法主要是研究肌肉受到直流脉冲,或尖顶波形(延续时间1—1.5毫秒)的电流脉冲(重复频率为100周)的刺激时,所发生的运动反应。从前,直流脉冲是直接从原电池获得,而尖顶脉冲则从加有断续器和感应线圈的电路中获得。由于这种电流不太稳定,测定结果往往不够可靠,不合乎实际情况。
在苏联国立物理疗法科学研究所内,曾经制造了一种能够产生电流脉冲并为进行古典电气诊断法所必需的仪器。工业上出产的这种仪器叫做“KЭД”,是由两个闸流管TГl-0.1/1.3(Л\(_{1}\)和Л2)(图1,a)所组成。闸流管Л\(_{1}\)和Л2的屏极和变压器TP的升压线圈相联接,而其栅极则通过电阻R\(_{1}\)及R4和线圈Ⅱ及Ⅳ相连接。这线圈的两端,分别接到C\(_{1}\)、R2和C\(_{2}\)、R3的串连回路上。利用电阻R\(_{3}\)和R2,可以使闸流管栅极上的电压相位,在相当限度内和屏极的电压相位成比例的改变。这里,每一闸流管,由于栅极电压和屏极电压基本上反相,每半周期的大部分时间没有屏流,只有每半周的终点,每管才有屏流约1.5毫秒。这样一来,带有陡峭脉冲前沿的稳定脉冲电压(其重复频率为100周,如图1б),便可以从电位计R\(_{5}\)上取得。如果把电阻R2和R\(_{3}\)暂时关闭(如图1虚线所示),则电子管栅极上的电压,将和屏极的相位相同,而闸流管也将发生和普通整流器一样的作用。如果在图1上aa1及бб\(_{1}\)(图1a)等处,接上平滑滤波器(图1в),即可从电位计R5上取得直流电压。进入病人体内的电流,在每一种的状态下都由毫安计mA来表示。

古典电气诊断方法,因为是用有固定持续时间和频率的电流脉冲来进行刺激的,因此只能大略断定肌肉和神经的激动程度。要想获得比较精确的诊断,就必须有各种频率的脉冲电流,同时脉冲的持续时间必须延长,而频率则要减低。在检查失去了机能的肌肉时,宜于利用前沿坡度较缓(该前沿坡度是随指数而增减的)的脉冲来进行(尤其在频率较低时,图2)。

电气诊断和电气体操用的仪器
电气诊断和医疗电气体操,可用“ACM-2”仪器进行。这种仪器,能产生直流电流、脉冲电流、指数电流和尖顶脉冲电流。图3示这种仪器的简单原理。两个双三极管6H7C(Л\(_{1}\)和Л2)是多谐振荡器。其中Л\(_{1}\)是瞬时脉冲振荡器,Л2为调制器。脉冲重复频率(在8—100周范围内)及其持续时期(约1.0—1.5毫秒)的调整,可以用改变分压器R\(_{1}\)—R16所供给电子管栅极偏压的方法来进行。脉冲持续时间和脉冲间的间隙时间的比值,在调整中经常保持一定。这一比值,在频率低时为1比1、频率较高时往往是1比2。当频率大100周时,相当于尖顶脉冲的比值等于1比6。
调制及多谐振荡管(Л\(_{2}\)),当用作电器体操器械时,才用开关BK接通。这多谐振荡器所产生的脉冲(每分钟脉冲数8—48次),重复频率极小。这频率可用电阻R21调整。
从第一多谐振荡器(Л\(_{1}\))发生的振动,经过电容器C3,而传到变频管6A8(Л\(_{3}\))的第一栅极上。从第二多谐振荡器发生的调制电压,经过C7及电阻R\(_{28}\)和R30,进入变频管Л\(_{3}\)的第四栅极。结果变频管Л3的屏极回路上电流的基频为8—100周,受0.14—0.8周的较低频率所调制。从变频管6A8屏极负荷上取得的电压,经过脉冲形成回路R\(_{35}\)R36C\(_{9}\),送到电子管6Ⅱ3C(Л4)的栅极。脉冲电流从电位计R\(_{37}\)接到和病人身体相接触的电极,电流大小可看毫安计mA来进行调整,这毫安计表面刻有脉冲电流的振幅值。
为了简化起见,图(3)上没有绘出电源。这电源是用两个5Ⅱ4C电子管做成的整流器所供给。整流器之一供级末级的电源,而另一整流器则供给两个多谐振荡器和一个变频管的电源。

电睡眼治疗用仪器
还在二十世纪初期,Г.C.卡连达罗夫,ЛЛ.华西里耶夫,Ш.列裘克等人的著作,就已证明:矩形脉冲电流,通过人和其他动物的中枢神经系统,可能引起失去知觉,消失反射作用等类似麻痹的现象。这种方法叫做“电流麻醉”。因为在有些场合能附带引起一些危险症状(如脉搏衰弱心脏活动停止等),所以这办法在实际运用中受到了限制。
近年来,由于苏联科学家B.A.吉略罗夫斯基,H.M.利温泽夫等人的努力研究,才知道如果减少电流量,和改变脉冲的频率和性质,便可造成近于自然状态的睡眠,此种睡眠,实际就能保护中枢神经系统。
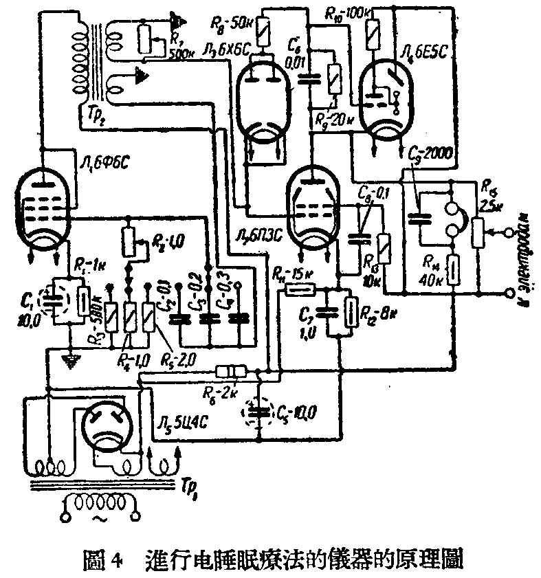
很多疾病用电睡眠治疗,都收效良好(这里所使用的是低频率(1—20周)电流的矩形短脉冲(0.2—0.3毫秒)。通电流到人身体的电极,一般是放在病人闭着的眼睛上或耳朵的后面。图4所示即为进行电睡眠疗法时所使用的仪器的附图。这仪器为H.M.利温泽夫和M.П.斯皮岑科夫两人所制造。这仪器上所利用的主控振荡器是使用6Φ6C(Л\(_{1}\))电子管,它的屏极和栅极回路相互作低频率的紧密交连。振荡频率的分段调整,用转换电阻R3—R\(_{5}\)和电容器C2—C\(_{4}\)进行,而细微调整则用可变电阻R2。

脉冲持续期(在0.2—0.3毫秒限度内),可用RЛ7加以调整。脉冲的放大,利用安装在电子管6Ⅱ3C(Л\(_{2}\))上的输出级。脉冲电压从接入电子管Л2屏极电路的电位计R\(_{1}\)5上取得。
这仪器的工作情况,可用光学指示器6E5C(Л\(_{4}\))进行检查,或藉话筒T来验听。这仪器的电源。由电子管5Ⅱ4C(Л5)上的一个普通整流器供给。
近来在物理治疗研究所制作了一批仪器,可以用来同时给三至五个病人施行电睡眠疗法。

脉冲电流应用于医学方而的还不只上述这几种仪器。这种带电子管的仪器,同样还用于作特别精确的“时值”测验。(时值即用电流刺激神经系统各个部位时的界限时刻,神经系统对所施行之刺激发出反应的一顷刻叫做界限时刻)。这仪器的大概形状如图5所示。脉冲电流又用于引起人工呼吸,以及在救治假死等其他许多场合也可应用。
本文所谈到的,主要是几种在医学方面常用来进行诊断、治疗的仪器的脉冲简图。 ((芬联)И.阿布里科索夫著,汪德屏、程维仁译自苏联无线电1954年12期。)