直流电子管,如30,它的灯丝通常是用电池加热的。如果改用交流电源来加热(图1),因为交流电的极性不断地变动,正半周时栅极电压将比灯丝上b点的电压高出2伏,而在负半周时,又将比b点的电压低两伏。由于栅极对丝极电压的不断变动,结果屏流也有相应的增减,使电子管的输出中,含有极大的交流成分。

避免发生这种现象有几种办法,最简单的方法是将图1的灯丝变压器中心抽一个头,把栅极接在中心抽头上(图2),那末在正半周时,栅极电压将较a点低1伏,而较b点高一伏;在负半周时,又较a点高1伏而较b点低1伏。但对数个丝极来说,极性相反而数值相等的各电压将互相平衡,交流声可以减得很小。有些用直流电子管2A3充功率放大级的扩音机中,都是采用这种灯丝线路。

另外有一种灯丝上原有中心抽头的电子管如3A4,3Q4,3V4,3Q5GT等,使用起来,就更方便,只要把栅极接在那灯丝的中心抽头上(图3),就和图2的作用完全一样。而且因为变压器的中心抽头很不容易恰好抽在中点,而电子管的灯丝是精密制造的,中心点非常准确,实际使用的效果更好。

我们可以用两个收音机的线路图,来说明这种用法。

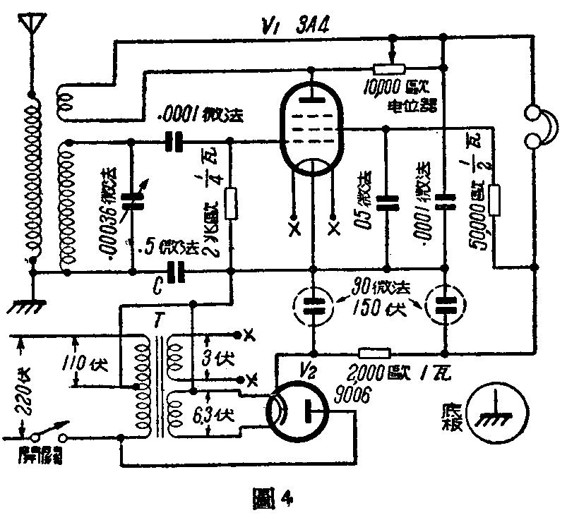
图4是交流两灯机。V\(_{1}\)除3A4外,尚可用3Q5GT,3Q4……等代替,应当特别注意灯丝和栅极的接法。V2 除9006外,也可用6C4,6J5GT,6C5等代替,只须将栅极和屏极联成二极管就好用。变压器T的接法可以省去一组高压线圈,怕底板麻电,又将电源线和底板用电容器C隔开。因3A4是功率放大管,它有栅极检波兼放大的作用,所以输出勉强能推动一个小型的磁石式扬声器。

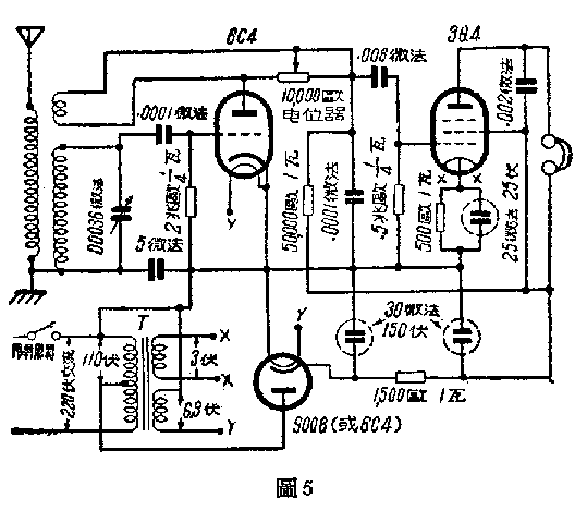
图5是交流三灯机,用6C4充再生式检波,3Q4充强放,输出电力已经可推动扬声器放出相当大的声音。
这种收音机,由于灯丝电流极小,用电是极省的。
经过多次的试验,这样使用直流电子管的方法,最好是用在收音机或扩音机的末级。因为用了交流灯丝电源,总免不了有一些轻微的交流声,假使被后面的一级或几级放大,末级输出里是会有相当大的交流洪声的。
此外,能够用扬声器放音最好。收听的人离开发音器越远,交流声就越不易觉察;若用听筒,交流声就比较明显。(卜文洙)