磁性天线和环形天线一样,具有方向性,许多收音机里已有采用。它的体积非常小,不容易受干扰,可以放在收音机的机壳里,不受其他金属零件的影响。它的接收效力,并不比环形天线差。
磁性天线的基本元件是线圈,绕在高频磁性物质的铁心上。铁心有聚集外来磁场里的磁力线的作用。铁心的导磁率愈大,在线圈里感应的外来信号的电动势也就愈大。


中波和长波所用磁性天线的形状如图1。从图2可以看出它在收音机里的接法。
最初的磁性天线,是用一种导磁率低的铁矽铝合金的铁心。(阿尔西佛),效率低,体积也大。最近采用了导磁率很高的高频磁性物质(凡利特)。
同样的线圈绕在用磁性材料和非磁性材料所制圆环上,电感量是不同的,这两电感量的比,是那磁性材料的“环路导磁率”。
“阿尔西佛”的“环路导磁率”约17-21,而“凡利特”的达到2,000以上。所以在天线线圈里,诱导出的电动势U\(_{BBθд}\)较大。这种磁性天线线圈和可变电容组成的调谐回路的Q很高,所以加到Л1信号栅极的电压U也大(图2)。
我们晓得:U=U\(_{BBθд}\)×Q,
因为U\(_{BBθд}\)=E×hA.
E——电场强度,h\(_{A}\)——天线的有效高度。
所以 U=E×h\(_{A}\)×Q 。
磁性天线比环形天线的有效高度小,但由于采用凡利特铁心,谐振回路的Q约为200—300,所得的U和环形天线相差不大,这两种型式天线的效率是彼此很接近的。
磁性天线的有效高度比起无铁心的同样线圈要大几倍。它们的比值μ\(_{CT}\)由铁心材料的环路导磁率μTOP和轴长对轴径的比所决定。

当铁心的轴无限加长时,系数μ\(_{CT}\)随着增加到接近于铁心的“环路导磁率”μTOPμ\(_{CT}\)和“轴长l/轴径d”的关系略如图3,图中不同的曲线,相当于铁心有不同的μTOP值。
的比值约为15—25,轴如太长,就不便放在收音机的机壳里。轴径约5—10公厘,把直径减到5公厘,天线效率开始下跌。

要天线的效率高,比值l/d和轴径d应选择得尽可能地大。增加轴径,从轴的牢固性的观点来看也是有利的。

具有μ\(_{TOP}\)=300—700的凡利特材料,只宜用于长波和中波,若用于5—20兆周,它的导磁率随着频率的增加而激减,而轴内的损耗又增加,所以磁性天线用于6兆周以上是不合适的。
用单层线圈的磁性天线的有效高度,和μ\(_{CT}\)线圈的截面积、线圈长度和铁心长度的比值、线圈圈数、线圈中心至铁心中心的长度和铁心长度的比值等因素成正比,而和波长成反比。在长波和中波段,它的值约0.7—1.5公分。密绕的较长线圈,圈数多,有效高度较大。
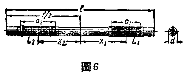
接收两个波段的磁性天线,可以在公共的铁心轴上绕两个线圈,调节的方法是把线圈沿轴移动,改变它们的电感量。为了减少线圈间的互感量,两个线圈应分别位置在轴的两端,每个线圈离轴端约25—50公厘。

线圈是用直径约0.1—0.15公厘的线或绞线绕在细纸管上。用绞线的线圈Q值可达200—300。长波线圈单层密绕,中波线圈不必密绕。

图6在绕就的线圈上注上代表符号,便于我们看上表所列的各项参考数值:
在表上的是中波段调谐到300公尺,长波段调谐到1034公尺时,两种组合天线的基本数据和Q值(μ\(_{TOP}\)=370和μTOP=700)。长波段两线圈串联,中波段长波线圈L\(_{1}\)被短路(图2)。长波段实际上Q超过需要,还要在线圈上并联一个电阻(图2的R1)。
磁性天线可以适当的防止干扰,因为它和环形天线一样,有它的方向形,最小点比较尖锐,转动整个收音机,可以使得干扰最小,这时收信最小的方向正好对准了干扰电台。如果收音机是固定的,可按图7的装置来转动磁性天线。

和环形天线比较,磁性天线的线圈体积小,但也同样有“天线效应”,影响它的方向性最小点的尖锐程度,不过因为它的体积小,“天线效应”也比较小些。把磁性天线的线圈放在静电屏蔽里,“天线效应”几乎完全可以免除。这种屏蔽是一细长之金属管,在管壁上沿着与轴平行的直线割开一条缝(图8),免得金属屏蔽成为短路线圈。

有了这样的屏蔽以后,磁性天线基本上是靠电磁场里的磁场起作用的。工业上所产生的干扰,大部分具有相当大的电场分量和很小的磁场分量,那么收到这类干扰就很微少了。(张公绪译自苏联无线电杂志1954年第8期,阿·库申科·依谢果列克所著磁性天线一文,本刊编写)