收音机中每一只电子管都有它一定的屏压和栅偏压,在四极管和五极管中还有帘栅压。这些电压根据电子管的各种工作特性有不同的数值。在交流收音机中,这些不同数值的电压都是由一只整流管整流后的直流电压来供给,下面我们来谈谈取得这些电压的方法。
普通的交流收音机常用的许多电子管的屏压多半是250伏,由整流管(80,或5Y3GT,6X5GT等)整流后经滤波器输出的直流电压也常用250伏。
帘栅压一般低于屏压,约等于屏压的20-50%,也有和屏压相等的。在交流收音机中有两种方法可以取得帘栅压:第一种是用降压电阻;第二种是用分压器(或用电位器)。
用降压电阻来供给帘栅压是最简单的一种方法。在屏极电源+E\(_{a}\)和帘栅极间串联一只电阻Rg2,当帘栅电流I\(_{g2}\)流过电阻Rg2时,产生电压降,把多余的电压降去,使帘栅极上得到适当的帘栅压E\(_{g2}\)(图1)。Eg2等于E\(_{a}\)与Ig2R\(_{g2}\)两数的差。而Rg2则等于(E\(_{a}\)—Eg2)与I\(_{g2}\)两数的商。

图2是一种用分压器(或电位器)供给帘栅压的方法,它是由两只串联的电阻R\(_{1}\)和R2,与屏极电源E\(_{a}\)并联在一起,因此经常有一电流I流过这两只电阻。I\(_{等于E}\)a和(R\(_{1}\)+R2)两数的商。选择适当的R\(_{1}\)和R2,可以得到适当的帘栅压E\(_{g2}\)。R1等于E\(_{g2}\)与I两数之商;R\(_{2}\)等于(Ea—E\(_{g2}\))与(I+I\(_{g2}\))两数之商。

分压器比较费电,但取得的帘栅压却比降压电阻的方法来得稳定。因为后者在I\(_{g2}\)变化时,Eg2的变化很显著。
分压器R\(_{1}\)和R2上的电压分配不仅和帘栅电流I\(_{g2}\)有关,并与它本身的电流I有关。I\(_{比I}\)g2愈大时,则E\(_{g2}\)的稳定性愈高,但耗费的电量也较多。
栅偏压对阴极来说是负电压,在交流收音机中有两种方法可以取得栅偏压:即固定栅偏压和自给栅偏压。

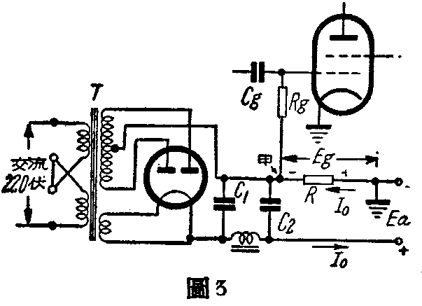
固定栅偏压——是在整流器输出低压端-E\(_{a}\)处(即屏极电源的负极,通常用机壳做回路)串联一只电阻R,总电流I0流过这只电阻,产生电压降E\(_{g}\),这电压在-Ea端为正,另一端为负(图3)。因为电子管的阴极已经接到-E\(_{a}\)处,那么把栅极电阻Rg接到“甲”处,栅极即获得对阴极的负电压,其数值等于I\(_{0}\)与R两数的乘积。通常电子管所需栅偏压Eg的大小,可以从电子管特性表中查出,知道了栅偏压E\(_{g}\)和总电流I0后,E\(_{g}\)与I0两数的商就是电阻R的数值。
自给栅偏压——是在电子管的阴极与-E\(_{a}\)间串联一只电阻Rk,阴极电流I\(_{k}\)流经电阻Rk,产生电压降E\(_{k}\),电阻Rk上的电压在-E\(_{a}\)端为负,在阴极端为正。因为栅极电阻Rg也接在-E\(_{a}\)处,因此栅极对阴极就有了相对的负电压,其数值等于Ik和R\(_{k}\)的乘积(图4)。知道了Ek和I\(_{k}\)的数值后,Ek和I\(_{k}\)两数的商就是电阻Rk的数值。

阴极电流I\(_{k}\)在三极管中等于屏流Ia;在四极管和五极管中等于屏流I\(_{a}\)和帘栅电流Ig2之和。
自给栅偏压的缺点是不够稳定,因为电阻R\(_{k}\)上的电压数值与屏流有很大的关系,在灯丝电压、屏压和帘栅压变动时,屏流有很大的变化。
自给栅偏压的另一缺点是相对地减低屏压数值,例如加到一只电子管屏极的电压是250伏,自给栅偏压是-20伏,此电子管的屏压(即屏极与阴极间的电压)减为250-20=23O伏。屏压的降低会影响电子管的工作和减小功率的输出。
屏流中除了直流分量外,还有交流分量,因此必须在电阻R\(_{k}\)上并联一只大容量的电容器Ck,这只电容器对交流分量的阻抗应小于R\(_{k}\),在高频回路中Ck常用0.1微法的电容器,在低频(音频)回路中则常用25—30微法的低压电糊电容器。这只电容器的用途是减小阴极与-E\(_{a}\)间(电阻Rk的两端)的交流电压,即减小交流电压在R\(_{k}\)上的损耗。此外这只电容器Ck还有防止反馈的作用。

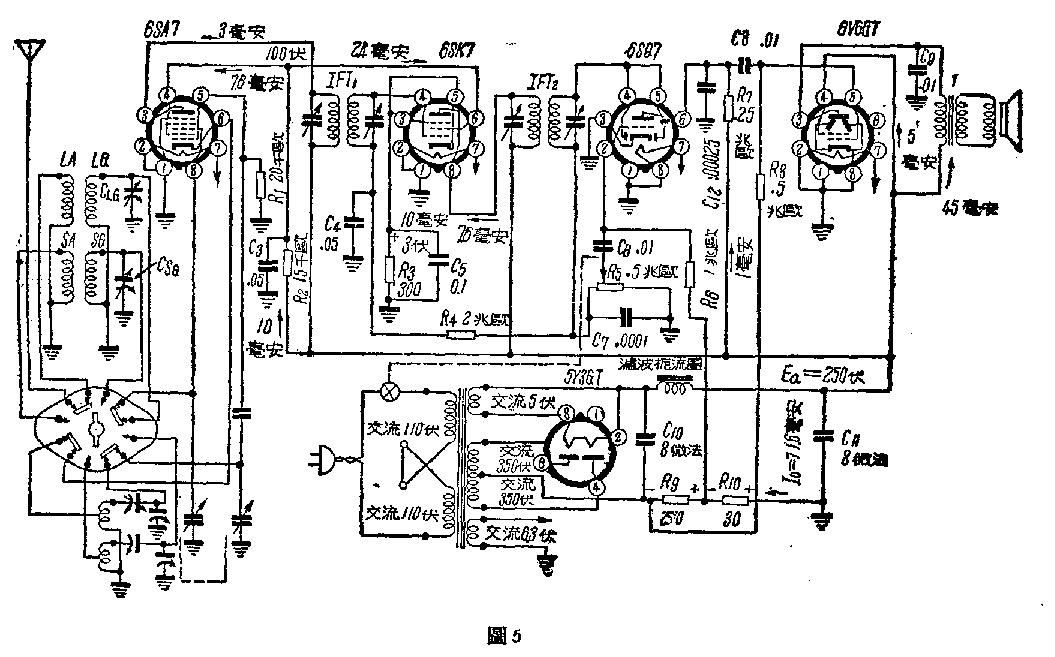
现在我们拿一架普通的超外差式五灯交流收音机的电路(图5)来说明一下,请注意图中的箭头是代表电流方向,它与电子流动的方向是恰恰相反的。
屏极电源自整流管5Y3GT整流后输出的电压为250伏,下表是各电子管的电流和电压数据。
级别 电子管 屏 流 栅偏压 帘栅压 帘栅电流
(毫安) (伏) (伏) (毫安)
变频级 6SA7 3 0 100 7.6
中放级 6SK7 7.6 -3 100 2.4
低放级 6SQ7 1 -2 0 0
强放级 6V6GT 45 -20 250 5
变频级电子管6SA7与中放级电子管6SK7的帘栅压都是100伏,图中仅用一只降压电阻,把多余的电压(250-100)=150伏降丢,6SA7与6SK7的帘栅电流之和是(7.6+2.4)=10毫安,因此电阻R\(_{2}\)的数值等于150÷10×O.001=15000欧(0.001是把毫安变为安培的因数,下同)。消耗在这只电阻上的功率是(10×0.0001)\(^{2}\)×15000=1.5瓦,采用2瓦的炭质电阻就足够了。
中放级6SK7的栅偏压是-3伏,图中采用自给栅偏压的方法。屏流是7.6毫安,帘栅电流是2.4毫安,因此阴极电流是屏流与帘栅电流之和,即(7.6+2.4)=10毫安,电阻R\(_{3}\)的数值等于3÷10×0.001=300欧。消耗在电阻R3上的功率为(10×0.001)\(^{2}\)×300=0.03瓦,采用\(\frac{1}{2}\)瓦的炭质电阻是很足够的。
低放级电子管6SQ7与强放级电子管6V6GT的栅偏压是采用固定栅偏压的方法,6SQ7的栅偏压需要-2伏,6V6GT的栅偏压需要-20伏。总电流等于71.6毫安。R\(_{1}\)0是供给6SQ7的栅偏压,它的数值等于2÷71.6×0.001≈30欧。R9和R\(_{1}\)0共同供给6V6GT的栅偏压,(R9+R\(_{1}\)0)的数值是20÷66.6×0.001=280欧,因此R9应为300-30=270欧。消耗在这只电阻上的功率等于(71.6×0.001)\(^{2}\)×280=1.4瓦。
6V6GT的帘栅压是250伏,直接联接到屏极电源+E\(_{a}\)处就可以了。(梅国修)