无线电罗盘是辅助飞行的重要仪器之一,而且是“归航”飞行中必不可少的一种仪器。罗盘,又叫做方位指示器,是装置在驾驶员最容易看得见的位置。最早的无线电罗盘是手动的,不够方便。现在用的无线电自动松盘,是靠航空站的“归航电台”发出来的信号使罗盘针自行转动。罗盘是圆的,周围有0—360°的刻度,和普通磁罗盘相似,可以表示方位。指针指0°,表示飞机正对着地面设有“归航电台”的航空站飞行;偏到任何一角度,就需要改变飞行的方向。这样,驾驶人员只要操纵飞机,保持罗盘针经常指0°,就一定能够到达航空站。图1是无线电罗盘的形状,它的指针正指着45°,这时飞行方向对归航电台讲正偏西45°,飞机在任何方向飞行,罗盘指针都指着陆地电台的方位。

同步小电动机


罗盘针为什么能够转动呢?原来在飞机机身外部顶上或腹下的中心线上,装着一付有方向性的环状天线如图2,环状天线的线圈是装在流线型的外罩里如图3。“归航电台”来的电磁波,能控制环状天线使它转动。在罗盘仪和环状天线的罩子里面,都各装有一个同步小电动机,罗盘指针和环状天线的转轴,就分别接在那小电动机的转子上,只要环状天线的线圈一转动,杂盘指针就跟着转动,环状天线的线圈停止转动,指针也停止转动,指出一定的方向。当线圈的正面和飞机中线的方向垂直时,指针恰指0°。罗盘和环状天线的关系,如图4所示。

同步小电动机和三相感应电动机的作用原理基本相同,如图5在两个小电机M-1和M-2里,各有绕在固定部分上的三相线圈S\(_{1}\)和S2,和绕在可动部分上的单只线圈R\(_{1}\)和R2。R\(_{1}\)和R2接单相交流电源,导线里经常有交流电流。M-1担任“发”,M-2担任“收”;R\(_{1}\)转动,R2就跟着转动;R\(_{1}\)停止,R2也同时停止。

我们先看M-2。当S\(_{2}\)接通三相交流电源时,便产生了磁场。R2里带电的导线在这磁场里,就会带着罗盘针转动。当接在S\(_{2}\)上的电源为零时,R2方停止转动。
再看M-1。R\(_{1}\)里带电流的导线产生磁场,如果R1被环状天线带着转动,这磁场就对着S\(_{1}\)的三相线圈作相对运动,便在S1里感应出三相电压来。这电压接到S\(_{1}\)上,就产生罗盘针的运动。
环状天线停止不动时,因R\(_{1}\)的导线里有交流电流,产生着变动的磁场,像变压器的作用一样,在S1的每相线圈里感应出大小相等相位相同的电压来。S\(_{1}\)任何两输出端的电压是每相线圈里感应电压的差,所以输出为零,结果罗盘针也停止不动。
这就是罗盘针能跟着环状天线的线圈同步转动的道理。
环状天线和垂直天线
在图2里表示的是和自动罗盘有密切关系的两付中波天线,一付是没有方向性的“垂直天线”,还有一付就是上面所谈的环状天线。
陆地电台发出的电磁波,在一个波长λ的范围内,电场E的强度和方向变换一周,如图6所示。这电场接触到飞机上的“垂直天线”,便感应出电压e\(_{v}\)来。电场E忽强忽弱,ev就忽大忽小,所以e\(_{v}\)和E是同相的。环状天线放在电场最强的位置(1)上时,左右两边导线a和b所感应的电压ea和e\(_{b}\)方向和大小相同,使整个环圈感应的电压el=e\(_{a}\)-eb=0。而在电场最弱的地方(2)上,e\(_{a}\)和eb方向相反,使e\(_{l}\)=ea+e\(_{b}\)反有最大值。和ev 比较起来,e\(_{v}\)是和E同相的,而el和E相位上相差90度,因此e\(_{v}\)和el相位上相差90°。换句话说:e\(_{l}\)必须移转相位90°后,方能和ev直接加减。

除此以外,环状天线L\(_{p}\)还有它的方向性。设垂直于Lp正面的垂线和来波的方向所作的角度为θ。当θ为0°或180°时,a、b两边同时感应相等的电压,使e\(_{l}\)为零;当θ为90°或270°(即-90°)时,同时分别接触a、b两边的电场强度相差最大,使el=e\(_{a}\)-eb有最大值。在θ由0°到±90°的范围内,e\(_{l}\)由小变大,而在θ由±90°到180°的范围内,el由大变小。在θ由0°到180°间。e\(_{l}\)是一个相位,而在θ由180°到360°间(即由0°经-90°到-180°间), el变为相反的相位,即e\(_{l}\)每经过零值,就变换相位180°。所以el和θ的关系,可示如图7,这就是有名的环状天线的“8”字形方向图型。由于它有“哑点”,故可用来搜索陆地电台。例如收到某一电台时,环状天线自动地转到了“哑点”,罗盘指针所指的角度,就是那电台的方位角。环状天线的“哑点,发生在θ=0°和θ=180°度两个方向。所以凭“哑点”决定的陆地电台方向,可能刚巧相反相差180°。为了补救这种缺点,所以加用“垂直天线”。由于两组天线的组合,就可以去掉一个“哑点”(如图7虚线表示部分),避免错误的指示。
我们看,e\(_{l}\)的大小和相位,与θ有直接关系。每当θ不等于零或180°时,就有el存在。θ变化,e\(_{l}\)也变化。所以利用el来减小θ,自动地指出航行方向,是十分简捷的办法。换句话说:e\(_{l}\)先由环状天线发出,反过来又使el控制着环状天线转动到e\(_{l}\)=0为止。el大,环圈转动较快;e\(_{l}\)小,环圈转动稍慢;l1变换相位,环圈也变换转向,最后永远是达到θ为零的位置。
但带动环状天线L\(_{p}\),一般是用工作频率很低的电动机。el的频率很高,不能直接起到作用,所以需要有一个大小和相位受控制的低频电压,方能使环圈电动机满意地转动。最低频电压是由一个低频振荡器所产生,它是无线电罗盘自动控制设备中的一个重要部分。
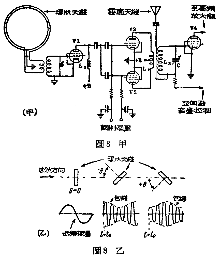
现在常用的方法,是先将e\(_{l}\)的相位转90°得el′(为了好和垂直天线的感应电压e\(_{v}\)相加减),再用低频振荡器的固定输出e0来调制e\(_{l}\)′。因为e0是固定的,而e\(_{l}\)′是随el变动的,所以e\(_{l}\)的变化,表现为调制后波形调幅度的变化。但这时的波形和普通调幅波完全相同,照样可以用收信机来放大检波,得到大小随ev变化的低频电压输出e\(_{r}\)′。但这er′的相位还和e\(_{l}\)的相位无关,而系决定于e0的相位。所以要靠e\(_{v}\)来起作用。

利用e\(_{v}\)的办法如图8甲。主要是利用平衡调制器保留上述已调制波的上下两边带,而载波部分用ev来代替。用简单的数学式可以证明这样得出的调幅波,不仅调幅度随e\(_{l}\)的大小而变动,它的包线的相位,也随el 的相位而变动如图8乙。因此经放大检波后由收信机输出的低频电压e\(_{R}\),大小和相位都决定于el。受e\(_{R}\)控制的环圈电动机,正值θ时如系正转,负值θ时就有可能反转,都是到θ为零的位置,不会转到θ为180°的位置上去。
控制环圈电动机的方法
常用的环圈电动机,是两相电动机,仍用上述低频振荡器的输出e\(_{0}\)做电源。接到这电动机的电压要是相位相差90°的两个电压e1和e\(_{2}\)如e1在e\(_{2}\)前面90°转动是一个方向;当e2在e\(_{1}\)前加90°时,转动就在相反的方向。为了要使环圈电动机转动得平稳,不能够靠使正反相位的eR分别闭合正转或反转的开关来完成。
图9甲就是控制器的原理图。如果没有闸流管V\(_{1}\)和V2,因S\(_{1}\)和S2感抗极大,e\(_{0}\)不能产生足够的电流使电动机M转动。在极端的情况下,当V1导电电流很大而V\(_{2}\)不导电时,P1等于短路,S\(_{1}\)等于是一个小电阻;同时Cp等于直接接到P\(_{2}\)上,S2就等于是一个电容器,如图9乙。因此有相差90度的电流流到两相电动机的线圈W\(_{1}\)和W2,使电动机M转动。同理,当V\(_{2}\)导电电流很大而V1不导电时,电动机M就向相反的方向转动如图9丙。如两管同时导电,仅屏流有较大差别时,相当于R有不同的数值,电动机M有不同的转速。所以电动机M完全可以由改变V\(_{1}\)和V2。屏流的大小和相对差别来控制速度和方向。
S\(_{1}\)和S2及P\(_{1}\)和P1的绕线法,是使源于e\(_{0}\)的V1和V\(_{2}\)屏极上的交流电压同相,即两屏压正负变化相同;e0降压为e\(_{0}\)′后,还接到V1和V\(_{2}\)的栅极回路里,即两栅压正负变化也相同。但联接的方法又使V1和V\(_{2}\)的屏压为正时,栅压为负,所以e0′起栅偏压的作用。e\(_{R}\)有不同的大小和两种相位,将eR接到控制器的输入端,感应到V\(_{1}\)和V2栅极上的电压对两栅极是反相的。如果它增加V\(_{1}\)或V2的栅偏压,就会同时减少V\(_{2}\)或V1的栅偏压,所以e\(_{R}\)起减少V1或V\(_{2}\)的屏流而同时增大V2或V\(_{1}\)屏流的作用,看eR的相位而定。e\(_{R}\)大小变化时,这作用的大小也变化。所以eR能很平稳地控制V\(_{1}\)和V2的屏流差,使M平稳地正向或反向转动。

无线电自动罗盘各主要部分,上面已经作了简单解释。合并起来就成为图10,低频振荡器所产生的频率,以不干扰收信机同时收听语言广播为原则,一般在100周以下,甚至低到48周。小同步电动机所需交流电源,一般系将飞机上直流电源经换流器变为400周交流,经适当滤波后得来。

无线电罗盘不仅可以指出陆地电台的方位,辅导航行;还可以先后迅速的接收两个已知电台的信号。决定飞机在航行中的位置,是从事航空无线电工作者必须熟悉的一项设备。图11示整套无线电罗盘的实物。(华祝)

