“电压自动调节器是苏联第十届无线电爱好者展览会中陈列的创作之一,它使收音机和电视机能够从交流电源上获得恒定不变的电压。我们的通信工作中,也时常需要有高度稳定的收信机电源,方能保证电路通畅,本文特介绍稳压器的工作原理。”
要保持收信机的交流输入电压恒定不变,我们常用自耦变压器,靠换接不同的线圈抽头来调整电压,但是要用手来调整,还要随时注意电压的变化,很不方便。这里介绍一种自动装置。有了这种装置,收信机的交流输入电压就可以得到自动调整,保持得相当稳定,它所增加的电力消耗,是很小的(一般约为5瓦特)。

图1表示一个自耦变压器,输入电压是U\(_{1}\),输出电压是U2。把U\(_{1}\)接在0-1两端,U2最小;接到O-2两端,U\(_{2}\)增大;接到0—3两端,U2更大。所以如果U\(_{1}\)固定不变,改变接法,可以增减输出电压U2。相反的,如果U\(_{1}\)忽大忽小,改变接法,可以维持输出电压比较稳定,这就是利用自耦变压器来调整输出电压的原理。

本文的自动电压调节器是用继电器来变换输入电压的接法。好比最初接到0-3两端,电压升高到一定限度,就有一只继电器工作,它的接触点就把原来接到“3”端的线改接到“2”端;电压再升高到另一限度,就多有一只继电器工作,它的接触点又把刚才接到“2”的线改接到“1”。有两个抽头,就需用两只继电器,得到两个预定的电压调整范围;有几个抽头也就需用几只继电器,得出几个电压调整范围。所以能否满意的起自动调节作用,要看这些继电器能否恰好都在它们个别预定的电压或电流时间开始动作。换句话说,在没有到达限定电压以前,虽相差不多,继电器也是不动的。可是这时电压稍有变动,继电器就立刻动作。如果把继电器的线圈直接接到输入电源电压上去,它们随着电压变动而动作的情形,是不会这样灵敏可靠的。为了要保证各个继电器都有可靠的动作,我们想出办法,利用稳压管在一定电压时间始导电的特性,把每个继电器都串联一个稳压管后再接到输入电源上去,事实证明这样的用法是很有效的,用了稳压管以后,输入电压变化10—25%,稳压管里电流的变化可以大到250-300%,继电器和稳压管串联,所以它的线圈里的电流变化也同样大,能够保证它有可靠的动作。图2表示这种稳压器和继电器的工作原理。B是一硒整流器供给稳压管Д所需直流电压输入电压U\(_{1}\)低的时候继电器P1不吸,接触点A闭合。所以0-2端接到电源;电压高的时候,P\(_{1}\)吸动、接触点B闭合,所以0—1端接到电源。结果维持输出电压U2比较稳定。常用的稳压管有工作电压较高的 CT-3C管和工作电压较低的CT-2C管,它们的特性如下:
激励电压 工作电压 工作电流
CТ-3C:135伏 105伏 5-30亳安
CT-2C: 105伏 75伏 5-30毫安
实际使用的接线法如图3,因为CT-2C管的工作电压较低,所以要加分压电阻R-R\(_{1}\)。分压电阻接在整流器B的前面或后面都是一样。在稳压管没有导电以前,所有电流都经过R1,所以稳压管的激励电压决定于R\(_{1}\)上的电位降,R1的电阻值也应当根据稳压管所需的激励电压来计算,好比CT-2C就应当根据约100伏来计算。CT-3C激励电压较高,所以用不着分压器。图上的C代表滤波电容器,P是继电器。

要增加U\(_{2}\)的稳定度,可以多加变压器上的抽头并同样的多加继电器。好比把图2的变压器多加一个抽头,就应当用图4的连接法。

上图因P\(_{1}\)和P2是同样的继电器,所以在P\(_{2}\)上加一并联电阻R2,使P\(_{2}\)在P1之后工作。当U\(_{1}\)较大时,P2工作,所以这时应当把电源直接接到0-130端;U\(_{1}\)稍小,应当接到0-110端P2这时停止工作;U\(_{1}\)再小,就应当接到0-90端,P1和P\(_{2}\)这时都停止工作。
显然,变压器上的抽头愈多,相邻两抽头间隔开的线圈数愈少,输出电压U\(_{2}\)就会愈稳定。不过最好是根据U1实际变动的范围和U\(_{2}\)允许变动的范围,来决定至少要抽几个头。抽头加多以后,问题也就比较复杂一些,我们应当用些实际的方法;来分析决定应当在那儿抽头和各继电器工作应当是多少电流。

图5的曲线表示图3的三种设计装置法的工作曲线。纵坐标代表继电器电流I\(_{P}\),横坐标代表输入电压U1。图中实线表示I\(_{p}\)随U1增高的情形,虚线表示I\(_{p}\)随U1减小的情形。图5B的曲线最陡,表示同样的U\(_{1}\)变化而Ip变化最大,工作情形比较理想,这是相当于图3B用CT-3C稳压管的情形。图6表示几种不同抽头时,U\(_{1}\)和 U2的关系。因为U\(_{1}\)升到一定程度,有继电器工作使U2迅速下降,所以U\(_{1}\)-U2曲线是锯齿形。曲线“1”表示用四只继电器时U\(_{2}\)的变动范围,“2”和“3”分别表示用三只和两只继电器时的情形。

从图6可以看出,当U\(_{1}\)在80—130伏间变动时,用两只继电器可以保证U2的变动不超过120±9伏;三只继电器降至±7.5伏;四只降电器降至±6伏。
把图5和图6联系起来,就可以求出当U\(_{1}\)的变动范围已知后,要使得U2的变动不超过预定限度,所需抽头数和继电器里的流。例如选探图3б和图5б曲线“1”的设计,用不同抽头数所得的稳压情形,可列加附表。
继电 电压变化范围(图六) 继电器工作电流(图五)毫安数 输以电压U\(_{2}\)(相当于U2的最低点)*
器数 (相当于U2的最高点)
U\(_{1}\) U2 P\(_{1}\) P2 P\(_{3}\) P4 抽头处电压U\(_{1}\)(相当于U2的最低点)
① ② ③ ④ ⑤
2 80—130伏 110—130伏 16.2 27.9 1.37 1.17 1
3 80—150伏 116一I30伏 13 22 31.2 1.44 1.26 1.1 1
4 80—130伏 120—133伏 11 17.2 31.5 1.5 1.36 1.24 1.12 1
*注:输出电压U\(_{2}\)(相当于U2的最低点)/抽头处电压U\(_{1}\)(相当于U2的最低点)=总线圈数到抽头处圈数。
若设计改变,须先求出其他设计时相当于图5的工作曲线来,方能计算继电器电流和抽头处电压。
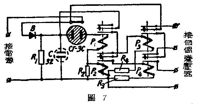
现在我们已经知道了应当怎样抽头、各继电器在输入电压是多少伏的时候工作和工作的电流是多少毫安。我们只要调整P\(_{1}\),P2,P\(_{3}\),P4等使得它们的工作情况恰好符合要求,就可以得到预计的自动调整效果。这些继电器是相互串连着的,如果它们的磁感性彼此相同,那么和P\(_{2}\),P3,P\(_{4}\)等继电器应并联不同的电阻。

此外,工作电流小的继电器,它的接触点能通过的电流也是有限度的。要用这种方法控制功率较大的输出回路电压,可以另加辅助继电器,如图7的P\(_{3}\)和P4。(厉以阳 译自苏联А.Г.多列尼克著“电压自动调节器”,本刊编写。)