装矿石机是学习无线电的第一步,装单管机(又叫做一灯机)是第二步。走第一步就为第二步准备好了知识基础。
另一方面,装矿石机所用的许多零件,都可以用于单管机,走完第一步也为第二步准备了适当的物质基础。
用一部矿石、电子管两用收音机的例子,就可以说明确系如此。
一定可以做成功的两用机
图1是这样一部收音机的原理图。除了矿石CD专用于矿石接收,电子管V专用于电子管接收外,有许多零件是公用的:如全套的线圈包括L\(_{1}\)和L2、调谐电容器C\(_{1}\)、耳机PH和它的傍路电容器C3。已经有了矿石机的人,只要添配零件表里其余的零件,是一定可以做成功的。

当开关S\(_{1}\)放在“矿石”位置时,整个回路就是一部矿石机的回路,不仅电子管不起作用,而且它的灯丝不接电源,并不消耗甲电池;因为灯丝不热,电子管的屏极虽接到乙电池的正极也没有屏流,所以也不消耗乙电池。结果和矿石机完全一样,耳机里的声音,完全靠天线吸收进来的电磁能。
当开关S1放在“电子管”位置时,灯丝接通而矿石不用,结果是一部灵敏度比矿石机高的单管机,天线吸收进来的电压被电子管放大,再加上L\(_{2}\)对L1回授的再生作用,所以送给耳机的电压大得多,耳机的声音响得多。同一个电台,可以用矿石检波和单管再生式两种不同的方式轮流收听,比较收听的结果,对初学者来说很值得这样试试。
装这样一部收音机时,应当注意L\(_{1}\)上有两个抽头,是为了可以增减灵敏度,开关S2放在A\(_{1}\)上灵敏度较高。另外,L2和L\(_{1}\)间的间隔需要能够调整来改变选择能力(对矿石)或再生能力(对电子管)。零件的规格和铁圈的绕制法详图1的图注。
装完以后用来收音时,可先试矿石接收部分,将S\(_{1}\)放在“矿石”位置,S2放在A\(_{1}\)上,慢慢地把L2靠近L\(_{1}\),调整矿石的接触点,同时转动C1应当就可以收到过去用矿石机所能收到的那些电台。如果同时听到很多电台的声音,表示“选择性”不好,可使L\(_{2}\)离开L1远些,重新再调整C\(_{1}\)即可。自然像过去用矿石机一样,这时对较远的或电力很小的电台,还是不能够收得很好的。
要收较远的电台,可把S\(_{1}\)放在“电子管”的位置。轮流调整L2和L\(_{1}\)的距离及C1,至收听满意为止。这时你会听见许多从前用矿石机所听不见的电台。
要注意用S\(_{2}\)来调整灵敏度,同时也会改变选择性,灵敏度高则选择性差些,灵敏度低选择性就好些。
试验一些更好的回路
自然图1用电子管收音,已经比过去用矿石机要好得多了。但是调整L\(_{2}\)和L1的距离来改变选择性和灵敏度的方法不够灵活,也不稳定。有必要再加以改进。

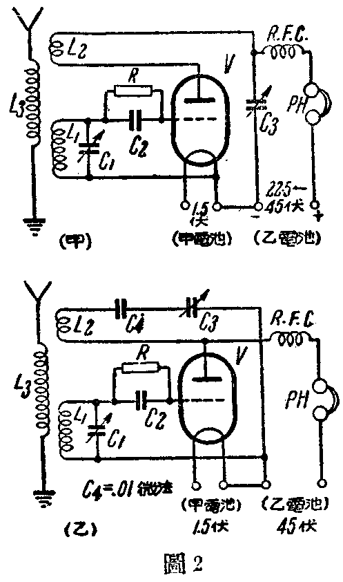
图2甲和乙就表示用电子管收听回路的改进。L\(_{2}\)和L3现在的位置固定不变,调整再生程度可以用C\(_{3}\)。因为从L2回授到L\(_{1}\)电能的多少,直接决定于L2里高频电流的大小。这高频电流由电子管的灯丝开始,经屏极流到L\(_{2}\)再经C3又回到灯丝,所以改变C\(_{3}\)的容量,就能改变L2里高频电流的大小。转动C\(_{3}\)到任何位置都很容易,所以再生调整平滑稳定多了。
因为图2甲里C\(_{3}\)的电容量很小,容易碰片子,把屏极上的正电压通地。所以在图2乙里又和C3串联了一只固定电容器C\(_{4}\)比起C3来,C\(_{4}\)的电容量约大100倍,所以C4并不影响L\(_{2}\)里的高频电流,又起了保险作用,这显然又是一项改进。

有些大城市的电台很多,城市里和在附近的乡间用上述的收音机收听,可能选择性不够好,可加图3甲或乙的滤波回路,一定又能够得到显著的改进。(白之卿)